VII. FEJEZET.

A HŐVEZETÉS MOZGÁS TOVÁBBADÁSA. – JÓ VEZETŐK ÉS ROSZ VEZETŐK. – A FÉMEK HŐVEZETŐ KÉPESSÉGE; A HŐVEZETŐ ÉS VILLANYVEZETŐ KÉPESSÉG VISZONYOSSÁGA. – A HŐMÉRSÉK BEFOLYÁSA A VILLANYVEZETÉSRE. – A TÖMECSSZERKEZET BEFOLYÁSA A HŐVEZETÉSRE. – A FAJHŐ ÉS A HŐVEZETÉS VISZONYA. – A RUHÁZAT ELMÉLETE; RUMFORD KISÉRLETEI. – A MECHANIKAI SZÖVEVÉNY BEFOLYÁSA A HŐVEZETÉSRE. – A KAZÁNOK BEKÉRGESEDÉSE. – BIZTOSÍTÓ LÁMPA. – A FOLYADÉKOK ÉS GÁZOK VEZETŐ KÉPESSÉGE; RUMFORD ÉS DESPRETZ KISÉRLETEI. – A HYDROGEN-GÁZ HŰTŐ HATÁSA. – MAGNUS KISÉRLETEI A GÁZOK VEZETŐ KÉPESSÉGÉRŐL.

242. Azt hiszem, most már eléggé megbarátkoztunk tárgyunkkal, hogy megtudhassuk különböztetni a hő okozta, észrevehető mozgást magától a hőtől. A hő nem a szél zúgása, nem a láng lobogása, nem a víz felbuzogása, sem a hőmérő-oszlop emelkedése és nem is azon mozgás, mely a gőzt megeleveníti, midőn az őt szorongató kazánból kiözönlik. Ezek mind mechanikai mozgások; a hő átalakulhat ilyenekké, de maga a hő: tömecsmozgás. A testek tömecsei azonban, ha szorosan vannak csoportosítva, nem rezeghetnek anélkül, hogy kölcsönösen ne közöljék egymással a mozgást. A hőnek ezen atómról atómra terjedő mozgására kell most már figyelmünket fordítanunk.

Itt van egy csipővas; alig vehető észre a hőmérséke. Érzem, hogy nehéz és kemény test, de se nem melegíti, se nem hűti kezemet. Tűz közelében feküdt, s tömecseinek mozgása e pillanatban történetesen ugyanaz, mint az én idegeimé.

Ez az oka, hogy se nem ad, se nem vesz tőlem meleget; s


185

így nem is változhatik meg sem a csipővas mérséklete, sem az én érzésem. Ha azonban a csipővas hegyét tűzbe tartom, megmelegszik; a tűzzel érintkező tömecsek erősebb rezgésre kerekednek. A rezgő atómok szomszédjaikba ütköznek, ezek pedig az övéikbe; s e módon megzendül a tömecszene az egész rúd hosszán. Ez esetben a mozgás atómról atómra közlődik s utoljára a csipővas másik végén is megjelenik. Ha most érintem meg, mozgása közlődik idegeimmel s fájdalmat idéz elé. Azt mondjuk, hogy a rúd forró; kezemet pedig – népiesen szólva – megégettem. Már elébb fejtegettük, hogy a hő továbbvitele azon neme az odább szállításnak, melynél a hő, az anyag egész tömegével együtt, vándorol odább. Azt a tömecsközi odábbszállítást ellenben, melynél minden egyes atóm a maga szomszédjától kapja a mozgást s azt ismét másoknak adja át, maga pedig saját helyén marad, hővezetésnek nevezik.

56-ik ábra.

243. Engedjék meg, hogy a vezetés e sajátságát minden pompa nélkül tegyem szemlélhetővé. Egy tálam van itt, tele meleg vízzel; e vízbe beteszek egy vashengert, melynek 1 hüvelyk az átmérője, 2 hüvelyk a hossza; e henger lesz az én hőforrásom. A hővillanyoszlopomat lefektetem az asztalra és pedig úgy, hogy meztelen lapja felfelé forduljon. E lapra e rézhengert állítok, melynek hőmérséke jelenleg a szoba hőmérsékével egyenlő. Látják, hogy a galvanométer nem mutat elhajlást. Megtörölgetvén a meleg i hengert, oda állítom


186

az oszlopon nyugvó hideg hengerre. A felső henger is csak vérmelegű, de látják, hogy alig van időm e megjegyzésre, már is oldalt röpül a tű s jelzi, hogy a meleg egészen az oszlop felületéhez hatolt. E szerint a tömecsmozgás, mely a meleg vízből a vashengerre ment át, a vashengerből közlődött a rézhengerrel, innen pedig nehány másodpercz alatt az oszlop lapjára szállott által.

244. Különböző testekben különböző fokban van meg a tömecsmozgás közlésének, vagyis a hő vezetésének képessége. A rézben például, melyet az imént használtunk, magas fokban van meg e képesség. Eltávolítván a rézhengert, üveghengert állítok helyére; elébb azonban vissza engedem a tűt térni zérus fokra. Vashengeremet újra beteszem a meleg vízbe, s miután megmelegedett, odaállítom az üveghengerre. Mozgás azonban a tűn nem mutatkozik és jó sokáig tartana, mire bekövetkezhetnék. Már is három annyi ideig várakoztunk mint elébb a rézhengernél; s látják, a tű még mindig mozdulatlan. Fa-, kő-, kréta-, és tűzálló agyag-hengereket állítok az oszlopra, sorban egymásután; s mindegyiknek a felső végét megmelegítem azon módon mint elébb; annyi idő alatt azonban, a mennyit mi egy kisérletre szánhatunk, ezen anyagok közül egyik sem képes a hőt átvezetni az oszlopra. Ezen anyagok tömecsei annyira össze vannak kuszálva vagy bonyolodva, hogy képtelenek a mozgásnak egymással való akadálytalan közlésére. Ezek a testek mind rosz hővezetők. Ha ellenben, sorban egymásután, horgany-, vas-, ólom-, bizmút-hengereket állítanék az oszlopra, az tünnék ki, hogy valamennyiben megvan a képesség a mozgásnak tömegükön keresztül való, gyors tovavezetésére. Ezek tehát, fával, kővel, krétával, üveggel és agyaggal összehasonlítva, mind jó hővezetők.

245. Általában a fémek a legjobb hővezetők, de a szabály itt sincs kivétel nélkül. Vezető-képességökre nézve maguk a fémek is észrevehetőleg különböznek egymástól. Ezt megmutatandó, vasat és rezet hasonlítok össze egymással.


187

57-ik ábra.

Itt van két, (57-ik ábra AB és AC) végökkel összeérő rúd, viaszszal odaragasztott fagolyókkal, melyek rendre egyenlő távolságban vannak az érintkezés pontjától. Oda, hol a végek összeérnek, borszesz-lámpát teszek, a rudak végeit megmelegítendő. A hő jobbra és balra el fog bennök terjedni. AB rúd vasból van, AC pedig rézből; a hő nagyobb darabra terjed el a rézben – ez a jobb vezető – s következéskép több golyó esik le ezen az oldalon.

246. Azon első kisérletek egyikét, melyek a különböző testek hővezető képességének pontosabb meghatározására vonatkoztak, Franklin indítványozta. A kisérletet Ingenhouss tette meg s következőképen járt el: különböző anyagokból készült pálczákat viaszszal vont be, a végüket forró olajba mártotta s megfigyelte, hogy mily darabon olvadott el a viasz minden egyes pálczán. A jó vezetőkön nagyobb darabon olvadt el, s az elolvadt távolság mértékét adta az illető rúd vezető-képességének.

247. Fourier más módszert indítványozott, melyet aztán Despretz keresztül is vitt. AB (58-ik áb.) fémrudat képvisel. E rúdba lyukak vannak beesztergályozva, kis hőmérők befogadására. A rúd végére hőforrás gyanánt borszesz-lámpa állíttatik. A hő tovaterjed a rúdban s először az a-val, utána az a'-al, azután az a''-al és úgy tovább jelölt hőmérőket éri el. A higany egy ideig emelkedik a hőmérőkben, bizonyos idő mulva azonban állhatatossá válik a rúd állapota, s vala-


188

58-ik ábra.

mennyi hőmérő állandó hőmérséket mutat. Mennél jobb a vezető, annál csekélyebb a különbség két-két, egymásután következő hőmérő állása között. A hő fogyása, vagy, ha szabad mondanom, esése a rúd forró végétől a hideg vége felé erősebb volt a rosz vezetőkben mint a jókban; s a hőmérők által jelzett hőmérsékbeli fogyatékból következtethetünk a rúd vezető-képességére s számokban is kifejezhetjük e képességet. Wiedemann és Franz urak – igen értékes vizsgálódások közben – ugyanezen módszer szerint jártak el, csakhogy hőmérő helyett megfelelően módosított hővillanyoszlopot használtak. A nevezett vizsgálók által talált, számos és igen érdekes eredmények összevonva a következők

Az anyag neve:

Vezető képesség

hőre

villanyosságra

ezüst
réz
arany
sárgaréz
ón
vas
ólom
platina
újezüst
bizmút

74
53
24
15
12
9
8
6
2

100
73
59
22
23
13
11
10
6
2


189

248. E tábla mutatja, hogy a fémek vezetőképességökre nézve nagyon különböznek egymástól. Ha például az ezüst vezetőképességét 100-nak teszszük, úgy az újezüsté csak 6. E különbséget igen egyszerű módon tehetik szemlélhetővé, ha egy ezüst és egy újezüst kanalat tesznek forró vízzel telt edénybe. Rövid idő mulva azt fogják találni, hogy az ezüst-kanál nyele sokkal forróbb, mint a másiké; s ha ennek is, amannak is a nyelére darabka phosphort tesznek, az ezüstön lévő rövid idő alatt elolvad és meggyúl, holott az a hő, melyet a másik kanál közöl, soha sem lesz elég erős, hogy a phosphort meggyujtsa.

249. Misem érdekesebb a természetvizsgálóra nézve, mint a különböző természeti erők kapcsolatát és vonatkozásait nyomozni. Azt tudjuk, hogy ezen erők kölcsönösen függenek egymástól, azt is tudjuk, hogy egymásba kölcsönösen átalakíthatók, de nagyon bizonytalanok vagyunk még abban, hogy mi ezen átalakulásnak tulajdonképen a módja. Sok okunk van azt következtetni, hogy mind a hő, mind a villanyosság: a mozgásnak nemei; kisérletekből tudjuk, hogy villanyossággal hőt nyerheténk, hővel pedig villanyosságot, például a hővillanyoszlopban. A hőmozgás természetéről ugyan meglehetősen tiszta fogalmunk van, vagy legalább hiszszük, hogy van; de hogy mily átalakuláson kell e mozgásnak keresztül mennie, hogy mint villanyosság jelenjék meg, ebbeli eszméink még igen nyersek – vagyis erről, még ekkoráig, voltaképen mit sem tudunk.

250. A fentebbi tábla azonban nevezetes kapcsolatot mutat a hő és a villanyosság között. Wiedemann és Franz urak a fémek hővezető képességét kifejező számok mellé számokat is, melyek ugyanazon fémeknek a villanyosság vezetésére való képességét ábrázolják. A két számsor egészen együtt halad: a jó hővezető, jó villanyvezető is, és a rosz hővezető a villanyosságot is rosszul ve-


190

zeti. * Ebből azt következtetbetjuk, hogy ugyanazon physikai tulajdonság, mely a hő tovább adásában közben jár, egyaránt jár közben a villanyosság tovább adásában is. A két erőnek e közös fogékonysága kapcsolatra mutat köztök, melyet kideríteni jövő vizsgálatok feladata fog lenni.

251. Az bebizonyított tény, hogy a hőmennyiség, melyet bizonyos erősségű villanyáram valamely huzalban kifejt, arányos a huzal ellenállásával. ** E tekintetben úgy képzelhetjük az atómokat, mint hogyha keresztbe volnának fektetve, sorompók gyanánt, a villanyáram útjába; – a villanyáram beléjök ütődik, közli velök a mozgását s ily módon megmelegíti a huzalt. A jó vezetőket pedig úgy képzelhetjük, hogy a villanyáram szabadon csúszik el az atómok között anélkül, hogy észrevehető mértékben zavarná őket. Három darab platinahuzal függ itt önök előtt; minden darab négy vagy öt hüvelyk hosszú. E huzalokat három darab ezüsthuzal köti össze, s ezek is oly hosszúak és oly vastagok, mint amazok. Az összetett huzalon keresztül húsz Grove-féle elemű telepnek ugyanazon egy áramát bocsátom át; s íme, három fehér-izzó és három sötét helyet látnak. A fehérizzó részek a platina-, a sötétek pedig az ezüstrészek. Az áram hevesen neki ront a platina tömecseinek, az ezüstatómok között pedig nagyobb akadály nélkül, könnyedén tovább csúszik: így aztán különböző hőhatásokat szül a két fémben. ***

252. Most azt akarnám önöknek megmutatni, hogy a hőmozgás gátolja a villanyos mozgást. Ezt a kis platina-lámpát, mely az asztal átellenében áll, már az előbbiekből ismerik. Nem egyéb mint egy kis tekercs platinahuzalból, alkalmas módon ráerősítve egy sárgaréz állványra. A teker-

* Forbes ezt már elébb megjegyezte. Phil. Mag. 1834 vol. IV, pag. 27.

** Joule Phil. Mag. 1841, vol. XIX, pag. 263.

*** Nem lehetne az atómokat környező sűrített éter vivője a villanyos áramnak?


191

csen átvezethetek villanyáramot s izzóvá tehetem huzalát. Látják azonban, hogy ezen kívül két láb hosszú platinahuzalt is illesztettem a lánczba s midőn az áramlást megindítom, ugyanazon áram fut végig e huzalban és a tekercsben is. Ime, vörösizzóvá lett mind a kettő, vagyis mind a kettő erélyes tömecsmozgásban van. Amit most be akarok önöknek bizonyítani, az abban áll, hogy a hőmozgás, melyet a villanyosság a két láb hosszú húzalban létesített s melynél fogva a huzal izzó, akadályára van az áram átvonulásának. A villanyosság e szerint saját maga állított gátat a maga útjába. Ha e huzalt meghűtjük, tágasabb kaput nyitunk a villanyosságnak az átvonulásra. De ha több villanyosság mehet át, úgy az jelentkezni fog a phatinatekercsen, és pedig úgy, hogy fehér izzásig fokozza a vörösizzást. A fény erősségében történő változást mindenki észre fogja vehetni.

59-ik ábra.

253. Vörös izzó huzalomat tehát vízzel telt (W, 59 áb.) edénybe mártom; a lámpa egyszerre oly fényes lesz, hogy nem lehet bele nézni. Ha a huzalt kiveszem a vízből s megengedem, hogy a hőmozgás itt is fejlődhessék, az áram azonnal csökken és a lámpa gyöngébb fényűvé válik. Most ismét bemerítem a huzalt, mindig mélyebbre és mélyebre: észre-


192

veszik, mily vakító már a fény, még tovább sülyesztem be, úgy hogy a két láb hosszú huzal egészen a víz alá kerül, a fokozódott áram maximumra emeli a lámpa fényét. Ime, egyszerre kialszik! A vezető láncz megszakadt, a villanyos áramlás szaporodása megolvasztotta a huzaltekercset.

253. a. Itt jó lesz egy oly tárgyat legalább futólag megérintenünk, melynek kimerítő tárgyalása a physikának más fejezetébe tartozik. Tudjuk, hogy a villanyáramot, mely legutóbbi kisérletünkben a huzalt hevítette, a Volta telepében végbemenő vegyhatás tartja fenn. A telepben, többi között, oxygén horganynyal vegyűl; valóságos elégés ez, habár folyadék belsejében megy is végbe. De hisz saját testünk is így ég! Itt is, úgy mint minden más esetben, bizonyos mennyiségü horganynak elfogyasztása ugyanazt a változatlan hőmennyiséget létesíti. Feltéve, hogy e telep két sarkát kitünő vezetővel, p. vastag rézhuzallal kötném össze, a villanyosság áramlani, a horgany pedig fogyni fog, de észrevehető melegség a telepen kívül még sem fog fejlődni. Hadd járjon az áram addig, míg egy font fogy el a horganyból. A hőnek egy bizonyos megszabott mennyisége jött létre, s ezen összes melegség benn a telepben keletkezett. De ha vékony phatinahuzallal kötjük össze a telep sarkait, e huzal megmelegszik s szemök előtt izzik. Tartson ez addig, míg ismét egy font fogy el a horganyból. Ismét ugyanaz a hőmennyiség keletkezik, de más módon oszlik el; egy része a telepben van, a másik pedig a vezetőhuzalban; s ha e két részt összeadjuk, ismét az elébbi összeget nyerjük.

253. b. Minden hőegységért tehát, mely a telepen kívül létesűl, egy hőegység vonatik el magától a teleptől; és ha a villanyáramot nem külső hő létesítésére, hanem valamely gép forgatására alkalmaznók, vagy arra, hogy valami más külső munkát végezzen, úgy a véghezvitt munkával egyenértékű hőmennyiséget vonnánk el a teleptől. Ezek nem pusztán elméleti következtetések; igazolva vannak Favre kitűnő


193

kisérletei által, s így az erő megtartásának elve a Volta telepre nézve is be van bizonyítva.

254. Térjünk vissza ismét a vezetés tárgyalására. A látszat szerint a hideg, ép úgy mint a meleg, tovavezethető. Itt van egy rézhenger; pillanatig kezemben tartom, megmelegszik. Odaállítom a hővillanyoszlopra, a tű egészen a 90-ik fokig halad s meleget jelez. E hengerre egy másikat állltok, mely darab ideig jégbe lévén téve, meghidegült. Várakozzunk egy pillanatig: a tű mozog, eléri a zérust s egészen a 90-ik fokig halad a hideg oldalán. Az analogia azt gyaníttathatná önökkel, hogy a hideg ép oly módon vezettetik a felső hengerről az alsó felé, mint a meleg az elébbi kisérletünkben. Nincs is nekem kifogásom a "hideg vezetése" kifejezés ellen, ha a valódi physikai folyamatnak tiszta ismerete mellett használjuk. A valódi folyamat pedig ez: az alsó, meleg henger saját melegét vagy mozgását elébb a felső, hideg hengernek adja át s miután saját melegéből kifogyott, az oszlopban bennlévőt veszi igénybe. Elébbi kisérleteinkben a mozgás vezetése az oszlop felé történt, most ellenben az oszloptól elvezetődik a mozgás. Mind a két esetben mozgás terjedésével van dolgunk; a megmelegedés vagy a lehűlés pedig csak attól függ, hogy mily irányú e terjedés. E szándékosan hűtött hengereknek egyikét odaállítom az oszlopra; heves elhajlás áll be a hideg irányában. Feltegyük-e már most, hogy a hideg valami meglevő dolog, a mi az oszloppal közöltetett? Nem. Ez esetben az oszlop a meleg test; tömecsmozgása felülmúlja a hengerét; s midőn a kettő érintkezésbe kerül egymással, az oszlop kiegyenlíteni törekszik a különbséget. Saját mozgásának egy részét átengedi a hengernek, elszegényül saját bőkezűsége következtében; lehűl, s lehűlését mutatja a delejtű.

255. Eltávolítván a fémhengert, épen oly hőmérsékü fahengert állítok helyette az oszlopra. A fától eredő hűtés igen gyönge s az ebből eredő elhajlás igen jelentéktelen. Miért nem hat a hideg fa úgy, mint a hideg fém? Egy-


194

szerűen azért, mert a meleg, melyet az oszlop a fával közlött, ennek alsó lapján van összehalmozva és a rosszúl vezető fán keresztül el nem illanhat úgy, mint a fémen át elillant; ennek következtében a fa csekélyebb hőmennyiséget von el az oszloptól, mint a réz. Hasonló hatás jő létre, ha az oszlopot emberi idegek helyettesítik. Ha hideg szobába lépnek s kezökkel sorban megérintik a csipővasat, a kandallót, a székeket és a szőnyeget, e tárgyak különböző hőmérséküeknek fognak látszani: a vas hidegebbnek fog látszani a márványnál, ez hidegebbnek a fánál és úgy tovább. Kezükkel tökéletesen az történik, a mi az oszloppal történt utolsó kisérletünkben. Felesleges hozzátennem, hogy az elébbinek ellenkezője áll be akkor, ha meleg szobába lépnek, azaz olyanba, mely melegebb önnön testöknél. Kétségtelenül fájdalmat éreznének, ha orosz fürdőben fémlemezre feküdnének, míg ellenben semmi fájdalmat sem éreznek, ha fa-padra feküsznek. Igen magas hőmérsékeket lehet elviselni, ha a testet megóvjuk a jó vezetőkkel való érintkezéstől. Igy példáúl lehetséges, hogy oly helyiség melegének baj nélkül kitegye az ember a testét, melyben tojást lehet főzni és beefsteaket sütni.

256. Az utóbbi kísérlet magyarázata megérdemel nehány perczig tartó figyelmet. Kapcsolatban állanak e kisérlettel a Blagden és Chantrey nevek. E derék férfiak ugyanis oly hőmérséknek tették ki magukat egy sütőkemencze belsejében, mely jelentékenyen magasabb volt a víz forrása pontjánál. Hasonlítsuk össze a két élő lény állapotát az ugyanazon kemenczébe teendett két márványszoborral. A szobrok lassanként megmelegednének s végül felvennék a sütőkemencze levegőjének hőmérsékét, holott az élő embereknél ugyanazon viszonyok között nem fokozódott a hőmérsék. Ha ezeknél is beállott volna a hőmérsék fokozódása, testük szöveteinek okvetetlenül szét kellett volna rongáltatniok, mert a hőmérsék, melynek magukat kitették, elegendő leendett, hogy megpárolja izmaikat a maguk leveben. A vér melegét azonban


195

alig változtatja a külső hőmérsék fokozódása. E meleg ugyanis a helyett, hogy a test hőmérsékét emelné, a test alkatrészeinek halmazállapotát változtatja meg; a bőr vizét bőven hajtja ki a likacsokon s gőzzé változtatja. A hő lehetséges erélylyé alakul át; a munkafejtés közben elfogyasztódik. Ez – ha szabad e kifejezést használnom – a lecsapoló cső, melyen a hőfelesleg elvonúl; s ez az oka, hogy az ember vérének hőmérséke a legkülönbözőbb éghajlatbeli feltételek mellett is ugyanaz marad. A lapplandi vére csak oly meleg mint a hindué; s az angol, ki az éjszaki sarktól a déli sark felé utaz, aligha fogja találni, hogy vére hőmérséke az egyenlítő alatt fokozódott és a sark közelében csökkent volna.

257. Ha a hőközlés lassanként történik, – s ez mindig így van, midőn a testet rosz hővezetők veszik körül – úgy a hőnek ép oly gyors az eléadott módon való elfogyasztása mint az odavezetése. De ha a hőközlés – például jó vezetővel való érintkezésnél – oly gyors, hogy a hőnek amaz ártalmatlan munkaalakba való átvitele nem történhetik a megkivántató gyorsasággal, úgy a testnek szövetei sérülést szenvednek. Némelyek azt hirdették, hogy az élő testnek ezt a nagy hőmérsékkel daczolni tudó képességét úgy kell tekinteni, mint valami önálló hatást, mely egyedűl az életerő sajátsága. Kétséget ugyan nem szenved, hogy az állati szervezet valamennyi folyamata kapcsolatban van az állat élet-tevékenységével, de az itt leírt folyamat ugyanoly fajta, mint az, mely a jég olvadásánál vagy a víz elpárolgásánál is végbe megy, s egyszerűen abban áll, hogy a hő nem a hőmérsék emelésére, hanem munka végzésére fordíttatik.

258. Eddig különböző testek vezető képességét hasonlítottuk össze egymással; de egy és ugyanazon testnek is különböző lehet a vezetőképessége különböző irányokban. Némely kristályok úgy vannak alkotva, hogy a hőmozgás bizonyos atómsorok hosszában nagyobb könnyűséggel halad, mint másokon. Itt van például egy nagy hegyi kristály – kvarcz-kristály –; hatszögű oszlopot képez s ha teljes volna,


196

60-ik ábra.

61-ik ábra.

61-ik ábra.

még két, hatlapú gúlába végződnék. A hő könnyebben halad a kristály tengelye irányában, mint arra merőlegesen. Sénarmont igen egyszerű módon bizonyította be e tényt. Két kvarczlemezem van itt; az egyik a tengelyre merőlegesen (61-ik ábra) van metszve, a másik (62-ik ábra) a tengelylyel egyközűen. Mind a kettő be van vonva fehér viaszszal, mely teveszőr-ecsettel mázoltatott reá. Közepükön át vannak fúrva s a lyukba finom tű van dugva, melyet villanyáram fog hevíteni. A B telep adja majd az áramot; c egy kis fakupak, melynek fenekén keresztül megy a tű; d egy másik kupak, melybe a tű hegye benyúlik; Q pedig az átfúrott kvarcz lemez. Mindegyik kupakban egy csöpp higany van. Midőn az áram c-ből d felé fut, megmelegíti a tűt; a hő pedig minden irányban elterjed. A viasz elolvad ama hely körűl, melyből a hő kiindul. Azon lemezen, mely a tengelyre merőleges irányban van metszve, tökéletes kört képez a megolvasztott viasz. Kiindulása pontja körül a hő itt ugyanazon gyorsasággal terjedett, a viaszt minden irányban egyenlő darabon olvasztotta el. Ugyan e kisérletet a másik lemezkével is


197

megteszem: a viasz olvadni kezd; de látom, hogy kört nem képez. A hő gyorsabban terjed a tengely hosszában, mint azzal keresztben; s ez az oka, hogy a megolvasztott viasz kör helyett tojásdad vonalat (ellipsist) képez. Ha a viasz megszilárdult, a két lemez nagyított képét az ernyőre vetem, hogy láthassák a megolvasztott viaszkört az egyiken s a tojásdad alakot a másikon. Az izlandi pát jobban vezet a kristálytani tengely hosszában, mint azzal keresztben; a turmalin kristály ellenben legjobban vezet a tengelyre merőleges irányban. Bizmút, a már önök előtt ismeretes fém, egy bizonyos irányban könnyen hasad. Svanberg és Matteucci kimutatták, hogy úgy a hő mint a villanyosság, jobban vezetődik e hasadó lapok irányában, mint azokkal keresztben.

259. A vezetőképesség e különféleségére nézve kitűnő példaképen szolgál a fa. Több mint 20 év előtt de la Rive és de Candolle megvizsgálták a fa vezetőképességét s a vizsgálat alá vett öt fanemnél megállapították a tényt, hogy a továbbadás gyorsabb a fa rostjainak hosszában, mint azokkal keresztben. Ők az ily vizsgálatoknál addig szokásos rendszer szerint jártak el, t. i. úgy, a hogy Despretz a fémek vezető képességét határozta meg. A kérdéses anyagból készült pálczának egyik vége egy hőforrással érintkezett mindaddig, míg be nem állott az egyensúlyi állapot. A hőmérsék, melyre a pálcza, különböző távolságokban a melegített végtől számítva, szert tett, a fa fúrataiba illesztett hőmérőkkel méretett meg. Ezen adatokból egy jól ismert formula segítségével meghatározhatták a fa vezető képességét.

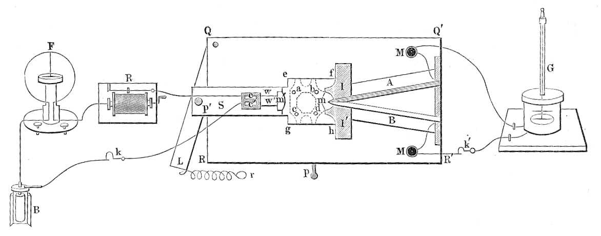
260. A 63-ik ábrában lerajzolt készüléket több év előtt a czélból gondoltam ki, hogy meghatározzam a fa különböző irányaiban végbemenő hőközlés gyorsaságát. QQ' RR' hosszúkás alzat mahagoni fából; A antimonrúd, B pedig bizmútrúd. E két rúd egyesített végeit szoros érintkezésben tartja az elefántcsontból készült II' szorító; a másik két vég egy másik darab elefántcsontba van mozgathatlanul beillesztve. E két végtől két platinahuzal vonúl a kis MM


198

63-ik ábra.

63-ik a ábra.


199

elefántcsont-csészékhez; a csészékben egy-egy higanycsöpp van, melybe a huzalok belemerüluek. Az II'-ból két orom áll ki előre, melyeket egy feszes hártya köt össze, úgy, hogy ekként a kis 'm kamara minden oldalról be van rekesztve. E kamrába benyúlik a bizmút és az antimon érintkező részének ékalakú vége. E kamrának elefántcsont a feneke. S egy fatolóka, mely L emeltyű segélyével egy rézsútosan bevágott vályúban könnyedén tolható előre és hátra. Az L emeltyű Q csap körül forog s a tolókának vízszintes hasítékába kap, melybe p' szögecscsel oda van szögezve. Az emeltyűbe egy hosszúkás nyílás van vágva; e nyíláson átmegy a p szögecs, az emeltyű pedig oldalvást kis mozgástért nyer. Igy el van érve, hogy az emeltyű a tolókát egyenes vonalban hajtsa előre. A tolókán az II' ormaival szemben két előre nyúló hegy látható, ezekre is finom hártya van kifeszítve. Ekként keletkezik az m kamara, melynek három falát és fenekét fa határolja, előrészét pedig a kifeszített hártya. Többszörösen ide-oda hajlított, rácsozatfélét képező vékony platinahuzal az m kamarába hátulról be van téve s a tolóka végébe egy kalapácsütéssel beerősítve. Ezután a huzal-rácsozat le lett ráspolyozva, úgy, hogy a huzalnak ezen műtét után csak félakkora a vastagsága s az egésznek egyenletesen sima lap a felülete. A tolókának és a huzalnak közös felületén igen vékony csillámlemezke fekszik, csupán a végből, hogy meggátolja a kamarába teendő higanycsöpp és a platinahuzal között a vezető érintkezést. ww' huzal-végek cc' kis mélyedésekbe vezetnek, melyek elefántcsont lemezben ki vannak vájva s higanynyal megtöltve. A tolóka végét a meghajlított huzallal együtt a 63-ik a ábra mutatja. efgh derékszögű térség az alapot képező mahagóniban ki van metszve, alulról pedig csavarokkal oda van erősítve egy sárgarézlemez. E lemezen (a metszést a pontozott vonal mutatja) négy kúpalakú kis elefántcsontoszlop áll s habár úgylátszik, hogy ezen oszlopok az antimón és a bizmútrúddal


200

ugyanazon egy síkon állanak, csücsaik mégis valóban 0,3 hüvelykkel alább állanak a mondott síknál.

261. Koczka alakúvá metszvén a megvizsgálandó anyagot, huzalfogó segélyével odaállítjuk a négy (abcd) támaszra, a tolókát pedig a koczka felé csúsztatjuk úgy, hogy a koczka jól beszoruljon az II' elefánt csontdarabok ormai és az S tolóka közé. Mivel az m és m' kamarák higanynyal telvék, e higany gyöngén odaszorítja a hártyákat a koczkához; ily módon biztosan eszközölhető az okvetetlenül szükséges egyenletes érintkezés.

A megoldandó feladat a következő: helyeztessék el egy pontosan megmérhető erejű s minden pillanatban könnyen megszerezhető hőforrás a koczkának azon oldalán, mely a tolóka végén lévő m' hártyával érintkezik; s méressék meg azon hőmennyiség, mely egy percz alatt hatolt át a koczkán keresztül a másik oldalra.

262. A megkivántató tulajdonságú hőforrás létesítése czéljából következőképen jártam el: B kis villanytelep; árama legelőbb az F tangensbuszolhoz megyen, aztán végigfut e készülék gyürűjén, eltereli a gyürű közelében álló delejtűt; innen az R rheostathoz halad. E készülék egy serpentin hengerből áll, melyre újezüst-huzal csavarmenetesen van felgombolyítva. Forgatván a készülék forgatóját, a nagy ellenállású huzalból tetszés szerint nagy darabot, tehát tetszés szerint nagy ellenállást szőhetünk be a villany-lánczba s ezzel kényünk, kedvünk szerint szabályozhatjuk az áram erősségét. E két, utóbb említett készülék csak arra való, hogy napról napra tökéletesen változatlanúl megtarthassuk az áram erősségét. Az áram a rheostatból a c higanycsészikéhez áramlik, innét a hajlított huzalon át vissza a c' csészikéhez, ezekből pedig a telepnek másik sarkához.

263. A hajlított platinahuzalt gyöngén megmelegíti a rajta átfolyó villanyáram. A melegséget az m' kamarában lévő higany a kamara előrészén kifeszített hártyához vezeti s e hártya ily módon közvetetleu hőforrása a koczka bal


201

oldalának. A hőmennyiséget, mely megszabott időben vonul át e hőforrástól a másik oldalra és pedig a koczka tömegén keresztül, azon elhajlással mérjük, melyet e hő a galvanométer tűjén idéz elé. G az e czélra használt, a bizmúttal és antimónnal összekötött galvanométer. A galvanométerből huzalok vezetnek az MM higanynyal telt csészikékhez, melyeket, mint már elébb megjegyeztük, platinahuzalok kötnek össze az A-val és a B-vel.

264. A higanynak a bizmútra gyakorolt oldó hatása ismeretes; ha e két fém érintkezik egymással, azonnal amalgam képződik. Hogy a hővillanyelemek e hatás ellen megvédessenek, ugyanoly hártyával fedvék be, minő az m és m' kamarák egyik falát képezi.

265. A kamarák hártyáit, mielőtt a koczka közéjük tétetnék, a mögöttük lévő folyékony tömeg kissé kidudorítja, úgy, hogy egy pár puha és kissé kidomborult párnát képeznek. Midőn a koczkát a maga támaszaira állítjuk s feléje toljuk a tolókát, ezzel ama két párnát lapossá nyomjuk s így igen tökéletes érintkezést eszközlünk. A koczka biztosan be van foglalva a szemközt álló ormok közé, mert oldallapja nagyobb a hártya felületénél; * a tolókát pedig ez alatt a p szögecshez odaerősített rúgó tartja egy bizonyos helyzetben. Kisérletezés esetében következő az eljárás: miután megnéztük vajjon zérusra mutat-e a galvanométer tűje, midőn a hővillanyláncz zárva van, e lánczot k' kulcscsal megszakítjuk. A Volta-féle lánczot bizonyos pillanatban, melyet az óra másodpercz mutatója jelez, k kulcscsal bezárjuk s az áramnak 60 másodperczig tartó áramlást engedünk; a hatvanadik másodpercz végén bal kezünkkel megszakítjuk a Volta-lánczot k-nál; a hővillanylánczot pedig ugyanazon pillanatban k' kulcscsal bezárjuk. A galvanométer tűje azonnal elhajlik s ezen első elhajlást feljegyezzük. Természetes, hogy az elhajlás nagysága azon hőmennyiségtől függ, mely a kisérlet tartama alatt,

A koczka minden oldala 0.3 hüvelyk.


202

a koczka tömegén keresztül az autimon és bizmút érintkezése helyéhez jutott. Leolvasván az elhajlást, a koczkát eltávolítjuk s a készüléket hűlni hagyjuk, míg ismét zérusra nem mutat a galvanométer tűje.

266. Kisérleti módszerünk a leirás szerint igen bonyolódottnak látszhatik; de a valóságban nem az. Egyetlen figyelő is könnyen uralkodhatik az egész készülék felett. A kis villanytelep huzalai napról napra háborítatlanul megmaradnak, s a mint helyreállítjuk a kapcsolatot közöttök és a telep között, kisérletkészen áll a készülék.

267. Három, egymásra merőleges irány van a fában, melyekről az anyag egyszerű megtekintése után is kimondhatjuk már, hogy ezek szükségképen a tömecsbeli hatások által vannak megszabva. Az első vonal egyközű [párhuzamos] a rostokkal, a másik merőleges a rostokra és azon farétegekre, melyek a fa évi növekedését mutatják, a harmadik merőlegesen irányul a rostokra s egyközű vagy inkább érintőleges a farétegekkel. Többféle fából egy-egy koczkát vágattam ki úgy, hogy a koczka két lapja egyközű volt a farétegekkel, kettő merőlegesen állott reájok, a két utolsónak iránya pedig a rostokra volt merőleges. E három irány szerint volt vizsgálandó a fában végbemenő hővezetés gyorsasága. Hozzá tehetem még, hogy a fa valamennyi esetben jól kifejlődött és száraz volt.

268. A koczkát először úgy állítottam a négy abcd támaszra, hogy az áramlásnak m'-től m felé menő vonala egyközű volt a rostokkal, s megfigyeltem az elhajlást, melyet a 60 m. p. alatt áthatolt meleg idézett elé. A koczka állását ezután úgy változtattam meg, hogy a rostok függőlegesen állottak; az m' és m közötti áramlás pedig derékszöget képezett a rostokkal és egyközű volt a farétegekkel; az egy percz mulva beállott elhajlást ismét leolvastam. Végre 90 fokra fordítottam meg a koczkát úgy, hogy a rostok még mindig függőlegesen állottak, az áramlás iránya pedig derékszöget képezett a rostokkal és a farétegekkel. E két utóbbi irány


203

összehasonlításánál különös gondot kell fordítani a készülék kezelésére. Hogy a rostok irányában nagyobb a hőközlés gyorsasága, azt kevésbbé finom kisérlettel is szemlélhetővé tehetjük; de a rostokra merőleges irányokban meglévő gyorsaságok között oly csekély a különbség, hogy a hatás különféleségét csakis nagy gonddal s a legtöbb esetben csak számos kisérlet után sikerül biztosan megállapítani.

269. A következő tábla e vizsgálatok nehány eredményét tartalmazza s maga fogja magát magyarázni.

A fa neme

A tű elhajlása

I.
Egyközűen
a rostokkal

II. Merőlegesen a
rostra, egyközűen
az évgyürűkkel

III.
Merőlegesen a
rostra és az
évgyürűkre

1. Amerikai nyirfa
2. Tölgyfa
3. Bikkfa
4. Karamandel-fa
5. Juharfa
6. Lándzsa-fa
7. Puszpángfa
8. Tikfa
9. Rózsafa
10. Chinafa
11. Zöld ébenfa
12. Diófa
13. Bús kőrisfa
14. Kakaófa
15. Szantálfa
16. Tulipán-fa
17. Kámforfa
18. Olajfa
19. Kőrisfa
20. Fekete tölgyfa
21. Almafa
22. Barkócza
23. Gesztenyefa
24. Szikamór
25. Mahagónifa (Honduras)
26. Berzsenyfa
27. Tiszafa
28. Szilfa
29. Platanus
30. Babérfa (Portug.)
31. Spanyol mahagónifa
32. Skót fenyő
35°
34
33
33
31
31
31
31
31
30
29
28
28
28
28
28
28
28
27
27
26
26
26
26
25
25
24
24
24
24
23
22
9,0°
9,5
8,8
9,8
11,0
10,6
9,9
9,9
10,4
10,7
11,4
11,0
11,0
11,9
10,0
11,0
8,6
10,5
9,5
8,0
10,0
10,2
10,1
10,6
9,0
11,0
11,9
10,0
10,0
10,0
11,5
10,0
11,0°
11,0
10,8
12,3
12,0
12,1
12,0
12,4
12,6
11,7
12,6
13,0
12,0
13,6
11,7
12,1
10,0
13,2
11,5
9,4
12,5
12,4
11,5
12,2
10,0
13,9
12,0
11,5
12,0
11,5
12,5
12,0


204

270. E tábla megerősíti azon eredményeket, melyeket de la Rive és de Candolle a fának a rostok irányában való magasabb vezetőképességére vonatkozólag kaptak. Azonkívül bebizonyítja, mily csekély befolyása van magának a sürűségnek a vezetés gyorsaságára. Úgy látszik, hogy ebben nincs valami általános, vagy csak megközelítőleg is általános szabály. Az amerikai nyírnek például – viszonylagosan könnyű fa – kétségkívül nagyobb a vezetőképessége, mint bármely más, a lajstromban álló fáé, holott a barkócza, melynek 1.426 a sürűsege, meglehetősen alant áll. Másrészt a tölgy és a karamandel-fa (ez utóbbi oly kemény, hogy a vadak éles hadi fegyverekre használják) majdnem legelűl állanak a táblában, a skót fenyű pedig és más könnyebb fák, majdnem legalul.

271. Ha végig tekintünk a tábla második és harmadik számsorán, azt találjuk, hogy a vezetés gyorsasága valamennyi esetben azon irányokban a legnagyobb, melyek a fás rétegekkel derékszöget képeznek. A tömecshatás törvénye tehát a fában végbemenő hővezetésre vonatkozólag következőkép fejezhető ki:

mindazon pontokon, melyek nem feküsznek az élőfa közepében, három különböző s egymásra merőleges iránya van a fának a hővezetést illetőleg. Az első és a legfőbb tengely egyközű a fa rostjaival; a második – a középső – merőleges a rostokra és a farétegekre; a harmadik – a legkisebb – pedig merőleges a rostokra és egyközű a rétegekkel.

272. De la Rive és de Candolle még megjegyezték, hogy a fának gyönge hővezetése keresztben a rostokkal előnyös azon meleg megtartására, melyet a fa a talajtól nyer. E sajátságnak köszönhető, hogy a fa ellenállhat a hőmérsék rögtönös változásának s valószinű, hogy e változás károsan hatna, ha a fának nem volna meg ama sajátsága. Ellenáll úgy a belső melege rögtönös elvonásának, mint a külső meleg rögtönös odaszállításának. A természet azonban még


205

többet tett, bevonván a fát oly anyagú kéreggel, mely még roszabbul vezet, mint a fa a maga legkedvezőtlenebb irányában. Következőkben látják azon elhajlásokat, melyeket különböző fáknak a kérgéből vágott koczkái adtak, és pedig a fakoczkákkal egyenlő nagyság mellett és ugyanazon viszonyok között.

  elhajlás a megfelelő elhajlás a fánál
bükkfa-kéreg
tölgyfa-kéreg
szilfa-kéreg
fenyű-kéreg

7
7
7
10,8°
11,0
11,5
12,0

A hő ezen esetekben a kéreg belső felületótöl kifelé vezettetett.

273. Azon átlagos elhajlás, melyet a fakoczka keresztben irányult áramlás mellett idézett elő, annyi mint

12°;

ugyanoly nagy koczka hegyi kristályból (tiszta kovaföld)

90°

elhajlást okoz.

274. Hogy a hegyi kristálynak még bizonyos fémeknél is nagyobb a vezetőképessége, azt igen valószinűvé tették a kisérletek.

275. Következő számok mutatják nehány más, szerves szövet vezetőképességét:

rozmár-fog
keletindiai elefánt agyara
halcsont
rhinoceros-szarv
marha-szarv
16
17
9
9
9

276. A szerves szövetek alkotására használt anyagok csupa olyanok, melyek jól ellenállanak a hőmérsék rögtönös változásainak.


206

277. Még közelebről felvilágosítják e pontot a következő eredmények. Az alább elésorolt anyagok mindegyike koczka alakúvá tétetvén, oly vizsgálatnak vettetett alá, mely minden tekintetben hasonló volt a fával és a kvarczczal tett vizsgálathoz. Míg a kvarczkoczka 90 fokú elhajlást ad, addig

a pecsétviasz-koczka
talpbőr
méhviasz
enyv
guttapercsa
kaucsuk
vérmogyorómag
mandolamag
főtt ürüizom
nyers borjuizom









278. Az itt megnevezett anyagok növényi és állati termények, s kisérleteink bebizonyítják, hogy mennyire áthatlan mindegyikök. Azon elvből indulván ki, hogy a melegnek rögtönös odavezetése vagy elvonása árt a növények és az állatok egészségének, belátjuk, hogy az alkotásukra megválasztott anyag legjobban van kiszámítva eme változások elkerülésére.

279. Figyelmöket most egy oly kisérletre szeretném fordítani, mely talán képtelennek tűnhetik fel első tekintetre. Itt van egy rövid hasáb bizmútból s itt egy másik épen oly nagy, de vasból. Mindeniknek az egyik végét fehér viaszszal vonom be, azután pedig forró vízzel telt edény födőjére odaállítom úgy, hogy a bevont vég felfelé forduljon. A hőmozgás el fog terjedni a hasábokban, de kérem tessék megfigyelni a viasz olvadását. Már lágyul, de hol elébb? a bizmút hasábon. A fehér szín ez utóbbiről már egészen eltűnt s a viasz átlátszó folyékony réteggel vonja be a fémet, holott a vason lévő még el nem olvadott. Hogyan egyeztethető össze ez az eredmény azzal a ténynyel, melyet a vezetőképesség táblája


207

mutat s mely azt mondja, hogy a vas vezetőképessége úgy áll a bizmútéhoz, mint 12:2. A mostani kísérletben meg a bizmút látszik jobb vezetőnek. Megfejtjük e talányt, ha a fajhő tábláját veszszük segítségül (165. szakasz); itt ugyanis azt találjuk, hogy míg a vas fajheve 0,1138, a bizmúté csak 0,0308. A vas tehát több, mint háromakkora absolut hőmennyiséget kiván mint a bizmút, ha bizonyos számú hőmérő-fokra akarjuk megmelegíteni. Habár a vas sokkal jobb hővezető mint a bizmút, s e pillanatban is minden idöegységben sokkal nagyobb hőmennyiséget vesz fel: hőmérsékének emelkedése mégis csak lassú, atómjainak nagyobb száma vagy talán a jelentékenyebb belső munka miatt. A bizmút ellenben a vele közlött hőnek nagy részét azonnal hőmérséke fokozására fordíthatja s ebből az látszik, mintha felülmúlná a vasat azon mozgás tovább adásában, melytől a hőmérsék ered.

280. Egészen világosan látható ezekből, hogy mily hibás az a felfogás, melyet sok tankönyvben és tanárjelöltjeink feleleteiben gyakran találunk – a már említett Ingenhouss-féle kisérletre vonatkozólag. Közönségesen úgy vélekednek, hogy mennél gyorsabban olvad a viasz, annál jobb a vezető. Ez csak úgy igaz, ha a rosz és a jó vezetőnek egyenlő a fajheve, más esetekben azonban, mint utolsó kisérletünk bizonyítja, egészen téves lehet. A helyes eljárás – mint már megjegyeztem – abban áll, hogy be kell várni, míg úgy a vas, mint a bizmút hőmérséke megállapodik, azaz, míg a két fém közül mindegyik annyi mozgást vesz fel a hőforrástól és annyit vezet tovább, a mennyit egyáltalán felvenni és tovább adni képes. Ha ez megtörtént, úgy azt találjuk, hogy a vas sokkal több hőmennyiséget képes tovavezetni, mint a bizmút. Emlékeznek a Trevelyan-készülékkel tett kisérletre; meggyőződtek róla, hogy a billegető tartójául oly testet kell választani, mely erősen tágulhat. Legalkalmasabb erre az ólom, mert erősen tágulhat. A horgany tágulási együtthatója valamivel nagyobb ugyan mint az ólomé, e czélra még sem használható úgy, mint az ólom. Oka pedig az, hogy a hor-


208

gany fajheve több mint háromszorosa az óloménak, s így az a melegség, melyet a billegető érintkezése folytán közölne a horganynyal, csak harmadrész-akkora hőmérsékemelkedést idézhetne elé a horganyban, mint az ólomban; már pedig a hőmérsékemelkedéssel lépést tart a tartónak helyi tágulása.

281. Ezen elmélkedések azt is mutatják, hogy a fákkal tett kisérleteinkben az egy percz alatt átvezetett hőmennyiség, ha szigorúan veszszük a dolgot, mindaddig nem tekinthető a fa vezetőképességének kifejezéseül, míg be nincs bizonyítva, hogy a különböző fák fajheve valóban egyenlő. Ez utóbbi tekintetben azonban kísérletek még nem tétettek. De azért kísérleteink közül azok, melyek a tömecsszerkezet befolyását illetik, megtartják helyességöket; itt ugyanis csak a különböző irányokat hasonlítjuk össze egymással ugyanazon koczkában. A mi még a szerves szöveteket illeti, hozzátehetem, hogy vezetőképességök végtelen csekély akkor is, ha elég időt engedünk nekik, hogy annyi mozgást vegyenek fel valamely hőforrástól, a mennyit felvenni képesek. Ezek valóban nagyon rosz hővezetők.

282. E tökéletlen vezetőképességnél fogva kitünően alkalmasak a ruházatra a gyapjúkelmék. Megóvják a testet a hőnek rögtönös hozzájutásától vagy elvonásától. E tulajdonságuk, a rosz hővezetés, szembetünően észrevehető: ha darab jeget flanellba göngyölgetünk. Az ekként betakart jég nem egy könnyen olvad. Hideg napon a gyapjú ruházat gátolja az ember testét, hogy hőmozgását a külvilággal közölje. Meleg napon ellenben ugyanaz az anyag megvédi a jeget a külső meleg felvételétöl. Állatok, melyek hideg tájakon élnek, már a természettől kapják a szükséges ruházatot. Különösen a madarak, melegebb lévén a vérök mint az emlősöké, vannak ráutalva e védelemre. Tollakkal vannak felruházva, melyeknek közeit pehely tölti be; a pehely pedig, tömecsszerkezeténél és mechanikai szövésénél fogva, talán a legeslegrosszabb hővezető. Itt ismét egy uj példánk van arra az összhangzó


209

viszonyra, mely az élet és az életfeltételek között mutatkozik. Ilyes vonatkozásokkal a természetbúvár szüntelenül találkozik.

283. A fáradhatatlan Rumford nagy gonddal tett egy rakás kísérletet, hogy megvizsgálja az emberi ruházatul használt anyagok vezetőképességét. * Módszere a következő volt: egy hengeralakú s egyik végén gömbbel végződő üvegcsőbe higany-hőmérőt függesztett, úgy, hogy a hőmérő a cső tengelyében, a hőmérő gömbjének középpontja pedig e cső gömbjének középpontjában állott. A két gömb közötti tért azon anyaggal töltötte be, melynek vezetőképessége vizsgálat alá volt veendő. E készüléket forró vízben melegítette, azután törött jégből és sóból álló hideg keverékbe mártotta s megfigyelte az időt, mely az illető anyagnak kellett, hogy 135 F. fokkal lehűljön. Ezen időt a következő tábla mutatja:

A környezet:

másodperczek

sodrott selyem
finom len
gyapot
gyapjú
tafota
nyers selyem
hód-bőr
dunnalúd pelyhe
nyúlbőr
fahamu
szén
lámpakorom
917
1032
1046
1118
1169
1264
1296
1305
1312
927
937
1117

284. E vizsgálatból kitűnt, hogy a nyűlbőr a fenn elésorolt anyagok között legnagyobb ellenállást fejt ki a hő átmenete ellen.

285. Jelentékeny befolyása van a hő átvezetésére azon test mechanikai állapotának, melyen a hő átmegy. Vilá-

* Phil. Trans, 1792. p. 48.


210

gosan bizonyítja ezt a nyers és a sodrott selyem közötti különbség a Rumford-féle táblában. A tiszta kovaföld, hegyi kristály alakjában, jobb vezető mint a bizmút vagy az ólom; de ha porrá törjük a kristályt, e poron keresztül csak lassan terjed el a melegség. Az átlátszó kősó igen bő, a közönséges asztali só pedig igen szűk hővezető. itt van egy vagy két darab asbest: ez egy kovanemű, rostos anyag; kezemre teszem s vörösizzó vasgolyót fektetek reá; látják, hogy baj nélkül tarthatom a golyót, mert az asbest letartóztatja a meleget. Észszerű tehát a feltevés, hogy ezen anyagnak e rostos szétoszlása gördít akadályokat a hővezetés útjába. Mozgás lévén ugyanis a hő, a tömecsbeli kapcsolat minden megszakításának zavarólag kell hatnia e mozgás átvitelére. Asbestben levegő választja el a kovavegyület rostjait; terjedésénél tehát a mozgás szilárd testről az igen könnyű levegőre, kénytelen átmenni s erről ismét az aránylag nehéz szilárd testre. Könnyű belátni, hogy a mozgás csak nagyon tökéletlenül közlödhetik e különnemű szövedékeken keresztül. Még világosabban mutatják ezt az állati bőrök, mert itt a mellett, hogy a szőrszálak közeit levegő tölti be, maguk a szőrszálak is rosz vezetők. Megtörtént, hogy jégtáblán elterülő hamurétegen izzó láva folyt le, s a jég el nem olvadt, mert megvédte a hamu csekély vezető képessége. A félig homokkal rakott fataligákon vörösizzó vasgolyók szállíthatók az ágyúnyilások elé. A jeget fűrészpor közé rakjuk, ha nem akarjuk, hogy megolvadjon; szénpor is nagyon rosz hővezető. Fűrészpor, szén, polyva azonban, mert igen gyulékonyak néha nem használhatók ily esetekben előnyösen használható az őrlött gipsz. A gipsz ugyanis már szilárd, kristályos állapotában is sokkal rosszabb vezető mint a kovaföld; meglehetős biztossággal következtethetjük tehát, hogy megőrlött állapotban sokkal nagyobb az áthatlansága mint a homoké, melynek minden egyes szemcséje jó vezető. Ha a gőzkazánt őrlött gipszköpönyeg


211

venné körül, ez jelentékenyen csökkentené a kazán hőbeli veszteségét.

286. A víz közönségesen némely feloldott ásványokat foglal magában. Midőn ugyanis átszivárog a földön, kisebb vagy nagyobb mennyiséget old fel azon anyagokból, melyekkel érintkezik. Mésztartalmú vidékeken, például, mindig bizonyos mennyiségű szénsavas mész van benne; az ilyen víznek kemény víz a neve. Gyakran gipszet is foglal magában. Elpárolgásnál csak a víz illan el, az ásvány pedig hátra marad, gyakran oly nagy mennyiségben, hogy a víz már nem képes oldott állapotban megtartani. Némely forrásokban szénsavas mész van, ha az ily víz kijő a földfelületre s a levegőn elpárolog, úgy az ásvány lecsapódik s kérget képez a növényeken és köveken, melyeken a víz lecsörgedezett. Ugyanez történik a víz forralásakor; az ásvány-anyagok csapadékot képeznek, s nálunk Londonban alig van vizes üst, mely ásványos kéreggel be ne lenne vonva. E körülmény gyakran komoly bajokat szül a gőzkazánoknál. E kéreg ugyanis rosz hővezető s oly vastaggá válhatik, hogy tetemesen megnehezíti a hő átmenetét a vízhez. Az ebből keletkezhető bajra egy példát hozok fel. Ime ez itt egy darab egy gőzhajó-kazán belsejéből. A hajó majdnem tönkre jutott szénhiány miatt. Vitorla-gerendákat s minden kézrekeríthető fát kénytelenek voltak elégetni, hogy a hajót behajtsák a kikötőbe. A vizsgálatnál e vastag kérget találták a kazán belsejében. A kéreg leginkább szénsavas mészből áll, melynek rosz vezetőképessége miatt, felette sok tüzelőanyagot voltak kénytelenek elégetni, hogy a szükséges gőzmennyiséget fejleszthessék. Valószinűleg ez az oka, hogy némely kazánokban oly nehezen forr fel a víz.

287. Itt helyén lesz egy-két példát fölemlíteni, megmutatandó azt, mint gátolják a jó vezetők a hőt az egy helyen való összegyülemlésben. E két golyó egyenlő nagy; az egyik fa, a másik réz, s fehér papirossal vannak bevonva. Mindegyik alá egy-egy borszesz-lámpát állítok. Természetes,


212

hogy a hőmozgás mind a két golyóval közlődik; az egyik azonnal tovább vezeti a mozgást, a láng érintkezése pontjától el, az egész tömegén keresztül, holott a másikban e gyors vezetés nem áll be; a mozgás tehát felhalmozódik azon a helyen, melyet a láng nyaldos. Ime itt a hatás; megfordítom a fagolyót, a papiros egészen megszenesedett; megfordítom a fémgolyót, itt a papiros nem csak hogy meg nem szenesedett, sőt ellenben nedves lett a megsürűdött vizes gőzöktől, melyeket a láng hozott létre. ltt van egy henger, szorosan bevonva papírossal; középpontját lámpa fölé tartom s úgy forgatom, hogy a láng az egész hengert körül nyaldossa. Élesen kijelölt fekete sávot látnak, melynek egyik oldalán szenesedni kezd a papiros, a másikon pedig fehér marad. A henger egyik fele sárgarézből van, a másik fából, s a fekete sáv e két anyag érintkezése vonalát jelöli. A papiros, ott a hol a fát födi, meg van szenesedve, ott pedig a hol a sárgarezet födi, nyomát sem mutatja az elégésnek.

288. Ha közönséges puskagolyónak összes mozgató erejét valamely nehéz ágyúgolyónak adnók át, e golyót csak kevéssé mozgatnók. Feltéve, hogy a puskagolyó két uncziát nyomna és 1600 lábnyi sebességgel mozogna másodperczenként, akkor ugyanazon mozgató erő, 100 font súlyú ágyúgolyóra alkalmazva, e golyóval csak 32 lábnyi sebességet közölne. Ugyanezen eset áll a lángnál is, melynek ugyan nagyon gyors a tömecsmozgása, de nagyon csekély a súlya; mozgásának tehát, ha valamely nehezebb testre vitetik át, jelentékeny veszteséget kell szenvednie a gyorsaságban. Itt van például egy darab huzalfátyol, melynek közei elég tágasak, hogy szabadon átbocsássák a levegőt; s itt egy világosan égő gázláng. E lángra tévén a huzalfátyolt, azt kellene vélni, hogy a láng átcsap a huzal szemem keresztül; de egy szikra sem hatol át (64. ábra) s az elégés csupán csak a fátyol alatti térre szorítkozik. Eloltom a lángot s megengedem, hogy meg nem gyúlt gáz ömöljék a gázégetőből, a huzalfátyolt pedig az égető fölé tartom. Most a gáz szabadon áramlik át a fo-


213

nadék szemein. Meggyujtom a fátyol felett; íme itt a láng, de nem terjed lefelé az égetőig (65. ábra). E között és a huzalfonadék között körülbelül négy hüvelyknyi sötét közt látnak; gáz van benne, mely meg nem gyúl mindamellett, hogy körülményei szerfelett kedvezők az elégésre. Látják tehát, hogy e fémszövet a lángot feltartóztatja, habár a gáznak szabad átmenetet enged. És miért történik ez? Arra, hogy a gáz meggyúljon, bizonyos melegség szükséges; de midőn a huzalfonadékot a láng fölé tartjuk, vagy a lángot a fonadék fölé, akkor a könnyű, lobogó tárgy mozgását a viszonylagosan nehéz szövetre viszszük át. A tömecsmozgás gyorsasága, mert annyiszor nagyobb tömegű anyaggal közlődik, oly jelentékenyen gyengül, hogy a meggyúlást a szövet másik oldalán nem képes többé eszközölni.

64-ik ábra.

65-ik ábra.

289. A borzasztó szerencsétlenségek, melyeket kőszénbányáinkban a robbanások idéznek elé, sajnos, nagyon is ismeretesek mindnyájunk előtt. Tudják, hogy e robbanások oka oly gáz jelenlétének tulajdonítandó, mely a szénrétegekben tiszta szénből és hydrogénből képződik. Ha e gáz elegendő levegővel keverődött össze, meggyuladása robbanással jár, a midőn a gáz szene a levegő oxygénjével szénsavvá vegyül, a gáz hydrogénje pedig a levegő oxygénjével vizet alkot. A robbanás lángja megégeti a bányászokat, s ha ez meg nem ölné őket, megfúlnak a szénsavban, mely ugyanakkor képződik. Magát az eredeti gázt "csapó légnek" ne-


214

vezik a bányászok, a szénsavat pedig "gonosz lég vagy "fojtó lég"-nek. Sir Humphry Davy, meggyőződvén a huzalfátyolnak, önök előtt imént bemutatott, hatásáról, e fátyolt oly lámpa szerkesztésére alkalmazta, mely lehetővé teszi a bányásznak, hogy robbanó légbe is bevihesse a mécsest. A biztosító lámpa behozatala előtt aczél és kova szikráival volt kénytelen a bányász beérni; e szikráktól a csapólég meg nem gyulad.

66-ik ábra.

290. Davy közönséges olajlámpát huzal-fátyolokból készült hengerrel vett körül (66. ábra). Míg tiszta lég táplálja e lámpát, addig közönséges olajlámpa világosságával ég a lángja, de ha a bányász csapó lég tartalmú körbe jő, úgy a láng nagyobb lesz, világossága pedig csökken, mert a helyett, hogy tiszta oxygén táplálná, gyulékony gázok fogják részben körül. A láng e nagyobbodását úgy tekintse a bányamunkás, mint intést a visszatérésre. De ha a robbanó keverék a külső légtől egészen a belül lévő lángig, a szövet szemein keresztül, terjedne is, az elégés még sem fog a huzalfátyolon át közlődni. Majdnem világtalan láng foglalhatja el a lámpa egész belsejét, robbanás még sem következik be. Ha azonban a fátyol valahol ki van szakadva, vagy valahol


215

megrozsdásodva, mit a láng nyaldosása is gyorsít, úgy ez eléidézné a robbanást. Sőt a lámpának nyugtalan ide-oda mozgatása a levegőben meehanikailag hajthatja kifelé a lángot a szövet szemein keresztül. Szóval, a lámpa kezelése értelmességet és óvatosságot kiván. Sajnos, hogy az egyik sincs meg mindenkor a bányásznál; ennek pedig az a szerencsétlen következménye, hogy a biztosító lámpa daczára is még mindig történnek robbanások. Nem volna-e jó, ha a bányamunkásoknak, férfiaknak úgy, mint a fiúknak, kézzelfoghatólag, kisérletekkel mutatnák meg a fentleírt hatásokat, még mielőtt engedelmet kapnak bemenni a bányába. Puszta intések nem verik a munkás fejébe az óvatosságot. De ha a munkásnak alkalma volna tiszta és szemlélhető képzetet szerezni a vigyázatlanság következményeiről, e benyomás sokáig szolgálhatna neki intésűl, midőn már rég eltünt a puszta szavak hatása.

291. Engedjék meg, hogy most még nehány szót szólhassak a folyadékok és a gázok vezetőképességéről. E tárgyban Rumford számos kisérletet tett, melyek a fogalmak tisztaságáról s a kivitel ügyességéről tanúskodnak. Nézete az volt, hogy a folyadékoknak egyáltalán nincs vezetőképességök; különbséget tett a hőnek tovaviteltöl származott szállítása és a valóságos vezetés között; s hogy folyadékaiban a tovavitelt kikerülje, felülről melegítette azokat. Így azt találta, hogy egy hevített vashenger melege nem volt képes 0,2 hüvelyk vastag faolaj rétegen keresztül terjedni; jég felett vizet forralt fel egy üvegcsőben anélkül, hogy a jég elolvadott volna. Despretznek későbbi kisérletei azonban mutatják, hogy a folyadókoknak van, bár gyengén, de valóságosan, vezetőképességök is. Rumford a gázok vezetőképességét is tagadta, habár jól ismerte tovaszállító képességöket. A gázok hővezetését legközelébb Magnus, berlini tanár vette ismét elé, s e kitűnő búvár hiszi, hogy döntő kisérletekkel bebizonyította, mikép a hydrogén fém gyanánt vezeti a melegséget.


216

67-ik ábra.

292. A légnek tovavitelből származott hűtő hatása következő módon tehető szemlélhetővé. E platinatekercsbe villanyáramot vezetvón, vörös izzóvá lesz. Most egyenes vonallá húzom ki a tekercset, Íme az izzás rögtön alábbhágy – önök már nehezen fogják látni. Az izzás azért csökkent, mert a hideg lég szabadabban hozzáférhet a kinyújtott huzalhoz. Itt van még egy R (67. ábra) üvegedény; tetszés szerint kiszivattyúzható; fenekéhez függőlegesen oda van erősítve egy fémpálcza, felső végén pedig egy másik pálcza van, melyet légáthatlanúl záró nyél segélyével fel és alá tolhatok, úgy, hogy a két pálcza végét tetszés szerinti távolságra állíthatom egymástól. A pálczákat most két hüvelyk hosszú platinahuzal köti össze, melyet villanyárammal tetszőleges erősen hevíthetek. E kis teleppel helyreállítván az összeköttetést, a huzal izzik, de csak úgy, hogy izzása alig látható; hiszen csak egy elem árama hevíti. Lég fogja körül a huzalt, s e lég kétségkívül elvonja melegének egy részét. Kiszivattyúzom az edényt, íme a huzal sokkal erősebben izzik, mint elébb. Levegőt bocsátok be; a huzal azonnal elalszik s tökéletesen fekete lesz. Ha friss levegő többé be nem hatol, ismét megjelenik az előbbi gyenge izzás. A betóduló légáram elvonúl a huzal felett és sötétülését okozza, ehhez hasonló módon hat azon áram, melyet a huzal maga kelt, midőn a körötte lévő levegőt megmelegíti. A huzal lehűtése mind a két esetben nem tulajdonítandó valóságos hővezetésnek, hanem csak tovavitelnek.

293. Még sokkal magasabb fokúvá tehetjük e hatást, ha levegő helyett hydrogént használunk. Ezen érdekes észleletet Grovének köszönjük, s ez szolgált Magnus búvárlatainak kiinduló pontjáúl. Az üvegedény most ki van szivattyúzva,


217

a huzal majdnem fehér-izzó. A levegőnek csak az lenne a hatása, hogy vörös-izzásra szállítaná le a fehér-izzást; de tessék figyelni a hydrogén hatására. E gáz beléptekor a huzal tökéletesen elalszik s még akkor sem jő ismét izzásba, midőn a gáz megtöltötte az edényt s megszünt a beáramlás. A most alkalmazott villanyáram két elemből jő; hármat veszek, – a huzal csak gyöngén világít; öt elem erősebb izzást létesít, de a huzal most is csak a vörös-izzásnál marad. Ha nem a hydrogén volna jelen, a most alkalmazott áram biztosan elolvasztaná a huzalt. Lássuk úgy van-e? Megkezdem a szivattyúzást; az első szivattyúhúzások csak alig észrevehető hatást idéznek elő; tovább is folytatom; íme a hatás láthatóvá kezd lenni. A huzal fehér lesz s úgylátszik, hogy vastagabb. Némi távolságból lúdtollnyi vastagnak látszik. Most olvadni készül, még tovább szivattyúzok, a fény rögtön elalszik, – a huzal elolvadt.

294. A hydrogéngáznak e rendkívül nagy hűtőképességót közönségesen a hydrogénrészecskék mozgékonyságának tulajdonították; e mozgékonyságnál fogva ugyanis a hydrogénben könnyebben állhatnak be áramlások, mint bármely más gázban. Magnus tanár azonban valóságos vezetőképesség hatásának tartja a huzal lehűlősét. Hogy az áramlásokat megakadályozza, – bár nem szüntetheti meg – hydrogéngázzal telt, vékony üveghenger tengelyen vezette keresztül a platinahuzalt. Ez esetben csak vékony gázréteg födte a huzalt s e mellett alig lehetett gondolni közönséges értelemben vett áramlásokra, s mégis úgy oltotta el e réteg az izzó huzalt, mintha ez hydrogénnel telt nagy edényen keresztül lett volna vezetve. Magnus tanár egy edénynek felső zárt végét melegítette meg s azt találta, hogy a hő ezen edényből, a némi távolságban felállított hőmérőhöz gyorsabban jutott azon esetben, ha az edényben hydrogén volt, mint akkor, ha lég volt benne. Sőt még akkor is így állt a dolog, ha az edény meg volt töltve laza gyapottal vagy dunnalúdpehelylyel. Itt – mondja – áramlások nem képződ-


218

hettek; valóságos hővezetés, nem pedig tovavitel juttatta a hőt a hőmérőhöz.

295. Bármily szépek és elmések is e kisérletek, nézetem szerint még sem bizonyítják be véglegesen a hydrogén vezetőképességét. Feltéve, hogy a huzal, Magnus tanár kisérletében, hydrogénnel telt tágas henger tengelyének hosszában lett volna kinyújtva, úgy a huzal megmelegítése esetében, közönséges értelemben vett tovavitellel volna dolgunk. Hová jut végtére az így szétszórt melegség? Látni való, hogy magának a hengernek adatik át, s szűkebbé tévén a hengert, csak gyorsítjuk az átvitelt. A henger szűkítését folytathatjuk, míg végre egészen szűk csövet nyerünk; a középpont és a külső oldal közötti tovavitel tovább is fog tartani, s hűtő hatása ugyanaz marad. Saját melegét a gáz átadván a nehéz csőnek, gyorsan lehűl s kész ismét hőt elvonni a huzaltól. A mi pedig a felülről megmelegített edényt illeti, itt mathematikailag vízszintes felület és tökéletesen egyenletes hőbehatás kivántatnék, azonfelül pedig élesen el kellene a hőt választani az edény oldalaitól, hogy a tovavitel meg legyen gátolva. A dunnalúdpehely és a gyapot közelben is észrevehetővé teheti magát a hydrogénnek, a tovavitel szolgálatában álló, mozgékonyága; és ha mindent számításba veszek, nézetem szerint még nyilt kérdésnek kell tekinteni a gázok vezetőképességének kérdését. *

* Abban a nézetben vagyok, hogy a folyadékok vezetőképessége is további vizsgálatokat kiván. E véleményemet számos kisérletre alapítom, melyeket e kérdésre vonatkozólag tettem.