Renner János: a fizika elemei.
TTKV, 1944.
Részlet: 11. fejezet.

A VILLAMOS ÁRAM.

Villamos erőtér. Korunk mindennapi élete olyan szorosan összefügg a villamossággal (elektromossággal), különösen a villamos árammal, hogy, ha valami okból megszűnnék a villamosság felhasználása, a művelt világot katasztrófába döntené. Ma már a közműveltséghez tartozik a villamos áram alaptörvényeinek és a legfontosabb gyakorlati alkalmazások alapelveinek ismerete. Miután az előző fejezetben az anyag belső szerkezetével megismerkedtünk, képesek vagyunk a villamos áram jelenségeinek mélyebb okait is kifürkészni.

Az anyag belső szerkezetével kapcsolatban is beszéltünk már villamosságról. Emlékezzünk vissza arra, hogy egyszerű dörzsöléssel egyes anyagok villamossá válnak és a villamos állapotú, vagy amint mondani szokás, a villamos töltésű testek között vonzó és taszító erők működnek. Megismertük a legkisebb villamos töltést az atomon belül az elektronnal kapcsolatban. Az elektronnak jut további meggondolásainkban a legfontosabb szerep.

Bevezetésül igen egyszerű, bárki által elvégezhető kísérletet mutatunk be. Két kb. 5 cm átmérőjű fagömböt vonjunk be sztaniollal. Erősítsük mindegyiket külön-külön kemény gumiból készült nyélre, és a nyelet foglaljuk függőlegesen deszkaalzatba. Ragasszunk mindegyik gömb felületére – le-


270

160. kép. Villamos töltésű golyó erőtere.

hetőleg egyenletes elosztásban – selyempapírokból kivágott keskeny papírszeleteket. A papírszeletekkel ellátott két gömb legyen egyelőre jó távol egymástól. A keskeny papírszeletek természetesen lekonyulnak. Készítsünk elő továbbá egy sellakkal bevont üvegrudat és egy kaucsukból készült rudat. Dörzsöljük meg bőrrel az üvegrudat és érintsük egyik gömbünkhöz. A papírszeletek felágaskodnak és nagyjában úgy helyezkednek el, mintha a gömb sugarainak meghosszabbításai volnának (160. kép). Érintsük meg kezünkkel a gömböt, a papírszeletek nyomban lehanyatlanak. A gömb érintkezés útján villamos töltést vesz át a megdörzsölt üvegrúdtól, a gömbtől átveszik a papírszeletek és, mivel mindegyiken ugyanolyan (ebben az esetben pozitív) villamos töltés van, egymást taszítják, ezért helyezkednek el sugarasan. Jegyezzük meg, hogy kezünk érintésével a test villamos állapotát meg tudjuk szüntetni. Hasonlóképen viselkedik bármelyik papírszeletes gömb, ha posztóval dörzsölt kaucsukrudat érintünk hozzá. Ha ezen a szép jelenségen kissé eltünődünk, az a gondolatunk támad, hogy az elektromozott gömbön és kör-


271

161. kép. Két ellentétes villamos töltésű golyó erőtere.

nyezetében valamilyen feszült állapot mutatkozik. Mintha némi rokonsága volna azzal az idegfeszültséggel, melyben "a szenvedő alanynak minden hajaszála égnek áll". Nevezzük azt az okot, amely a papírszeletkék sugaras szétágazását, kifeszülését előidézi, villamos feszültségnek.

A két gömb egyidejű felhasználásával még más érdekes kísérletet is elvégezhetünk. Érintsük meg az egyiket a megdörzsölt üvegrúddal, a másikat a dörzsölt kaucsukrúddal, vagyis adjunk az egyiknek pozitív, a másiknak negatív villamos töltést. Ezután hozzuk egymás közelébe a két gömböt felborzolt papírszeleteikkel. Annak az érdekes jelenségnek vagyunk szemtanúi, hogy az egymáshoz közeledő papírszeletek egymásba fogódzkodnak, mihelyt elég közel jutnak egymáshoz (161. kép). A külső oldalon mindegyik gömbön továbbra is sugarasan kifelé ágaznak a papírszeletek. A két gömb között viszont az egymásba fogódzkodó papírszeletek általában szép ívalakban, a két golyó középpontja irányában pedig egyenesen feszülnek ki. Itt is bizonyára feszült állapot van, villamos feszültség van a két gömbön és közelükben.

Még egy harmadik kísérlet is figyelmet érdemel. Szüntessük meg kezünk érintésével mindegyik gömb villamos állapotát, s azután tegyük őket egymástól távolabb. Érintsük meg mindegyiket dörzsölt üvegrúddal és ismét közelítsük egymáshoz. A papírszeletek nem nyujtanak egymásnak kezet, sőt kerülik egymást, elhajlanak egymástól, minélfogva a két gömb között középen üres tér marad (162. kép). Ez a jelenség is könnyen érthető, hiszen most mindkét gömb papírszeletein egyféle villamos töltések vannak, azok pedig taszítják egymást. Nem kétséges, hogy itt is villamos feszültség van jelen.

162. kép. Két egynemű villamos töltésú golyó erőtere.

Kisérleteinkből tehát azt tanuljuk, hogy minden villamos töltésű testen és környezetükben villamos feszültség van. Ezzel a kifejezéssel tulajdonképen az itt működő villamos erőket jellemezzük, mert ahol feszültség van, ott erőhatás-


272

nak is kell lennie. A működő erőnek mindig van iránya. Kísérleteink esetében nem nehéz a villamos erő irányát megállapítani. A kifeszülő papírszeletkék igen szépen szemléltetik az erők irányát, hiszen nagyon természetes, hogy a vékony papírszeletkék az erő irányában feszülnek ki. Azt a vonalat, amely a térben végig követi a villamos erő irányát, villamos erővonalnak nevezik. Kísérleteinkben valósággal látjuk az erővonalakat, egyébként azonban bármilyen villamos állapotú test közelében elképzelhetjük magunknak az erővonalakat, feltéve, hogy ismerjük az erő irányának változásait. A villamos erővonalakkal behálózott tér villamos erőtér. Jól véssük emlékezetünkbe, hogy minden villamos töltésű testhez elválaszthatatlanul hozzátartozik az erőtér. Ha a villamos állapotú test mozog, vele együtt mozog egész erőtere is. Kísérleteinkből látható, hogy az egyik pl. pozitív töltésű test felületéről kiinduló erővonalak ellenkező, tehát negatív töltésű test felé haladnak, s egyrészük annak felületén végződik. Észszerű az a feltevés, hogy egyenlő nagyságú töltések egyenlő számú erővonalat tartanak fogva. A villamos


273

erővonalak mintegy összekötik a pozitív és a negatív töltéseket. Ha valamilyen töltésből kiinduló erővonal nem talál a közelben olyan ellenkező töltésre, amelybe belekapaszkodhatik, akkor a végtelen tér felé irányul.

163. kép. Villamos töltések a héliumatomban.

Természetesen villamos erőtere van az atom villamos töltésű építőköveinek, a protonnak és az elektronnak is. Az atomon belül az atommag mindig pozitív töltésű, innen tehát erővonalak indulnak ki, s azok a semleges atomon belül nyilván az elektronokon végződnek (163. kép). Ionizált atomban vagy kevesebb, vagy több az elektronok száma a rendszámnal, ott tehát vagy a magból, vagy az elektronhéjból indulnak ki olyan erővonalak, amelyek nem végződnek az atomon belül, hanem kilépnek belőle, és az egész atomot kifelé villamos állapotúnak mutatják (164. kép). Ha a magból kiinduló erővonalak jutnak ki az atomból, akkor pozitív ionnal van dolgunk, ha pedig az elektronhéjnak van fölös erővonala, akkor az ion negatív. Az ionok szabadon kiágazó erővonalainak fontos szerepük van a molekulaképződéskor; ezek kötik össze pl. a pozitív nátriumiont a negatív klórionnal.

164. kép. Villamos töltések a héliumionban.

Az erővonalak fogalmát egy mélyen gondolkodó angol fizikus, FARADAY alkotta meg. FARADAY az erővonalakat láthatatlan rugalmas fonalaknak képzelte el, sőt meggyőződése az volt, hogy az anyagban, ahol villamos erőtér van, még a légüres térben is, valamilyen alakban tényleg megvannak ezek a láthatatlan rugalmas fonalak. Ennyire ma már


274

nem követjük Faradayt, az erővonal fogalma azonban nélkülözhetetlen segédeszköze a villamos jelenségek leírásának. Milyen szemléletes az a gondolat, hogy az erővonal saját irányában összehúzódni igyekszik, hiszen ez egyértelmű a különféle villamosságú testek vonzásával. Keresztirányban az erővonalak tágulni igyekszenek, ez pedig egyértelmű az egyféle villamos állapotú testek taszításával.

A villamos erővonalak elválhatatlan kapcsolata a töltéssel magyarázza azt a különben kísérletekkel könnyen igazolható tényt, hogy a villamos töltés a test felületén igyekszik elhelyezkedni. Így pl. tömör fém belsejében nincsen töltés, csak a felületén. A test felületén a villamos töltés a kiemel-

165. kép. Villamos megosztás.

kedő éleket, csúcsokat keresi, tehát ilyen helyekről sokkal több erővonal indul ki, mint a felület más helyeiről.

Villamos megosztás. Papírszeletes golyóinkkal még egy érdekes és fontos kísérletet végezhetünk. Legyen a két gömb egymástól távol. Az egyiknek érintéssel valamilyen, pl. pozitív villamos töltést adunk. Papírszeletei sugarasan szétnyilnak. Közelítsük ezután a másik, nem elektromos gömböt a villamos állapotú gömbhöz (165. kép). A jelenség ahhoz a kísérlethez hasonlít, amelyben a két gömbnek ellentétes villamos töltése van. Tehát mindenesetre a második gömbön is kell töltésnek lennie, mégpedig a pozitív töltésű gömb felé néző oldalon negatívnak. Ez valóban így is van, ezért fogódzkodnak most is egymásba egyes papírszeletek. A második gömb másik oldalán azonban ugyanannyi pozitív töltés van,


275

s abból újabb erővonalak indulnak ki. Nem vittünk rá villamos töltést és mégis jelentkezik rajta, mégpedig kétféle villamosság. Tehát már eredetileg rajta kellett lennie mind a kétféle villamos töltésnek. A közelben levő villamos testről kiinduló erővonalak mint csápok maguk felé húzzák az ellentétes töltéseket és eltaszítják a megegyezőeket. Ezt a jelenséget villamos megosztásnak mondják.

Az atom szerkezetének ismeretében nincs mit csodálkoznunk ezen a jelenségen. Tudjuk, hogy minden atomban vannak villamos töltések, sőt az atom építőköveinek lényeges tulajdonságai a villamos töltések. Arról is tudunk, hogy a külső elektronhéjból többé-kevésbbé könnyen elektronok válnak le. Mindez érthetővé teszi, hogy villamos töltések mutatkozhatnak ott, ahol azelőtt nem voltak. Arról majd később lesz szó, hogy hosszabb utakat hogyan tehetnek meg az elektronok. Egyszerű kísérleteinkben dörzsöléssel szoktunk


276

testeket villamossá tenni. Anélkül, hogy ezt a meglehetősen bonyolult folyamatot részleteznők, beláthatjuk: a dörzsölés nem valami teremtő aktusa a villamos töltéseknek, csupán olyan módszer, amellyel különféle, de már meglevő töltéseket szét tudunk választani, s az egyik töltés a dörzsölt a anyagon, a másik a dörzsölő anyagon jelentkezik.

Villám. Hatalmas villamos erőtér és feszültség keletkezik a nagy természetben nyári zivatarok alkalmával, s ez a feszültség időnként villám alakjában egyenlítődik ki. A villamos feszültség a zivatarfelhő és a föld között létesül. Azt tartják, hogy a lehulló esőcseppek egy része a függőlegesen felszálló gyors légmozgáshan szétporlad, s ennek következtében a töltések is szétválnak. Az elektronok tehát a negatív töltések a legfinomabb szétporlott vízcseppekre kerülnek, ezeket a felszálló szél magával ragadja a magasba, a valamivel nagyobb vízcseppek pozitív töltéssel a földre zuhannak. A felhő alsó része pozitív töltésü, az alatta levő földfelszín pedig villamos megosztás következtében negatív töltésü. Föld és felhő között erőtér alakul ki hatalmas feszültséggel. A természet erős villamos erőterében a villám szétszakítja a levegőt, illetőleg azt a földi tárgyat, amelyen át utat keres magának. A villámnak azért van gyújtó hatása, mert a hatalmas villamos feszültség energiája nagy részben hőenergiává alakul át. A hangtünemény, vagyis a mennydörgés, onnan származik, hogy a villám hirtelen széjjellöki a levegőrészeket, utána ismét visszatérnek előbbi helyükre, s így a villám által kettéhasított levegőréteg hullámzásba jön. A levegő hullámzása, mint tudjuk, hangot kelt.

Villámhárító. A villámcsapás ellen villámhárítóval védekezünk. A villámhárító kezdetleges alakja az épület tetejére erősített magas fémrúd. A villámhárító rúd egy vagy több hegyes csúcsban végződik. A villámhárítót fémdrót köti össze a nedves földbe ásott rézlemezzel. A légkör villamos feszültsége alkalmával a villámhárító csúcsain sok megosztott


277

villamos töltés gyűlik össze s a csúcson át részben ki is áramtik, és azon a helyen a feszültséget némileg csökkenti. Villámcsapás esetén a villámnak könnyű utat biztosít a nedves földbe.

Villamos áram. Térjünk át ezután a villamos áram jelenségeire. A gyakorlati ember bizonyára azt gondolja magában, hogy érdekesek lehetnek az erővonalakat szemléltető papírszeletes kísérletek, de mi köze ennek a villamos áramhoz. A dörzsöléssel végzett játékok valóban messze esnek az áram hatalmas gyakorlati felhasználásától, de a megértéshez szükségünk van az eddigiekre.

Villamos árammal mindenekelőtt lakásunkban van dolgunk: azzal világítunk, esetleg forralunk, főzünk, port szívunk, varrógépet, szellőztetőt hajtunk és így tovább. Az áramot a hálózati központból kapjuk. Izzólámpáink többnyire állandó összeköttetésben vannak a hálózattal, egyéb villamos házi készülékeinket pedig alkalomszerűen csatoljuk be a fali kapcsolókba. Maradjunk a fali kapcsolónál. Két drótvégződést tartalmaz egymástól jól szétválasztva. A drótvégződések között van az a nagy erőforrás, amelynek az áramot köszönhetjük: a villamos feszültség. Ugyanolyan villamos feszültség, amilyenről előbb tárgyaltunk. Villamos áram csak ott keletkezhetik, ahol feszültség van. Ne kutassuk egyelőre, hogyan létesíti a központ a feszültséget és hogyan küldi szét.

Vizsgáljuk meg először magát a villamos áramot. Ehhez a vizsgálathoz kérjük fel ismét atomfizikus barátunkat vezetőnek. A kapcsolóból vörösrézdrótok vezetnek a készülékhez. Ezekben a vörösrézdrótokban folyik a villamos áram, amikor felhasználjuk. Pillantsunk be a vörösrézdrót egy darabjának belsejébe, még mielőtt villamos áram menne át rajta. Atomokat találunk nagyjában kristályos szerkezettel, az atomokon belül magot és elektronhéjakat. Mindez régi ismerősünk. Atomfizikus barátunk azonban rámutat egy nyüzsgő társaságra, amelynek


278

tagjaiban elektronokra ismerünk, de ezek a szabálytalanul ide-oda nyüzsgő elektronok szemlátomást nem tartoznak egyik atomhoz sem. Úgy látszik, valamilyen hazátlan csavargó társaság. Sokan vannak, van belőlük körülbelül annyi, mint ahány atom. Valamikor bizonyára atomokhoz tartoztak, valamiképen elszabadultak az atom közösségéből és azóta rakoncátlanul kóborolnak az atomok között ide-oda. Időnként megkísérlik egyes atomok, hogy visszahívjanak egyes elektronokat, néha sikerül is egy-egy szabad elektront ismét befogni az elektronhéjba, s annak szigorú törvényeit rákényszeríteni, ugyanakkor azonban többnyire más elektronok szabadulnak el, s a szabad, rakoncátlan elektronok száma nagyjából változatlan marad. Ezek a szabad elektronok úgy viselkednek, mint a gázmolekulák, szabálytalan, ú. n. hőmozgást végeznek. El is nevezték őket elektrongáznak.

Az egyes szabad elektronok igen különböző sebességgel mozognak ide-oda, átlagos sebességük jelentékeny, milliomod másodpercenként 10 cm-t tesznek meg átlagosan. Miután jól megfigyeltük ezt a kóbor társaságot, vezetőnk elárulja, hogy a villamos áram a vörösrézben ezeknek a rakoncátlan szabad elektronoknak köszönhető. Gondoljuk el, hogy igen vékony és elég hosszú vörösrézdrót két végét dugjuk egyenáramú feszültséget adó kapcsolóba. A vörösrézdrót két vége között most tehát feszültség van, a drótban pedig áram folyik. Vajjon milyen változás áll be az áram következtében? A szabad elektronok végig a drót mentén látszólag ugyanúgy nyüzsögnek tovább, mint áram nélkül. Mindegyik szabad elektron azonban szabálytalan mozgásán kívül folytonosan egy keveset egy és ugyanazon irányban is elmozdul. Ez tehát szabályos, rendezett mozgás, a fennálló villamos feszültségnek következménye. A feszültség valami kis fegyelmet visz a nyüzsgő társaságba. Igaz, hogy igen kicsi az egyirányú elmozdulás, másodpercenként alig egy milliméter. Végeredményben a nyüzsgő elektronhad mégis meghatározott irányban kezd lassan ván-


279

dorolni, a kapcsoló egyik végén, sarkán egyre-másra eltűnnek elektronok, ellenben a másik sarkon újabb szabad elektronok lépnek be a drótba.

Ez a rendkívül lassú vándorlás valahogyan nem fér meg azzal a közismert tapasztalattal, hogy a villamos áram a másodpercnek igen kis törtrésze alatt szalad végig a vezetéken; gondoljunk csak a távíró- vagy távbeszélő vezetékre. Ezt azzal magyarázzuk, hogy a feszültség bekapcsolásakor a szabad elektronok mintegy meglökik egymást abban az irányban, amerre a lassú vándorlásnak meg kell indulnia. Ez a lökés pedig villámgyorsan terjed.

Elektromos vezetők. Vajjon csak a vörösréz viselkedik így? Végigvizsgálva különböző anyagokat, azt találjuk, hogy minden fémben van több-kevesebb szabad elektron, ezért minden fém jó vezető. Különbség van az egyes fémek között, aszerint, hogy több vagy kevesebb a szabad elektron. Valamennyi fém között a legjobb vezető az ezüst, nyomban utána következik a vörösréz. A vas valamivel kevésbbé jó vezető.

Ezek után érdemes tüzetesen megvizsgálni olyan anyagot, amelyre azt szokás mondani, hogy szigetelő. Ilyen anyag pl. a borostyánkő, kaucsuk, pecsétviasz, paraffin, porcellán, csillám, selyem, üveg, száraz levegő, stb. Szigetelő anyagban nem találunk ide-oda kóborló szabad elektronokat. Elektronok csak az atomokon belül vannak. Ha szigetelő anyag villamos erőtérbe, másszóval feszültségbe kerül, csupán az atomokon belül mozdulnak el kissé az elektronok abban az irányban, ahogyan a feszültség kívánja, de nem szabadulnak ki az egyes atomokból, ennélfogva nem vándorolnak egyirányban lassan, vagyis nincs villamos áram sem. A szigetelő belSő szerkezete sokkal rendezettebb, mint a fémé, de éppeil ezért nem tud áramot vezetni. Kitűnő szigetelő a légüres tér, ahol egyáltalán nincsenek elektronok. Jó vezetők és szigetelők kö-


280

zött átmenetet alkotnak az ú. n. félvezetők, (*) pl. a fa, papiros, kenderfonál, szalma.

A villamos áram erőssége. Amper. A vezeték keresztmetszete nem mindenütt egyenlő. Ha arra gondolunk, hogy a vörösrézvezeték folytatása izzólámpánk vékony szála, belátjuk, hogy a villamos áramnak nagyon különböző vastag vezetékeken kell keresztülfolynia. Mit csinál a nyüzsgő és lassan előrevándorló elektronhad, amidőn hirtelen megvékonyodik a vezeték keresztmetszete? Ezt egyszerű hasonlattal világosíthatjuk meg. Hármas sorokban menetelő hadoszlopnak egy patak keskeny hídján kell átkelnie. A hídon egy sorban csak egy ember fér el. Ha a parancsnok el akarja kerülni, hogy az átkelés következtében az egész hadoszlop menetelése meglassuljon, parancsot ad, hogy a keskeny hídon egyesével, de futólépésben kell átmenni. Ugyanez történik a vándorló elektronokkal. A vezeték vékony részén, pl. a lámpa izzószálán át, gyorsabb az elektronok vándorlása, mint egyebütt. Ha a vezeték mentén több helyen, vastagabb és vékonyabb keresztmetszeteken gondolatban olyan számlálószerkezeteket iktatnánk be, amelyek a rendezett, egyirányú mozgással másodpercenként áthaladó elektronokat megszámolnák, azt találnók, hogy a vezeték bármely keresztmetszetén másodpercenként egyenlő számú elektron halad át. Így lehetséges az, hogy a vezeték vége, pl. a kapcsoló egyik sarka, mindig ugyanannyi elektront tüntet el, a másik vége, sarka pedig ugyanannyi elektront nyom be a vezetékbe.

A képzeletbeli elektronszámláló-eszközhöz hasonló szerepet tölt be a mindenfelé jól ismert ampermérő eszköz. Később ismerjük meg a szerkezetét, most annyit mondunk róla, hogy a villamos áram erősségét méri amperekben. AMPERE francia fizikusról nevezték el az áram erősségének mértékegységét. A villamos áram annál erősebb, minél több elektron, tehát minél több negatív töltés vándorol át másodpercenként a vezeték bármely keresztmetszetén. Egy amper

(*) Újabban más anyagokat nevezünk félvezetőknek: amelyek néha vezetőként, néha szigetelőként viselkednek, a környezeti feltételektől és a a rájuk kapcsolt feszültségtől függően. A fenti csoportot mostanában egyszerűen "rossz vezetőknek" vagy "rossz szigetelőknek" nevezzük. [NF]


281

erősségű az áram akkor, ha másodpercenként 63 milliószor billió, másként 6.3 trillió elektron megy át a vezeték bármely keresztmetszetén. Ennyi elektron villamos töltését együttesen egy coulombnak nevezik (COULOMB francia fizikusról). Meglepő, hogy ilyen nagy az áthaladó elektronok száma, hiszen tudjuk, milyen lassan vándorolnak egy irányban. Gondoljuk meg azonban, hogy milyen rengeteg sok atom és szabad elektron van az anyagnak csak egy köbmilliméterében is.

A kapcsolónak az a sarka, amely az elektronokat szívja, a pozitív sark, a másik, amely az elektronokat a vezetékbe nyomja, a negatív. Az áram irányát a vezeték mentén a pozitív sarktól a negatív sark felé szokták számítani, ez az irány tehát éppen ellenkező az elektronok vándorlási irányával. (*)

Mindennapi életünkben is sokat emlegetjük az ampert. Tájékozásul szolgáljon, hogy a 60 dekalumenes (**) izzólámpán kb. félamper, a villamos vasalón, forralón kb. 3–4 amper erősségű áram megy át. Rádiólámpák áramerőssége néhány tízezred amper, a villamos vasút 100 ampernél is erősebb áramot használ, villamos hegesztéshez 1000 amper is kell, villamos kohókban az áramerősség eléri a 100 000 ampert.

Villamos feszültség. Volt. Villamos áram akkor halad a vezetékben, ha valamely erő a vezeték egyik végén benyom, a másik végén pedig kiszív elektronokat. Ezt az erőt a már ismert villamos feszültség adja. Feszültség nélkül nincs áram. Kapcsolónk két sarka között villamos feszültség van. Mértékegysége az olasz VOLTA nevéről a volt. A hálózati feszültség rendszerint 110 volt, ipari áramra 220 volt.

110 volt feszültséget találunk kapcsolónk két sarka közt. Villamos feszültséget adnak az akkumulátorok, zseblámpaelemek is. Gépkocsikon 6 voltos akkumulátorokat szoktak használni, a zseblámpaelem feszültsége 2–4 volt. (***) A villamos vasút árama kb. 500 volt feszültségű. Villamos távvezetékek drótjai között 100 000 voltnál is nagyobb a feszültség. A villám feszültsége tízmillió voltokban fejezhető ki.

(*) Ez az ún. technikai áramirány, és azokból az időkből ered, amikor még nem tudták, hogy fémekben negatív részecskék hordozzák az áramot. Az elektronok áramlási irányát fizikai áramiránynak szokás nevezni. [NF]

(**) A lumen a fényáram mértékegysége. A 60 dekalumenes izzó 40–50 wattos lehet a mai szóhasználat szerint. A két mértékegység nem váltható át egymásba: a wattokkal történő megadás az energiafogyasztást veszi alapul, és a lámpa kibocsátotta láthatatlan sugarakat is tartalmazza, míg a lumenekben történő megadás csak a látható fénysugarakat veszi alapul. [NF]

(***) Ezek az adatok az évek folyamán részben megváltoztak. [NF]


282

Villamos ellenállás. Ohm. Valamilyen villamos feszültség, pl. a hálózati 110 volt feszültség egy bizonyos vezetékdarabon meghatározott számú elektront visz át másodpercenként, vagyis meghatározott erősségű áramot létesít. Ha azt akarjuk, hogy a feszültség változatlan maradjon, de az áram erősebb legyen, vagyis több elektron menjen át a vezetéken, vastagabb vezetéket kell használnunk. Hasonlattal élve, a Margithidat a megnövekedett forgalom kielégítésére ki kellett szélesíteni. Ugyanabból az anyagból készült kétszer nagyobb keresztmetszetű vezetéken kétszer annyi elektront tud ugyanaz a feszültség átvinni, tehát az áramerősség is kétszer akkora lesz. Ha félakkora hosszúságú vezetéket kapcsolunk ugyanabba a feszültségbe, akkor az elektronok vándorlási sebessége lesz kétszeres, és az áramerősség is megkétszereződik. Rövidebb darabon ugyanis a feszültség nagyobb hatást fejthet ki. A vezeték anyagának lényeges befolyása van az áram erősségére: ha pl. egyenlő méretű vörösréz- és vasdrótot kapcsolunk ugyanabba a feszültségbe, a vasdróton át jóval gyengébb áram halad, mert benne kevesebb a szabad elektron. Összefoglalva, azt látjuk, hogy az adott feszültség két sarkát összekötő vezeték hosszúsága, keresztmetszete és anyagi minősége határozza meg a létrejövő áramerősséget.

A vándorló elektronok ellenállásra találnak a vezetékben, s ez az ellenállás akadályozza haladásukat. A vezeték ellenállása az árammal szemben annál nagyobb, minél hosszabb a vezeték és minél kisebb a keresztmetszete. Erre is választottak egységet, s OHM német fizikus nevéről nevezték el. Egy ohm ellenállása van pl. 58.8 méter bosszú 1 mm2 keresztmetszetű vörösrézdrótnak.

Ohm törvénye. Az ellenállás mértékegységét, az ohmot, nem valami önkényes módon találták ki, hanem úgy választották meg, hogy 1 volt feszültség éppen 1 ohm ellenállású vezelőben létesítsen 1 amper erősségű áramot. Ez a három, a gyakorlati életben is minduntalan emlegetett mérték-


283

egység igen egyszerű kapcsolatban van egymással. Világos, hogy 2 ohm ellenállású vezetékben 1 volt feszültség csupán 1/2 amper áramot ad, 4 ohm ellenállásban csak 1/4 ampert, és így tovább. Ha 2 ohm ellenállású vezetékben is 1 ampert akarunk kapni, ahhoz 2 volt feszültség kell, 3 ohm ellenállású vezetékben 3 volt feszültség ad 1 ampert. Ahhoz, hogy 2 ohm ellenállású vezetékben 3 amper erősségű legyen az áram, 6 volt feszültség szükséges. Tehát az ohmok és az amperek számának szorzata megadja a voltok számát. Ez az összefüggés az áramerősség, az ellenállás és a feszültség között Ohm törvénye néven ismeretes. Ebből következik, hogy, ha a voltok számát az amperek számával elosztjuk, az ohmok számát kapjuk. Ha pl. 110 volt feszültségbe kapcsolt izzólámpánk 0.5 amperrel izzik, ellenállása 110 : 0.5 = 220 ohm.

A villamos áram igen jól összehasonlítható a folyadékok áramlásával. Gondoljunk a vízvezetéki hálózatra. A vizet felszivattyúzzák a víztartóba. Innen ágazik szét a csőhálózat a város, vagy városrész vízellátására. Ha abban a városrészben éppen minden csapot kinyitnak, a víz áramlása a fővezetékben a legerősebb. Lehetséges, hogy ilyenkor minden csapból gyéren ömlik a víz, különösen a magasabb emeleti csapokból, mert nagyon kibővítették a hálózatot és a fővezetéken idővel a víz nyomása nem tud több vizet áthajtani. A fővezeléket vastagabbra kell kicserélni. A vastagabb fővezeték kisebb ellenállást fejt ki és ugyanakkora nyomás olyan vízáramerősséget tud létrehozni, ami a legnagyobb igénybevételt is kielégíti. A nyomást a víztartó magassága határozza meg. Összehasonlítva a villamos árammal, a víznyomás a feszültségnek, a vízvezetéki cső ellenállása a vezeték ellenállásának, a csövön másodpercenként áthaladó vízmennyiség az áram erősségének felel meg.

Villamos áramforrások. Az áramló víz példája még egy körülményre hívja fel figyelmünket. Elgondolható az az eset, hogy például éjtszaka a kérdéses városrészben egy-


284

időben minden vízvezetéki csap zárva van. Ekkor áramlás nyilván egyáltalában nincsen, bár a nyomás megvan. Villamos áramvezetékben is gyakran megtörténik, hogy elzárjuk az áramlást, de feszültség állandóan van. A villamos áramot szigetelővel zárjuk el. Minden áram-megszakító olyan szerkezet, amely két drótvég közé a kapcsolás szerint szigetelőt vagy vezetőt iktat. A kapcsoló két sarka között használaton kívül is 110 volt feszültség van. Ez azt jelenti, hogy a negatív sarkon állandóan elektronbőség, a pozitív sarkon elektronhiány áll fenn, s mihelyt vezető összeköttetésbe kerül a két sark, a negatív sark bőséges elektronjaiból a vezetékbe elektronokat nyom be, a pozitív sark pedig hiányai pótlására a vezetékből elektronokat szív ki, s ezzel megindul az áramlás. Természetesen adódik ezután az a kérdés, mi adja a kapcsoló egyik sarkán az elektronbőséget, a másikon az elektronhiányt, más szóval mi létesít feszültséget. Később ismerkedünk meg azoknak a hatalmas gépeknek alapelvével, amelyek a villamos erőműtelepeken feszültséget termelnek. Egyelőre be kell érnünk azzal, hogy vannak olyan gépek, amelyek a sokfelé szétágazó vezetékekben mindenütt állandóan villamos feszültséget tartanak fenn. Ezek a villamos erőműtelepek felelnek meg azoknak a vízvezetéki szivattyúknak, amelyek a víztartókbe emelik a vizet.

A villamos erőműtelepek gépeit áramforrásoknak nevezzük. Áramforrás a zseblámpaelem, az akkumulátor is. Az a villamos feszültség, amelyet az áramforrás állandóan fenntart, az áramforrás elektromotoros ereje, s ezt is voltokban fejezzük ki. Az akkumulátor elektromotoros ereje az a villamos feszültség, amely a két sark között van nyitott állapotban. Mihelyt valamit, pl. egy izzólámpát bekapcsolunk, a feszültség a két sark között kisebbedik; ezt az elektromotoros erőnél kisebb feszültséget kapocsfeszültségnek mondják.


285

Sokszor hallottunk villamos áramkörökről. Ha pl. kapcsolónkba bekapcsoljuk a villamos forralót, az áramkör a következő részekből áll: a villamos központ áramfejlesztő gépének egyik sarka, hálózati vezeték a kapcsolóig, kábelzsinórunk egyik drótja a forralóig, a forralón belül felszerelt vékony drótellenállás, a kábelzsinór másik drótja a kapcsolóig, egy másik hálózati vezeték a gép másik sarkáig és az áramfejlesztő gép belső vezetéke. Ez valóban teljesen zárt vonal, ha nem is körvonal. Az áramkörben valahol kell olyan szerkezetnek lennie, amely elektronbőséget és hiányt tud létesíteni, ezt nevezik áramforrásnak. Az áramkör bármelyik vezetódarabjának két pontja között van feszültség, a feszültség azonban nagyon különböző. Nagyobb feszültség mindig a nagyobb ellenállású vezetékben van, mert ott van szükség nagyobb erőre, hogy az elektronok keresztüljussanak. Például a világítási vezeték mentén a központtól egészen az izzólámpáig kevés a feszültség, a 110 volt feszültség majdnem teljesen a lámpa rövid kis izzószálára jut. Ez természetesen csak akkor igaz, ha mind a hálózati vezeték, mind a lakásvezeték kis ellenállású, tehát aránylag vastag rézdrót.

A villamos áram hőhatása. Az elektronok vándorlásuk közben beleütköznek a fématomokba és egymásba is. Minthogy a feszültség az elektronok rendszertelen mozgásához egyirányú mozgást ad hozzá, az ütközések következtében az atomok hőmozgásának átlagos sebessége növekedik, tehát a vezeték melegszik. Nem kell mindig ütközésnek bekövetkeznie, az elektronok az atomok között kénytelenek mozogni, s az atomok az elektronok mozgását mindenképen hátráltatják. Az elektronok mintegy surlódással mozognak, már pedig surlódással hőfejlődés jár együtt. Természetesen a vezeték különösen olyan helyeken melegszik erősen, ahol nagy az ellenállés, ahol az elektronok vándorlási sebessége is nagyobb, mint másutt. A nagyobb sebességű elektronok ütközéskor jobban meglökik az atomokat, és így nagyobb mértékben


286

növelik a hőmozgás átlagos sebességét. Az izzólámpa vékony szálának ellenállását akkorára méretezik, hogy az áthaladó áram a szálat erős izzásig melegítse fel.

Izzólámpák. A villamos izzólámpa mai használatos alakja hosszas fejlődés eredménye. Az első használható izzólámpát EDISON amerikai feltaláló készítette 1879-ben. Vékony szénszálat helyezett el üvegkörtében és kiszívta belőle a levegőt. A szén azért mutatkozott alkalmas anyagnak, mert jóval 3000 C° fölött olvad, tehát magas hőmérsékletre lehet felmelegíteni, megolvadás veszélye nélkül. A magas hőmérséklet elengedhetetlen, mert bármilyen izzó test annál több fényt ad, minél magasabb a hőmérséklete. Ez a mai izzólámpagyártás alapelve. Az izzó szénszálat azért kellett légüres térben elhelyezni, hogy el ne égjen. Levegőben oxigénnel egyesül és elég. A szénszálas lámpa azonban nem vált be, mert a szénszál lassanként elporlik, befeketíti az üveget, és porlása következtében törékennyé válik. Szénszál helyett hamarosan magas olvadáspontú fémek vékony szálát alkalmazták az izzólámpában. Legelterjedtebb a wolframszálas izzólámpa. A wolfram a ritka fémek közé tartozik, olvadáspontja 3400 C°. Szakadás veszélye nélkül közel 3000 C°-ra izzítható. A szénszálat alig lehetett 1800 C° fölött izzitani.

A wolframszál azonban magas hőmérsékleten lassan párolog, s emiatt az üvegfoglalat idővel megfeketedik és az izzószál gyengül. Ezen úgy segítenek, hogy az izzólámpa belsejét kis nyomáson valamilyen semleges gázzal, pl. nitrogénnal [!] töltik meg. A gáztöltésnek azonban az a káros következménye, hogy az izzószál hőveszteségét fokozza, és így a lámpa fényhatásfoka csökken. A hőveszteség csökkentése céljából spirális alakban készítik az izzószálat. Ugyanolyan vastagságú drót ugyanakkora erősségű áram hatására spirális alakban jobban felmelegszik, mint egyenesre kinyujtott alakban, mert kevesebb a hővesztesége. Még jobb hatást értek el azzal, hogy a már egyszer tekercselt drótot mégegyszer tekercselték (kettő-


287

sen spirális izzószál). Az ilyen módon gyártott gáztöltéses izzólámpák fényhatásfoka jóval nagyobb az olyan lámpáénál, amelynek egyszerű szála légüres térben izzik. Újabban kriptongázzal töltött izzólámpákat hoztak forgalomba. A kriptongáz ú. n. nemes gáz, semlegesen viselkedik s a kísérletek tanúsága szerint hővezetése rossz, tehát az izzószál hőveszteségét meggátolja.

A villamos izzólámpa nem a legtökéletesebb fényforrás, mert az izzószál csak akkor világít, ha magas hőmérsékletre felmelegszik. Ez a felmelegedés felesleges, de elkerülhetetlen. Az izzólámpa tehát elsősorban hőforrás és csak másodsorban fényforrás. Az izzólámpában fejlődő hőt gyakorlati szempontból értéktelennek tartjuk, pedig nem szabad elfeledkeznünk arról, hogy csak az izzószál felmelegedése árán jutunk fényhez.

Az áram melegítő hatásának alkalmazásai. Ami az izzólámpában gyakorlatilag értéktelen, az másféle rendeltetésű készülékben nagyon értékes lehet. Nagyon sok olyan berendezés van, amelyben a villamos áram melegítő hatását használjuk fel. A villamos vasalóban aszbesztlemezek közé foglalt zegzugos, vagy tekercsalakban végigfutó vékony drótvezetéket találunk. Az áram átvezetésekor a vékony drót felmelegszik és a vasalólapot is felmelegíti. Amíg az áram be van kapcsolva, a felmelegedés egyre fokozódik, ezért, ha a vasalót fektetve a kivasalandó ruhán felejtik, a ruhát kiégeti. Vasalás közben a nedves ruha állandóan hőt von el a vasalólaptól, ezért nem melegszik fel ilyenkor túlságosan. A villamos főzőlap működése hasonló a vasalóhoz, a melegítőlap azonban felül van. A villamos forralóban a víztartó edény alatt elhelyezett villamos melegítőberendezés közvetlenül melegíti az edényt. Készítenek villamos tűzhelyeket és kályhákat is, ezek azonban ma még nem bizonyultak eléggé gazdaságosnak. (*) A hajszárítóban – [régi nevén] főnben – kis ventilátorral keltett levegőáram vékony áramvezető drótok között megy át és melegszik fel.

(*) Azóta ez a helyzet megváltozott. [NF]


288

Még sokféle olyan gyakorlati készüléket lehetne felsorolni, amelyben a villamos áram melegítő hatásának van szerepe. Árammal izzásba hozott vékony drótot használnak a villamos gyujtókészülékekben, ezzel lehet távolból a robbanó töltést meggyujtani. Az áram hőhatása folytán melegszik fel magas hőmérsékletre a villamos forrasztó páka.

Az áram melegítő hatásával függ össze a rövidzárlat és a biztosíték. Ha a 110 voltba kapcsolt összecsavart kábelvezeték szigetelése törés, kopás következtében valahol megrongálódik és a két drótvezeték egy ponton csupaszon érintkezik, szikra üt át, égés, füstölgés követi; feszültség abban a vezetékben többé nincsen, a házi biztosíték kiolvadt. Ez a rövidzárlat. Ha a 110 volt feszültség rövid vastag vezeték végét éri, mint a példaképpen felhozott esetben, olyan óriási mennyiségű elektront mozgat meg, hogy rendkívül nagy hő fejlődik. Az óriási mennyiségű elektron mozgatása természetesen nagy áramerősséget is jelent, tehát rövidzárlatkor igen erős – esetleg többszáz amper áram megy át rövid ideig a vezetéken. Ha ez nagyon rövid ideig tart, nagyobb bajt nem okoz, de mi biztosítja azt, hogy időtartama tényleg nagyon rövid? A biztosíték az a vagyonmentő őrszem, amely a kellő pillanatban megszakítja a nagyon erős, kártékony áramot. A biztosíték könnyen olvadó fémből – ezüstből vagy ólomból – készült vékony drótdarab. A lakásban használt minden vezetéket, közvetlenül a fogyasztásméró után, egy helyen megszakítják és biztosítékdrótot iktatnak közbe. Ha a biztosíték pl. 6 amperre szól, az azt jelenti, hogy 6 ampernél erősebb áram hatására a biztosíték drótja megolvad és az áramot megszakítja. Az áram megszakadásakor keletkező szikra sem okoz bajt, mert a biztosíték drótját porcellánszigetelőbe foglalják, s ott nem okozhat gyujtó hatást.

A villamos áram munkavégzése. Amikor valamilyen jó vezető anyag két vége között villamos feszültség


289

van, és ennek következtében meghatározott irányban megindul az elektronok lassú vándorlása, ezek állandóan munkát végeznek, akárcsak a lejtős deszkára helyezett golyók leguruláskor, vagy ha a víz bizonyos magasságból leesik. A leeső víztömegen a nehézségi erő annál nagyobb munkát végez, minél magasabbról esik a víz és minél nagyobb a leeső víz tömege. Ehhez hasonlóan a villamos áramláskor végzett munka is annál nagyobb, minél nagyobb a villamos feszültség, és minél több elektront, vagyis minél nagyobb villamos töltést mozgat meg a feszültség. Mivel a jó vezető keresztmetszetén másodpercenként áthaladó villamos töltés az áramerősséget határozza meg, a munkavégzés annál nagyobb, minél nagyobb az áramerősség. A munkavégzés természetesen az idővel is arányosan növekedik, mert 10 másodperc alatt 10-szer annyi elektron mozdul el a feszültség hatására, mint egy másodperc alatt. Végeredményben a villamos áramláskor végbemenő munkavégzés a feszültséggel, az áramerősséggel és az idővel arányos. Másszóval az áram munkáját úgy kapjuk meg, hogy a voltok számát megszorozzuk az amperek számával és a másodpercekben kifejezett idővel.

Ez nem elméleti megfontolás, hanem nagyon gyakorlati érdekű kérdés. A villamos áram mindennapi életünkben nagyon sokféle hasznos munkát végez számunkra, természetesen nem ingyen. A becsületesen végzett munkát becsületesen és igazságosan meg kell fizetnünk. A fizetés alapja az előre megállapított egységár, akárcsak 1 kg cukor ára. Az egységár lehetne 1 voltampermásodperc árammunka ára. Ehelyett 1000 voltamperóra 3,600 000 voltampermásodperc árammunka egységárát szokták megszabni. A voltok és amperek szorzatát WATT JAMES a gőzgép feltalálójának nevéről watt-nak nevezték el, s az teljesen azonos a teljesítménynek már ismert mértékegységével. Tehát a voltamperóra elnevezése másként wattóra, és ennek 1000-szerese a mindennapi életben használatos kilowattóra. Egy kilowattóra az áram munkája pl. akkor,


290

ha 100 volt feszültség egy órán át 10 amper erősségű áramot hajt át a vezetéken. A voltok és amperek szorzata, vagyis a wattok száma a villamos áram teljesítményét (ef[f]ektusát) adja. A teljesítmény az egy másodperc alatt végzett munka. Az áram munkavégző képességének megítélésekor a teljesítménye vagyunk figyelemmel, fizetéskor azonban az idő is számításba jön, vagyis nem a kilowattokat, hanem a kilowattórákat kell megfizetnünk.

Áramelágazások. Az áramfejlesztő telepekből kiinduló vezetékek sokfelé elágaznak, és elágazásaik eljutnak a felhasználás helyéhez, a lakásokba, gyárüzemekbe stb. Minden áramfejlesztő géphez egységesen összefüggő és sokfelé elágazó vezetékrendszer tartozik. A gyakorlati elektrotechnikusnak el kell igazodnia a sokszor szövevényes áramvezető rendszerben. KIRCHHOFF német fizikusnak könnyen érthető törvényei teszik lehetővé az eligazodást. Kirchhoffnak az áramelágazásokra vonatkozó törvényeit úgy értjük meg világosan, hogy a vízvezetéki csőhálózat hasonló viszonyaira gondolunk. Ha valamelyik víztartóból kiinduló főnyomócső valahol többfelé ágazik el, akkor a víz összenyomhatatlansága következtében az elágazó csövekbe együttesen másodpercenként annyi víz nyomul, amennyi a főnyomócsövön másodpercenként áthalad. Ha az elágazás különböző bőségű csövekből áll,


291

akkor a főnyomócsőből a bővebb elágazócsőbe másodpercenként több víz nyomul be, mint a szűkebb csőbe.

166. kép. Áramelágazás.

Hasonlóképpen tegyük fel, hogy a villamos főáramvezeték több ágra szakad (166. kép a, b, c), majd ismét egyesül. A villamos feszültség következtében a fővezetékben vándorló elektronok mozgásukat az egyes elágazásokban folytatják. Másodpercenként az elágazásokba együttesen ugyanannyi elektron nyomul be, amennyi másodpercenként a fővezeték bármelyik keresztmetszetén áthaladt, mert az elágazási pontban nem torlódhatnak az elektronok. Másszóval, a fővezeték áramerőssége az egyes elágazó vezetékek áramerősségének összegével egyenlő. Továbbá arra az elágazásra jut nagyobb áramerősség, amelynek kisebb az ellenállása. Ha pl. csak két ágra oszlanék a főáramvezeték és az egyik ág ellenállása 9-szer nagyobb, mint a másiké, akkor 9-szer nagyobb ellenállású ágra jut a főáramerősség 1/10 része, a másikra pedig 9/10 része. Ennek különösen nagy fontossága van a villamos árammérő készülékek használatában. Lehet pl., hogy mérőkészülékünk csak 1/1000 ampert – 1 milliampert – bír el, ennél erősebb áram veszélyeztetné a készüléket. Megállapítjuk, hogy hány ohm a mérőkészülék saját ellenállása, és annál 999-szer kisebb ellenállású, tehát aránylag vastag drótot kapcsolunk a mérőkészülékkel elágazásba; ebben az eseten az erős főáramnak csupán 1/1000 része halad át a kényes mérőeszközön. Ezt az eljárást angol szóval a mérőkészülék söntölésének nevezzük.

Az áramelágazások törvényét fontos ismernünk a mindennapi életben, lakásunk villamos hálózata szempontjából. Lakásunk fővezetékének két sarka között, amint elhagyja a fogyasztásmérőt, 110 volt feszültség van. Innen minden izzólámpához párhuzamosan elágazó vezetékek futnak. A vezeté-


292

kek viszonylag vastag vörösrézdrótból valók, kicsi az ellenállásuk, tehát mindegyik izzólámpa úgyszólván változatlanul 110 volt feszültséget kap, s ugyanígy természetesen minden fali kapcsoló is, amelyhez szintén párhuzamosan elágazó drótok vezetnek (167. kép). Ha pl. 4 izzólámpánk van bekapcsolva és fali kapcsolót nem használunk, világítási hálózatunk főáram-

167. kép. Izzólámpák párhuzamos kapcsolása.


293

erőssége 4-szer akkora, mint bármelyik izzólámpán átmenő áramerősség. Ha azonban a négy izzólámpa közül az egyik nagyobb fényerősségű, akkor ezen erősebb áram halad át, mint a többi három lámpán. A nagyobb fényerősségű lámpának izzószála viszonylag vastagabb, tehát ellenállása kisebb, mint a kis fényerejű lámpának.

Minél kisebb az izzószál ellenállása, annál több elektront tud ugyanaz a feszültség ugyanannyi idő alatt az izzószálon keresztülhajtani, tehát annál jobban felmelegszik az izzószál. A nagyobb fényerősségű izzólámpa nagyobb áramerősséget kíván, és természetesen annak arányában nagyobb a fogyasztás. Minél több lámpát kapcsolunk be lakásunk hálózatába párhuzamosan, annál több a fogyasztott áramerősség. Ha az egyes izzólámpák áramerősségét ismerjük, ezeket összeadva megkapjuk az összes fogyasztott áramerősséget. Ebből következik, hogy több párhuzamosan kapcsolt vezeték együttes ellenállása kisebb, mint a vezetékek bármelyikének ellenállása magában véve.

Ha azonban két izzólámpát megfelelő vezetékek segítségével úgy csatolunk be egy fali kapcsolóba, hogy az áram egymásután menjen át a két lámpán, akkor mind a két lámpa csupán gyengén izzik. A két lámpának ilyen, ú. n. soros kapcsolása esetén a lámpák együttes ellenállása az egyes lámpák ellenállásának összege, ennélfogva az áramerősség kisebb, mint bármelyik lámpának közvetlen becsatolása esetén, s nem elegendő a lámpa rendes izzításához. A soros kapcsolásnak többek között akkor vesszük hasznát, ha több kisebb feszültségre készült izzólámpát akarunk 110 volt feszültségbe bekapcsolni. Ha pl. karácsonyfára 10 voltos lámpákat akarunk szerelni, ezekből 11-et sorba kapcsolunk és így csatoljuk be a 110 volt hálózati feszültségbe. Ekkor az egész feszültség megoszlik, mindegyik lámpára 110 voltnak 11-ed része jut. Ha azonban a sorba kapcsolt lámpák valamelyike kiég, az egész sorban megszakad az áram.


294

Vezető folyadékok. Köztudomású, hogy nemcsak fémek vezetik a villamos áramot, hanem egyes folyadékok is, hiszen pl. az akkumulátor belsejében folyadék van, s az akkumulátor maga is áramforrás, áramköréhez a benne levő folyadék is hozzátartozik. Ennek a kérdésnek megvizsgálására egyszerű kísérleteket végezhetünk. Üvegkádba öntsünk tiszta vizet, merítsünk bele a kád két szemben levő oldalán egy-egy rézlemezt, s izzólámpa közbeiktatásával kapcsoljuk be a 110 volt egyenáramú feszültségbe (168. kép).

168. kép. Villamos áramvezetés folyadékban.

A lámpa nem izzik, vagyis a tiszta víz nem vezeti a villamos áramot. Szórjunk ezután konyhasót a vízbe, kissé kavarjuk meg a vizet, a lámpa gyenge izzásnak indul. Minél több sót oldunk fel a vízben, annál jobban izzik a lámpa, bár rendes izzásig nem fokozhatjuk az áramerősséget. A konyhasóoldat az áramot vezeti, de nagyobb ellenállása van, mint valamilyen rövid fémdrótnak. Ha valamilyen sav, pl. sósav vagy kénsav áll rendelkezésünkre és abból öntünk egy keveset a tiszta vízbe, ugyanaz-t a hatást érjük el, mint a konyhasóval. Sónak, savnak, sőt lúgnak vizes oldala a villamos áramot többé-kevésbbé jól vezeti.

Az áram vezetése folyadékokban. Önként vetődik fel az a kérdés, mi történik az ilyen folyadékban a villa-


295

lamos áram vezetésekor. Ennek a folyamatnak a megértése kedvéért ismét az anyag belső szerkezetébe kell bepillantanunk. Vegyük a konyhasóoldat példáját. A konyhasó molekulái, mint tudjuk, nátrium- és klóratomokból állanak. A vízben oldott konyhasó molekulái azonban túlnyomórészben szét vannak hasadva az alkotó atomokra. A különálló nátriumatomnak rendszerint hiányzik a külső elektronja, vagyis nem közömbös atom, hanem pozitív töltésű nátriumion. Ugyanígy a különálló klóratomok tulajdonképpen negatív töltésű klórionok, mert könnyen felveszik a külső elektronhéjban még hiányzó elektront. A feloldott konyhasót úgy kell elgondolnunk, hogy a vízben pozitív töltésű nátriumionok és negatív töltésű klórionok nyüzsögnek rendszertelenül össze-vissza keveredve. A nátrium- és klórionok tehát különálló életet folytatnak a vízben. Ha azonban a bemártott rézlemezek segítségével villamos feszültségbe kapcsoljuk a sóoldatot, akkor a sóoldaton belül létesült villamos erőtér a nátriumionok és klórionok szabad életének véget vet, s ezeket az ionokat rendszeres mozgásra kényszeríti. A pozitív nátriumionok ama rézlemez felé haladnak, amely az áramforrás negatív sarkával van összekötve, s odaérkezve az ott levő fölös elektronokból felvesznek egyet-egyet; a negatív klórionok viszont az áramforrás pozitív sarkával összekötött rézlemez felé vándorolnak s ott leadnak egy-egy elektront. A pozitív töltésű rézlemez szívesen látja az elektronokat, hiszen elektronhiányban szenved. Nyilvánvaló ebből, hogy a vándorló ionok villamos áramot közvetítenek. Míg azonban a fémekben csak a szabad elektronok mozognak, vagyis a villamos töltések mozgása egyirányú, addig a vezető folyadékban mindkét irányban mozognak villamos töltések. Folyadékokban a villamos töltések hordozóinak tömege jóval, néhány ezerszer nagyobb, mint az elektronok tömege. A folyamat úgy megy végbe, hogy ahány elektront a negatív rézlemez bizonyos idő alatt lead, ugyanannyi elektront vesz fel ezalatt a másik rézlemez.


296

Az ion-elnevezés görög eredetű és vándorlót jelent, s ez valóban ráillik a mozgó részecskékre. Még más görög eredetű elnevezések is közhasználatúak a folyadékok áramvezetése körében. A folyadékba merülő fémlemezek közül az áramforrás negatív sarkával összekötött lemezt katódnak, a másikat anódnak nevezik. A katód felé vándorló iont, tehát példánkon a nátriumiont kationnak, az anód felé tartó iont, példánkon a klóriont anionnak mondják. Az egész jelenség tudományos elnevezése elektrolízis, az áramot vezető folyadék neve elektrolit. A katód és anód közös elnevezése elektród. Kísérletünkben rézlemez helyett akármilyen más fémet vagy szenet is lehet elektródokul használni.

A rézgálicoldat elektrolízise. Érdekes a rézgálicoldat villamos áramvezetése. Öntsünk az üvegkádba híg rézgálicoldatot, és beléje elektródokul ívlámpaszeneket. Izzólámpa közbeiktatásával kapcsoljuk be az egyenáramú feszültségbe. A lámpa izzik, áramvezetés van. Az áramforrás pozitív sarkával összekötött anód közelében kisebb pezsgés, tehát gázfejlődés mutatkozik, s ha egy-két perc mulva a katódot az oldatból kihúzzuk, az ívlámpaszénen szép vörös rézbevonatot látunk. Annyiban hasonló ez a jelenség a konyhasóoldat áramvezetéséhez, hogy a fémionok, ebben az esetben a vörösrézionok, ismét a katód felé vándorolnak, mert elektronhiányban szenvednek, tehát pozitív töltésűek. Míg azonban a konyhasóban levő fémionok, a nátriumionok, magukban nem mutatkoznak, mert további vegyi folyamatok indulnak meg, addig a rézgálicoldatban levő rézionok lerakódnak a katód felületére. A fémbevonatot alkotó vörösréz nyilván a rézgálicoldatból származik, s így az oldat réztartalma az áram vezetése közben egyre fogy, idő multán az oldat hígabbá válik, élénk kék színe lassanként elhalványodik. Ha azt akarjuk, hogy az oldat vörösréztartalma ne változzék, anódnak vörösrezet kell használnunk, s akkor az anód felületéről annyi vörösréz megy az oldatba, amennyi a katód felületére az oldatból kiválik.


297

Íme az ú. n. galvanikus fémbevonatok készítésének alapkísérlete.

Galvánfürdők. Jól ismeretes az iparban a galvanikus nikkelezés, krómozás, ezüstözés, aranyozás. Mindezeknek az eljárásoknak az a lényege, hogy annak a fémnek valamilyen sóját oldjuk fel vízben, amellyel a kérdéses tárgyat be akarjuk vonni. Anódnak az illető fém egy darabját használjuk, katódul pedig a bevonandó tárgyat merítjük a galvanikus fürdőbe. Rendszerint kevésbbé nemes fémből készült tárgyat, pl. vasevőeszközt vonnak be nemesebb fémmel, nikkellel, krómmal vagy ezüsttel. Maga a fémbevonat finom vékony réteg, vastagsága a milliméter kicsi törtrésze, a felhasznált anyag tömege igen csekély. Csak a fínom bevonat tartós, ilyet csak gyenge árammal lehet elérni, de hosszú időn át kell a tárgyat a galvanikus fürdőben tartani. Ha az áram erősebb, gyorsabban képződik a fémbevonat, azonban a felületről könynyen leváló durva szemcsékből áll.

Galvanoplasztika. Az elektrolízisnek másik, hasonló gyakorlati alkalmazása a dombormű-lenyomatok készítése, idegen néven a galvanoplasztika. Az eljárás az előbbihez hasonló, a domborművet kell katódnak kapcsolni, előzőleg azonban grafitos péppel kenik be, hogy felülete vezetővé váljék és a keletkező lenyomatot könnyen le lehessen szedni. A dombormű-lenyomatok rendszerint vörösrézből készülnek. Ez természetesen negatív lenyomat; a pozitív lenyomat hasonló eljárással készül. Hanglemezeket is ilyen módon sokszorosítanak.

Az elektrolízis további értékes gyakorlati alkalmazása a vegyileg tiszta fémek készítése. Különösen vörösrezet készítenek ilyen módon, s elsősorban fínom műszerek anyagául használják.

Eddig az elektroliteket úgy ismertük meg, hogy villamos feszültségbe kapcsoláskor áramot tudnak vezetni és eközben az elektródokon változások következnek be. Eléggé közismert


298

tény azonban az is, hogy vannak olyan villamos áramforrások, amelyek nagyon hasonlítanak az elektródokkal felszerelt elektrolitekhez. Ilyenek a házi csengőkhöz még itt-ott használt galvánelemek, a zseblámpaelemek és az akkumulátorok. Kérdés, van-e valami közük a megismert elektrolitikus áramvezetéshez és miért képesek maguk is villamos feszültséget szolgáltatni.

Galvánelemek. Ha higított kénsavba cinklemezt mártunk, a cink és a kénsav között villamos feszültség keletkezik, éspedig a cink negatív töltésűvé válik a kénsavoldathoz képest. A cinklemez ugyanis lassanként oldódik a kénsavban, apró részecskék mint pozitív töltésű cinkionok leválnak a lemezról és oldatba mennek. A cinklemezen fölösen maradnak vissza elektronok. Igaz, hogy a negatív töltésű lemez és a pozitív cinkionok vonzzák egymást, és egyes cinkionok vissza is vándorolnak, de helyükbe mások mennek oldatba, s egy idő mulva egyensúlyi állapot áll be. Ha pedig rézgálicoldatba vörösréz-lemezt teszünk, a rézlemez kap pozitív töltést, és az oldat válik negatív elektromossá. Ennek az a magyarázata, hogy pozitív rézionok az oldatból rácsapódnak a rézlemezre, tehát az oldatban lesz sok fölös elektron. Itt is vannak az oldatba visszakívánkozó vörösrézionok, vissza is mennek egyesek, s helyükbe mások válnak ki. Ez a két egyszerű példa mutatja, hogy fémek megfelelő oldatba mártva villamos feszültséget létesítenek. A két jelenséget egyesíteni is lehet. Tegyünk higított kénsavba egy cink- és egy rézlemezt. Azt tapasztaljuk, hogy a rézlemez az oldathoz képest pozitív töltésű és az oldat a cinkhez képest szintén pozitív töltésű, úgy, hogy a réz a cinkhez képest még inkább pozitív töltésűnek mutatkozik. A vörösrézlemez és a cinklemez között kh. 1 volt feszültség keletkezik. Az egyes fémlemezek és a folyadék közötti feszültségek ebben az esetben összeadódnak. Ez az összeállítás tehát egyszerű áramforrás, feltalálójáról Volta-féle elemnek nevezzük. Ha több Volta-féle elemet úgy kapcsolunk sorba, hogy az egyiknek


299

rézlemeze a következőnek cinklemezével legyen összekötve, akkor a feszültség, vagyis az elektromotoros erő kb. annyi volt, ahány elemet ilyen módon összekapcsoltunk. 4–5 elem sorbakapcsolásával olyan áramforrást kapunk, amely kis zseblámpát izzítani képes.

A Volta-féle elemnek az a tökéletlensége, hogy elég hamar kimerül, egyre kisebb elektromotoros erőt szolgáltat. Ennek pedig az az oka, hogy használatkor az elemnek rajta is áthaladó saját árama elektrolízissel jár együtt, és például a rézlemezen hidrogéngáz fejlődik. A rézlemezt a hidrogéngáz apró kis buborékok alakjában vonja be. Emiatt gyengül az elem elektromotoros ereje, az elem maga gördít akadályokat működése elé. Ezt a jelenséget polarizációnak nevezik. Persze hamarosan azon törték fejüket a feltalálók, hogyan lehet az elem polarizációját megszüntetni.

A házi csengőhöz használt Leclanché-féle elemre vonatkozólag ismertetjük a polarizáció ellenszerét. A Leclanché-féle elemben a folyadék szalmiáksó oldata, az elektródok cink és a réz helyett szén. A polarizációt főként a szénen lerakódó apró hidrogéngáz-buborékok okozzák. Mivel azonban a Leclanché-féle elemben a szén nem érintkezik közvetlenül az oldattal, hanem barnakőpor és szénpor keverékével van körülvéve és azzal együtt mázatlan agyaghengerbe van helyezve, a fejlődő hidrogéngázt a barnakőben levő oxigén leköti, tehát a szén felülete tiszta marad. A Leclanché-féle elem elektromotoros ereje kb. 1.5 volt. Zseblámpáink szárazeleme is lényegében Leclanché-féle elem, az elektrolit benne szalmiáksóval és valamilyen nedvszívó sóval összekevert fűrészpor.

á

Akkumulátor. Az akkumulátorban éppen a polarizációs jelenséget hasznosítjuk. Íme az emberi elme találékonysága. Ami az egyik berendezéshen káros és megszüntetéséhez különleges fogások kellenek, azt megfelelő megoldással hasznosítani tudja. Az ólomakkumulátor összeállítása a következő: higított kénsavba ólomlemezek merülnek, s a leme-


300

zeknek a kénsavval érintkező felülete ólomszulfáttá alakul át. Ha villamos feszültségbe kapcsoljuk, polarizációval átalakulnak az elektródok, a pozitív sarkkal összekötott elektród oxidálódik, rozsdabarnaszínűvé válik, míg a másik tiszta ólomfelületet kap. Az akkumulátor az így átalakult elektródokkal maga is képes áramot szolgáltatni, éspedig az előbb bevezetett ú. n. töltő árammal ellenkező irányban. Az akkumulátor elektromotoros ereje feltöltött állapotban 2 voltnál valamivel több, használat közben lassan csökken, s amikor már 1.8 voltra lecsökkent, külső áramforrással újra fel kell tölteni. Használat közben az elektródokon ismét változás áll be, éspedig mindkettőnek a felülete ólomszulfáttá alakul, amilyen feltöltés előtt volt. Az akkumulátornak becses tulajdonsága, hogy elég hosszú ideig erős áramot ad. Az akkumulátorhoz viszonyítva másféle galvánelem árama jóval gyengébb. Több akkumulátornak soros összekapcsolásávál az elektromótoros erőt is tetszés szerint megnövelhetjük. Az akkumulátorban körfolyamszerűen visszaalakuló vegyi folyamatok teszik lehetővé, hogy a villamos áram energiáját elraktározzuk.

Mágneses alapjelenségek. A mai kor emberének érthető törekvése az, hogy a mindennapi élet és a műszaki világ ezernyi sokféle villamos berendezésének legalább az alapelveit megismerje és megértse. Az eddig elmondottak nyilván nem elegendők ehhez. Eddigi tudásunk alapján meg nem értjük pl. az elektromotor működését. Ehhez további nagyon fontos jelenségcsoport, az elektromágnesség ismerete szükséges.

Jól tudjuk, hogy a mágnespatkó, vagy egyenes mágnesrúd vasat húz magához és fogva tartja. Mindkettőt m á g n e snek nevezzük. A mágnespatkó vagy mágnesrúd acélból van, viszont nincsen minden acélból készült tárgynak ilyen tulajdonsága. Egyelőre ne törődjünk azzal a rejtéllyel, hogy miképpen lesznek egyes acéltárgyak mágneses tulajdonságúak. A mágnesekkel sokféle játékosnak látszó és mégis tanulságos


301

kísérletet végezhetünk el. Függesszünk fel vékony selyemszálon mágnesrudat és hagyjuk nyugodtan magára. A mágnesrúd ide-oda leng, majd idővel megnyugszik, és mindig észak-déli irányba áll be. Eszünkbe jut a jólismert iránytű. Az se más, mint tűhegyen forgó, két végén kihegyezett vékony mágneslemez. Az iránytű is mindig az észak-déli irányt Jelzi és mindig a rendszerint kékszínű vége mutat észak felé. Érdemes a selyemszálon felfüggesztett mágnesrúdnak észak felé mutató végét valamiképpen megjelölni, mert a kísérlet bárhányszoros megismétlésekor is mindig ugyanaz a vége mutat észak felé. Végezzük el kisérletünket egy másik mágnesrúddal is, és ennek is jelöljük meg az észak felé mutató végét. Nevezzük a mágnesrúd végeit sarkoknak, s beszéljünk megkülönböztetésül északi és déli sarkról. Ha egyik mágnesrúdunk fel van függesztve, s a másikat kezünkben tartva hozzá közelítjük, azt tapasztaljuk, hogy az északi sark a déli sarkot vonzza, az északit pedig taszítja és viszont. Ezt úgy szokták röviden összefoglalni, hogy különnevű mágneses sarkok vonzzák, egynevűek pedig taszítják egymást. A vonzó, illetőleg taszító erő annál nagyobb, minél közelebb vannak egymáshoz a mágneses sarkok. Visszaemlékezhetünk arra, hogy villamos töltésű testek között is hasonló erők működnek.

Mágneses megosztás. Vegyünk elő két lágyvasrudat. Nincs közöttük semmiféle mágneses erőhatás. Függesszük fel az egyik lágyvasrudat selyemszálra, és megcsillapodása után próbáljuk hozzá közelíteni a másikat. Nem mutatkozik se vonzás, se taszítás. Ha pedig a felfüggesztett lágyvasrúdhoz mágnesrúdunknak akár északi, akár déli sarkát közelítjük, minden esetben vonzás mutatkozik. Ezt a jelenséget úgy kell magyaráznunk, hogy a mágnesrúd közelében a lágyvas is időlegesen mágnessé válik, mégpedig a mágnesrúd valamelyik sarka közelében éppen azzal ellenkező, a lágyvasrúd távolabbi végén megegyező sark keletkezik. Ezt a jelenséget mágneses megosztásnak nevezik. A lágyvasnak ez a meg-


302

osztással származó mágnessége valóban időleges, a mágnesrúd eltávolítása után mágneses szempontból ugyanolyan közömbösen viselkedik, mint eredetileg.

Mágneses erőtér. Érdekes jelenség mutatkozik, ha a mágnesrudat vasreszelékben vagy vasporban hempergetjük. Tetemes mennyiségű vasreszeléket szed fel, s alig lehet azt róla leseperni. A legtöbbet a sarkok tájékán szedi fel; mindkét sarkon valóságos szakáll képződik a vasreszelékből. Ezt a szép jelenséget is megosztással magyarázzuk: a vasreszelék minden szeme lágyvas, a mágnesrúd mellett mágnessé válik és vonzódik a mágnesrúdhoz. Az egyes lágyvasrészecskék, mint időleges mágnesek, egymást vonzzák.

Vasreszelékkel még ennél is tanulságosabb kísérletet végezhetünk. Tegyünk a mágnesrúdra fehér kartonlapot, szórjunk a kartonlapra finom rétegben vasreszeléket és kopogtassuk meg gyengéden a kartonlapot: a vasreszelék szabályos

169. kép. Mágnesrúd erőtere.


303

vonalak mentén helyezkedik el (169. kép). Ezek a vonalak nagyon hasonlítanak két különnemű villamos töltés között kialakuló villamos erővonalakhoz. Méltán nevezhetjük el őket mágneses erővonalaknak, mert a mágneses erő e vonalak mentén működik és irányítja az odatszórt vasreszeléket.

Ha sok apró iránytűt helyezünk el mágnesrúdunk közelében, az iránytűk is mindenütt az erővonalak mentén helyezkednek el (170. kép). A mágnes környezetében erők működnek, ez a tér a mágneses erötér. A mágnesrúd erővonalai a két sarkból indulnak ki, mintegy ívalakban összekötik a két mágneses sarkot. Irányt is tulajdonítanak az erővonalaknak: az északi sarkból indulnak ki és a déli felé haladnak, vagyis az erővonal mindig arrafelé irányul, amerre az odahelyezett kis iránytű északi vége mutat.

170. kép. Mágnestűk beirányulása az erővonalak mentén.

A Föld mágneses erőtere. Földünk maga is nagy mágnes; mi a Föld mágneses erőterében élünk, ezért vesz fel minden szabadon mozgó mágnes meghatározott, közel észak-déli irányt, hacsak nincs valamilyen más mágnes a közelében. A Föld mágneses erőterének tanulmányozása régi időkbe nyúlik vissza, ma is folyamatban van, és sok értékes adattal gazdagítja tudásunkat a Földről.

Villamos áram és mágnes kölcsönös hatása. A villamos áram-átjárta vezeték és a mágnes hatással van


304

egymasra. Tegyünk pl. mágnestűt áramvezető drót mellé: a villamos áram bekapcsolásának pillanatában a mágnestű kimozdul. Ha póluscserével ellenkező irányú áramot kapcsolunk be, a mágnestű is ellenkező irányban mozdul ki nyugalmi helyzetéből. Ez az erőhatás kölcsönös, mert ha pl. erős mágnespatkó sarkai közé hajlékony áramvezető drótot lógatunk, az áram bekapcsolásakor az áramvezető drót valamilyen irányban kimozdul (171. kép).

171. kép. Áramvezető kimozdulása patkómágnes erőterében.

Ellenkező irányú áram bekapcsolásakor az áramvezeték is az előbbivel ellenkező irányban mozdul ki. Az állandó mágnes és a villamos árammal átjárt vezeték kölcsönös erőhatással vannak egymásra, s amelyik közülük elmozdulhat, elmozdul. Ha mind a mágnest, mind az áramvezetéket mozgékonyan szereljük fel, mind a kettő elmozdul. Az elmozdulások irányát megállapító szabályok közül csak egyet említünk fel: ha jobbkarunkat a mágneses erőtérben mozgékonyan elhelyezett áramvezeték mentén úgy helyezzük el, hogy a villamos áram a könyöktől az ujjak felé haladjon és tenyerünk a mágneses erővonalak haladásával szembenéz-


305

zen, akkor az áramvezeték a mágneses erővonalakra merőlegesen kisujjunk irányában mozdul ki.

Még világosabban látjuk az áram-átjárta vezeték és az acélmágnes közti kapcsolatot, ha az áramvezetékből tekercset készítünk, ezt a tekercset vékony szálon felfüggesztjük, és lehetőleg erős áramot küldünk át rajta. Ha ez a felfüggesztett tekercs eléggé mozgékony, akkor éppúgy észak-déli irányban helyezkedik el, mint a felfüggesztett mágnes vagy az iránytű. Ha a felfüggesztett és áram-átjárta tekercshez acélmágnest közelítünk, a mágnes északi sarka a tekercs egyik végét vonzza, a másikat taszítja, a déli sark hatására pedig a tekercs végei éppen megfordítva viselkednek. Nyilvánvaló, hogy a villamos áram-átjárta tekercs a mágneses erők szempontjából ugyanúgy viselkedik, mint az acélmágnesrúd. A villamos áram bekapcsolásakor a tekercs egyik végén északi, a másik végén déli mágneses sark keletkezik. Ennek az a szabálya, hogy a tekercsnek azon a végén van a déli mágneses sark, ahonnan nézve az áram az óramutató járásával megegyező irányban halad (172. kép). Az áram irányának megváltoztatásakor a mágneses sarkok felcserélődnek. Íme milyen könnyű olyan szerkezetet készíteni, amelyik az acélmágnest minden tekintetben helyettesíti. Talán közelebb jutunk most már annak a rejtélynek a megoldásához is, hogyan lesz a közönséges acélrúdból mágnes.

Mágnesezés villamos árammal. Tegyünk az áramvezetó tekercs, az ú. n. szolenoid belsejébe nem mágneses acélrudat és kapcsoljuk be egy időre a villamos áramot. Az acélrúd mágnessé válik és mágnességét az áram kikapcsolása után is megtartja. Villamos árammal tehát mágnest lehet készíteni. Lehet ugyan másként is készíteni, éspedig úgy, hogy mágnesrúd egyik sarkát többször egymásután mindig ugyanabban az irányban végighúzzuk a mágnesezendő acélrúd felületén. Az árammal való mágnesezés azonban kényelmesebb és hatásosabb, különösen akkor, ha erős árammal többször vé-


306

gezzük a felmágnesezést. Az acélrúd természetesen a szolenoid sarkainak megfelelően kap északi és déli mágneses sarkot.

Elektromágnes. Az áramvezető tekercs belsejében a lágyvasrúd is mágnessé válik, de csak időlegesen, amíg áram halad a tekercsben. Az áram kikapcsolásának pillanatában a lágyvasrúd mágnessége is megszűnik. Könnyű belátni, hogy a szolenoid belsejébe helyezett lágyvasrúdnak ez a viselkedése különösen jól értékesíthető. Mintegy parancsszóra, akaratunktól függően pillanat alatt mágnessé válik, majd elveszíti mágnességét. Ha arra gondolunk, hogy a lágyvassal mint időleges mágnessel erőhatásokat fejthetünk ki, és tapasztalásunk szerint ezt az erőhatást tetszés szerinti pillanatban létesíthetjük, máris bepillanthatunk azoknak a gyakorlati lehetőségeknek

172. kép.       173. kép.
Áramvezető tekercs és mágneses erőtere.


307

széles birodalmába, amelyek ezt az egyszerű berendezést használják fel. Érdemes ennek az áramvezető tekercsből és beléje tett lágyvasrúdból Alló egyszerű berendezésnek külön nevet adni: elektromágnes.

Áramvezető tekercs mágneses erőtere. Ha az áramvezetö tekercs mágneses terét vasreszelékkel megvizsgáljuk, természetesen az acélmágnesrúd erőteréhez hasonlónak találjuk. Ehhez a vizsgálathoz célszerű a fehér kartonlapot a tekercs meneteinek megfelelően átlyukasztani és s dróttekercset azokon átfűzni. Ekkor a kartonlap a tekercs tengelyén megy át, és vasreszeléket tudunk szórni a tekercs belsejébe is. A vasreszelék a tekercs belsejében nagyjából a tekercs tengelyével párhuzamos, egyenes vonalak mentén rendeződik el. Ezek a vonalak a tekercsen kívül ív alakban folytatódnak és a tekercs másik végéhez visszatérnek (173. kép). A mágneses erővonalak a tekercs belsejében sokkal sűrűbbek, mint a tekercsen kívül. Ez azt jelenti, hogy a mágneses erőtér a dróttekercs belsejében a legerősebb. Önként vetődik fel itt az a kérdés, mi van a belső erővonalakkal akkor, ha a dróttekercs belsejében akár acélrúd, akár lágyvasrúd van. Az erővonalak kétségkívül behatolnak az acélrúd vagy lágyvasrúd belsejébe is, de ott nem tudjuk őket vasreszelékkel szemlélhetővé tenni. Okunk van azt állítani, hogy ott még sokkal sűrűbb az erővonalrendszer, mint a levegőben. Ezt bizonyítja, hogy a lágyvassal felszerelt szolenoid, szokásos kifejezéssel a vasmagos tekercs, ugyanolyan erősségű árammal nagyobb erőhatásokra képes, mint a lágyvasnélküli tekercs.

Egyszerű vezeték mágneses erőtere. Érdeklődésre tarthat számot az egyszerű áram-átjárta vezeték mágneses erőtere. Ezt úgy lehet kísérletileg megvizsgálni, hogy vastag áramvezeték hosszabb egyenes darabját függőlegesen szereljük fel, és vízszintes helyzetű fehér kartonlapot dugunk át rajta. Ezután erős áramot kapcsolunk be, vasreszeléket szórunk a kartonlapra és megkopogtatjuk. Az egyenes vezeték-


308

közelében a vasreszelék a vezetéket körülvevő egyközepű körökben rendeződik el, s a kartonlapra helyezett kis mágnestű bárhol olyan kör érintőjének irányába áll be, amelynek középpontján megy át a vezeték. Az erővonalak irányát a jobbmenetű csavarszabály adja: gondoljuk el, hogy valamilyen csavar a villamos áram irányában halad előre, ekkor a csavar forgatásának iránya jelzi a mágneses erővonalak irányát.

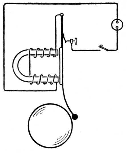
174. kép. Villamos csengő.

Rengeteg sok gyakorlati eszköz-ben találunk elektromágnest. Csak néhányat említünk: villamos csengő, távíró, különféle jelzőberendezések, elektromágneses emelődaru stb. Lássuk például közelebbről a villamos


309

csengő működését. Igen egyszerű berendezés: rendszerint két elektromágnesből áll egymás mellett és az elektromágnesek vasmagjai előtt rugalmas acélpántra erősített lágyvaslemez van (174. kép). Az acélpánt kis nyúlványával egy beállítható csavar hegye érintkezik. Az áram útja a következő: az áramforrásból a csengő gombján mint áramkapcsolón át jut az elektromágnesek tekercseibe, onnét a rugalmas acélpánton át a csavarhoz és vissza az áramforráshoz. A kapcsolás pillanatában az elektromágnes vasmagja mágnessé lesz, magához rántja a lágyvaslemezt, erre azonban a csavar hegyénél megszakad az áram, megszűnik a vasmag mágnessége, a lágyvaslemezt a rúgó visszarántja eredeti helyzetébe, s így újra érintkezik a csavar hegyével, ismét van áram, s az egész folyamat megismétlődik. Az áramnak egymás után következő gyors be- és kikapcsolása önműködően mindaddig folytatódik, míg az összeköttetést az áramforrással meg nem szakítjuk. Ez a most leírt berendezés tulajdonképpen önműködő gyors áramszaggató. Ebben a kivitelben berregőnek is szokták nevezni és használják tompított hangú jelzésre. Csengővé úgy alakítjuk át, hogy a lágyvaslemezre rászereljük a csengő ütőgombját és melléje erősítjük a csengő harangját. Az ütőgomb minden egyes szaggatáskor egyet üt a csengő harangjára.

Távíró. A Morse-féle távírókészüiék leglényegesebb alkotórésze szintén elektromágnes. A függőleges helyzetű elektromágnes fölött emelőhöz erősített lágyvaslemez van. Ezt a lemezt rúgó tartja bizonyos távolságban az elektromágnes vasmagjától. Az adóállomáson bekapcsolt áram átmegy az elektromágnes tekercsén, az magához rántja az emelőkart és ilyen módon írókészüléket hoz működésbe.

Elektromotor. Az elektromos áram és a mágnes kölcsönös hatásán alapul az elektromotor. Működésének megértése céljából gondoljunk el acél patkómágnest és annak sarkai között forgathatóan felszerelt keretalakú áramvezetőt. A 175. képen a mágneses erővonalak függőleges irányúak, az


310

175. kép. Patkómágnes sarkai között forgó áramvezető keret.

áramvezető keret forgástengelye vízszintes. Az áramot a forgástengelyen levő, egymástól elszigetelt fémgyűrűk és a hozzájuk simuló ú. n. kefék segítségével vezetjük be a keretbe. Ha a keret síkja, mint a rajz feltünteti, függőleges helyzetű, a mágnes és áram kölcsönös hatása következtében a keret a oldala az irányszabály értelmében kifelé, b oldala pedig befelé mozdul ki. Amikor a keret félfordulatot megtett, vagyis az a és b oldalak egymással helyet cseréltek, a mozgásnak visszafelé kell bekövetkeznie, mert az a oldalon most ellenkező irányban halad az áram, mint a b oldalon. Ilyen berendezéssel folytonos, egyirányú forgás nem jöhet létre. Ehhez az szükséges, hogy az áram iránya a vezető keretben félfordulatonként megváltozzék. Az áram irányának megváltoztatását félfordulatonként a kommutátor végzi. Ha az előbb említett két elszigetelt fémgyűrű helyett két egymástól elszigetelt félhengert szerelünk a tengelyre (178. kép), s a kerék e félhengerekhez simulva vezetik be az áramot akkor félfordula-


311

tonként megváltorik a keretben az áram iránya és így az áramvezető keret folytonos forgást végez. Mint a képen látható, a kommutátor szigetelőinek síkja az áramvezető keret síkjára merőleges.

176. kép. Kommutátor áramvezető kefékkel.

Acélmágnes helyett célszerűbb az elektromágnes használata, mert megfelelő erősségű árammal erősebb mágneses erőteret kapunk. A külső áramot az elektromágnes tekercsén és a forgó drótkereten is át kell vezetni. A gyakorlatban használatos elektromotorok még abban is különböznek az itt ismertetett egyszerű szerkezettől, hogy a forgó rész nem egyszerű keret, hanem tekercsek rendszere. Az egyes tekercsek síkjai különböző szögeket zárnak be egymással, ezért mindegyik tekercshez az áram irányának megváltoztatására egy-egy kommutátor kellene. A sok kommutálor egyesítése a kollektor, a tekercsek számának megfelelő számú, egymástól elszigetelt és henger felületén sorakozó fémszelet (177. kép). Az árambevezető kefék a kollektor szeleteihez simulnak, és az egyes


312

tekercsekben egymásután, mindig a kellő pillanatban változtatják meg az áram irányát.

177. kép. Elektromotor kollektora.

Az elektromotor arra való, hogy a villamos áram energiáját forgó mozgás energiájává alakítsa át. Ez az átalakítás aránylag kevés veszteséggel jár. Az elektromotor nagy gyakorlati jelentőségét nem szükséges külön kiemelni: minduntalan találkozunk vele háztartásunkban, az iparban, közlekedési eszközökben egyaránt.

Árammérő készülékek. Nagyon sok villamos mérőkészülék is az áram és a mágnes kölcsönös hatásán alapul. Leggyakoribb a forgótekercses mérőkészülék, elvben és kivitelben ahhoz az egyszerű berendezéshez hasonlít, amelyet az elektromotor működésének leírásában ismertettünk (175. kép). Erős acélmágnes sarkai között rendszerint sokmenetes áramvezető tekercset szerelnek fel forgathatóan. Kommutátor ide nem kell, mert a tekercs kevéssé fordul el. A forgó tekercshez erősített spirális rúgó a forgást akadályozza, s így a tekercsen átvezetett áram forgató hatása a rugalmassági erővel tart egyensúlyt. Minél erősebb az áram, annál nagyobb a tekercs elfordulása. A tekercshez könnyű mutató tartozik s a mutató osztályzaton jelzi a tekercs helyzetét. Változtatható ellenállások segítségével tudunk 2-szer, 3-szor, 4-szer stb. erősebb áramot átvezetni, s ennek alapján tapasztalati osztályza-


313

tot készíteni. Annak is megvan a módja, hogy éppen 1 amper, vagy 1 milliamper erősségű áramot vezessünk át, s ilyen módon az osztályzatot amperekben vagy annak törtrészeiben készítsük el. Ellenkező irányú áram bekapcsolásakor a műszer mutatója az ellenkező irányban mozdul ki.

Nagyon gyenge áramok mérésére úgy készítik az árammérő műszert, hogy az áramvezető tekercset acélmágnes sarkai között vékony fémszálon felfüggesztik. Az átvezetett áram forgató hatása a vékony szál rugalmasságával tart egyensúlyt. Az ilyen nagyon érzékeny műszer tekercsének elfordulása olyan kicsi, hogy mutatóval sem lehet láthatóvá tenni. Ehelyett a tekercsre tükröt erősítenek, és a tükörről visszavert fénysugarat használják mutatónak. Ilyen érzékeny műszerrel az amper milliárdodrészét is meg lehet mérni.

Az áram mágneses hatásán alapuló másféle árammérő műszer a lágyvaskészülék. Sokmenetű hosszúkás áramvezető tekercs belsejébe spirális rúgóra függesztett lágyvasrúd nyúlik be. Ha áramot vezetünk át a tekercsen, a mágneses erőtér a lágyvasat jobban behúzza a tekercs belsejébe. Egészen is behúzná, ha a spirális rúgó vissza nem tartaná, tehát itt a rugalmassági erő egyensúlyozza a villamos áram hatását. A lágyvasrúd elmozdulását kis emelőszerkezettel viszik át tapasztalatilag készült osztályzat mellett mozgó mutatóra.

Nagyon sok árammérő műszer az áram hőhatásán alapul. Az ilyen műszer legfontosabb alkotórésze kifeszített vékony fémdrót. A dróton átvezetett villamos áram hőhatása a drótot meghosszabbítja, s ezt a megnyúlást alkalmas szerkezet tengely körül elforduló mutatóra viszi át. Ezt a készüléket hődrótos árammérő műszernek nevezik. Természetesen csak olyan erősségű áramot vezethetünk át a hődrótőn, amely észrevehető megnyúlást okoz, de a drótot még csak gyengén sem izzítja. Tudjuk azonban, hogy megfelelően méretezett söntellenállás párhuzamos kapcsolásával műszerünket


314

erősebb áram mérésére is berendezhetjük. A hődrótos árammérő műszer osztályzata is tapasztalatilag készül.

A most felsorolt eszközöket ampermérőknek is nevezik, mert osztályzatuk ampert, annak törtrészeit, esetleg sokszorosait jelenti. Ezek a műszerek áramerősséget mérnek, s így természetesen méréskor a műszert abba az áramkörbe kell közvetlenül sorba bekapcsolni, amelynek áramerősségét meg akarjuk mérni.

Voltmérők. A mérőkészülékek kapcsolási módja. A gyakorlati életben sokszor találkozunk voltmérőkkel. Pl. kapcsolótáblákon többnyire egymás mellé szerelik az ampermérőt és a voltmérőt. Ha ampermérőt és voltmérőt szétbontanánk, szerkezetükben alig találnánk különbséget. Valóban minden ampermérő használható voltmérőként,


315

Vagyis villamos feszültség mérésére, csak másként kell kapcsolni. A villamos feszültséget mindig az áramkör két pontjára vonatkoztatjuk, a két pont közötti feszültségről beszélünk. Ha az áramkörnek valamelyik két pontja közé elágazásként akármilyen árammérő műszert kapcsolunk, a műszer mutatójának kimozdulása a két pont közti feszültséggel arányos, mert az árammérő elágazásának áramerőssége is arányos a két elágazási pont közti feszültséggel. A voltmérőt tehát mindig elágazásba, vagyis párhuzamosan kell kapcsolni. A 178. kép mutatja az ampermérő és a voltmérő kapcsolásának módját. Az ampermérő sorba, a voltmérő pedig párhuzamosan van kapcsolva egy izzólámpához.

178. kép. Ampermérő és voltmérő kapcsolása.

Megfontolandó azonban, vajjon nem változtatják-e meg az áramviszonyokat az így bekapcsolt mérőkészülékek. Ez hasonló ahhoz a kérdéshez, nem változtatja-e meg egy pohár meleg vízbe tett hőmérő a víz hőmérsékletét. Készítenek nagy hőmérőket különleges célra, s ha ilyen nagy hőmérő edényét mártanók a meleg vízzel telt pohárba, a hőmérő felmelegszik, észrevehetően lehűti a vizet, és a mért hőmérséklet mindenesetre [mindenképpen] alacsonyabb a víz eredeti hőmérsékleténél. A pohár víz hőmérsékletét olyan kis hőmérővel mérhetjük helyesen, amely csak kevéssé hűti le a vizet. A hőmérő példájához hasonlóan a bekapcsolt mérőkészülékeknek sem szabad az áramerősséget észrevehetően megváltoztatniok. Ezért a sorba kapcsolt ampermérőnek az áramkör többi ellenállásához viszonyítva kis ellenállásúnak kell lennie, mert kis ellenállás hozzáadása a meglevő nagy ellenálláshoz alig változtatja meg az áramerősséget, feltéve, hogy közben az áramforrás elektromotoros ereje változatlan marad; ha hálózati feszültséget, vagy akkumulátort használunk áramforrásul, ez a feltétel teljesül.

Mivel a voltmérőt párhuzamosan kapcsolják, a voltmérőnek viszont lehetőleg nagy ellenállásúnak kell lennie, mert nagy ellenállás párhuzamos kapcsolása majdnem egyértelmű azzal, mintha semmit sem kapcsoltunk volna be. Íme a kap-


316

csolás módján kívül is van eltérés az ampermérő és a voltmérő között: az ampermérőt kicsi, a voltmérőt nagy ellenállásúra kell készíteni. Nem szükséges azonban, hogy pl. a forgó tekercses voltmérő tekercse legyen nagy ellenállású, lehet a hagy ellenállást a készülék elé csa[uhű. Ilyen módon bármilyen ampermérőből nagy ellenállású vezeték eléjecsatolásával voltmérőt készíthetünk, természetesen voltokra szóló külön osztályzatot kell hozzá készíteni.

Visszatérve a képen feltüntetett izzólámpás áramkörre, bekapcsolt műszereink segítségével meg tudjuk mérni, hány volt feszültséget használ fel s hány amper erősségű áramot fogyaszt az izzólámpa. A voltok és az amperek szorzata, mint tudjuk, az áram teljesítményét adja wattokban, s ha ezt még az időtartammal is megszorozzuk, az áram munkáját kapjuk. Ilyen módon a villamos áram fogyasztásának megállapításához ampermérőre, voltmérőre és még órára is szükség volna, holott köztudomás szerint lakásunk áramfogyasztását egyetlen műszer jelzi. A kétféle villamos műszer és az óra egyesítésének többféle módja van, s minden áramfogyasztásmérő ezt a három műszert pótolja.

Az indukált áram alapjelenségei. Csak rövid futó pillantást vetettünk az elektromágnesség jelenségeire s mégis alkalmunk volt látni, milyen sokféle tudományos jelentősége és gyakorlati alkalmazása van. Jegyezzük meg, hogy csak akkor van a villamosság és a mágneses tér között kölcsönös hatás, ha a villamos töltés mozgásban van, áramlik. A nyugvó villamosság, tehát pl. egy szigetelt vezető töltése és a közelében levő mágnes semmiféle hatással nincsenek egymásra. Tudjuk, hogy akkor van villamos áram, ha az elektronok rendezetten vándorolnak, mozognak. Tehát mozgó elektronok és mágneses erőtér között kölcsönhatás van.

A villamos áram és a mágneses erőtér közti kapcsolattal sokat foglalkozott FARADAY Az elektromágnesség alaptörvé-


317

nyei abban az időben már ismeretesek voltak s úgy látszott, hogy a tudományos világ mindent megismert ebben a jelenségcsoportban. FARADAY elméjében mégis évtizedeken át az a gondolat kísértett, hogy e jelenségeknek valamiképpen megfordíthatóknak kell lenniök: ha villamos árammal mágneses erőteret lehet létesíteni, miért ne lehetne mágnessel villamos áramot kelteni? Azt beszélik róla, hogy évek hosszú során át zsebében hordott egy mágnest és egy dróttekercset. Erős meggyőződése volt, hogy ezen a téren valamilyen nagyon fontos fizikai törvényszerűség rejtőzik és hogy annak felfedezéséhez alig kell egyéb, mint a zsebében hordott mágnes és dróttekercs. Bizonyára sokszor próbált velük kísérletet, míg végre 1831-ben valóban ezekkel az egyszerű eszközökkel találta meg az indukált áram alaptörvényét. A korszakalkotó jelentőségű alapkísérlet abból állott, hogy a dróttekercshez áramjelző készüléket csatolt és az acélmágnest a tekercsben ide-oda mozgatta. Bárki könnyen elvégezheti FARADAY alapkísérletét (179. kép). Ha acélmágnest árammérő műszerrel összekötött dróttekercsbe tolunk be, a készülék mutatója rövid időre kimozdul, azután

179. kép. Indukált áram keltése acélmágnessel.


318

ismét zérus helyzetébe tér vissza. Tehát pillanatnyi áramlökés mutatkozik az áramkörben, az elektronok rövid időre rendezett mozgásnak indulnak. Ha az acélmágnest a tekercsből kihúzzuk, az előbbivel ellenkező irányú pillanatnyi áramlökést mutat a készülék. Célszerű ehhez a kísérlethez olyan áramjelző készüléket használni, amelynek mutatója kétféle irányban térhet ki, zérusállása tehát középen van. Azt is megfigyelhetjük, hogy a mutató kimozdulása annál nagyobb, tehát a keletkező áramlökés annál erősebb, minél gyorsabb a mágnes mozgatása. Ugyanilyen jelenségeket tapasztalhatunk akkor is, ha a tekercset mozgatjuk a mágnesrúdhoz viszonyítva; lényeges az áramvezetőnek és a mágnesnek kölcsönös elmozdulása.

180. kép. Indukált áram keltése elektromágnessel.

Az indukált áram létesítésének még sokféle más módja van. Állandó acélmágnes helyett elektromágnest is mozgathatunk áramvezető tekercs közelében (180. kép). Az elektromágnes gerjesztéséhez természetesen külön áramforrás szükséges. Mivel itt két tekercs szerepel, megkülönböztetésül az elektromágnes tekercsét elsőlegesnek (primérnek), a másikat másodlagosnak (szekundérnek) nevezzük. Az indukált áram a másodlagos tekercsben keletkezik. Indukált áramlökések vannak a másodlagos áramkörben


319

akkor is, ha az elsőleges áramot be- vagy kikapcsoljuk, éspedig ekkor az áramlökések egymáshoz képest ellenkező irányúak. Az áram bekapcsolásakor hirtelen mágneses erőteret létesítünk a másodlagos tekercs közelében, s ennek ugyanaz a hatása, mint az állandó mágnes betolásának. Az elsőleges áram kikapcsolásakor megszűnő mágneses erőtér ugyanazt eredményezi, mint az acélmágnes kihúzása a tekercsből. Az elsőleges áram erősségének változtatása is áramot gerjeszt a másodlagos tekercsben. Célszerű ezt a kísérletet úgy elvégezni, hogy a két tekercs egymáson belül legyen, természetesen mindenféle vezető érintkezés nélkül. Az elsőleges


320

181. kép. Indukálás az áramerősség változtatásával.

áramkörbe változtatható ellenállást (tolóellenállást) kapcsolunk be (181. kép). Az elsőleges áramkör ellenállásának változtatásakor változik az áramerősség – ugyanakkora elektromotoros erő esetén – és viszont. Azt tapasztaljuk, hogy az elsőleges áram erősítésekor ugyanolyan irányú áramlökést kapunk a másodlagos áramkörben, mint az elsőleges áram bekapcsolásakor, vagy az elsőleges tekercs közelítésekor.

182. kép. Az indukált áram iránya

Ehhez képest ellenkező irányú az áramlökés az elsőleges áram gyengítésekor, kikapcsolásakor, illetőleg az elsőleges tekercs távolításakor. A jelenség szempontjából mindegy, van-e vasmag a tekercsekben, vagy nincs; vasmaggal a hatás nagyobb.

Elmélkedjünk egy kissé ezeken az alapjelenségeken. Bármelyik előbb ismertetett kísérletnek az a lényege, hogy vala-


321

milyen áramvezetőben elektronok jönnek rendezett mozgásba akkor, ha közelében a mágneses erővonalakban valamilyen változás áll be. Ez nyilván: az elektromágnesség alapjelenségének megfordítása, hiszen ott az elektronok mozgása keltett mágneses erőteret. Mivel áram nincsen feszültség nélkül, az indukció alaptörvényét úgy is kifejezhetjük, hogy, ha áramvezető környezetében a mágneses erőtérben változás áll be, az áramvezetőben indukált elektromotoros erő lép fel. Az indukált elektromotoros erő annál nagyobb, minél nagyobb a mágneses erőtér időbeli változása.

Az indukált áram iránya. Nemcsak tekercsben lehet áramot létrehozni. Egyszerű áramvezetőhöz kapcsoljunk lehetőleg érzékeny árammérő műszert, és mozgassuk az áramvezető egy darabját erős patkómágnes sarkai között vagy elektromágnes előtt (182. kép). Ebben az esetben is indukált áramlökéseket kapunk. Az elektronok a mozgatott vezetődrót ban rendezett mozgásba jönnek, tehát itt is van indukált elektromotoros erő. Érdemes ebben a leegyszerűsített kísérletben az indukált áram irányát szemügyre venni. Érdekes megfigyelés, hogy, ha az egyenes vezetődarabot a mágneses erővonalakkal párhuzamosan mozgatjuk, akkor nem keletkezik áram. Legnagyobb a hatás akkor, ha az áramvezető a mágneses erővonalakra merőleges, és a mozgatás iránya mindkét irányra merőleges. Tehát három egymásra merőleges iránnyal van dolgunk. Kellő értelmezéssel alkalmazhatjuk a már ismert jobbkar-szabályt. Helyezzük el jobbkarunkat az egyenes vezetődarab irányában úgy, hogy tenyerünk arra forduljon, ahonnan – az északi mágneses sark felől – a mágneses erővonalak jönnek, hüvelykujjunk mutassa a mozgás irányát, ekkor az indukált áram könyöktől az ujjak felé halad. Az áram irányán mindig a negatív töltésű elektronok haladásával ellenkező irányt értjük, tehát az előbbi esetben az elektronok jobbkarunk könyöke felé mozognak.


322

Vajjon milyen volna az indukált áram mágneses hatásábél származó elmozdulás? A jobbkar-szabály azt mondja, hogy az előbb leírt beállítás esetén a mozgékony áramvezetőnek kisujjunk felé, vagyis a tényleges mozgatással ellenkező irányban kellene elmozdulnia. Ez azt jelenti, hogy az indukált áram mágneses hatása akadályozni igyekszik azt a mozgást, amely az indukált áramot létrehozza. Ilyen egyszerű kísérletben persze nem érezzük, hogy valami visszatartani igyekszik a megmozdított vezetőt, mert kis erőről van szó. Megismerkedünk majd olyan jelenséggel, amelyben ez a mozgásgátlás igen feltűnő.

Örvényáramok. Amikor villamos áramról van szó, a berendezést el sem tudjuk gondolni drótvezetékek nélkül. Az indukált áram keletkezése azonban nincsen éppen drótvezetékekhez kötve. Mozgassunk akármilyen tömör fémdarabot mágneses erőtérben. Nyilván akkor is megmozdulnak a fémben levő szabad elektronok, és villamos áram keletkezik. Az ilyen áram tömör vezetőn belül záródik. A tömör vezetőkben keletkező indukált áramot örvényáramnak nevezik.

Örvényárammal magyarázható a következő érdekes kísérlet. Állítsunk össze olyan ingát, amelynek nehezéke tömör vörösrézlemez. Szereljük fel az ingát erős elektromágnesre úgy, hogy a vörösrézlemez lengés közben a patkóalakú elektromágnes sarkai közti szűk térben mozogjon (183. kép). Indítsuk el az ingát, azután kapcsoljuk be az elektromágnes gerjesztő áramát. Az inga nyomban megáll. Olyan a jelenség, mintha valamilyen láthatatlan kéz megállította volna az ingát. A mozgás hirtelen lefékeződését azzal magyarázzuk, hogy a tömör rézlemezben a mágneses erőtérben végzett mozgása közben örvényáramok keletkeznek s, mint már egy esetben láttuk, az indukált áramok mágneses hatása fékezi az áramot létesítő mozgást. A fékező hatás ebben a kísérletben azért olyan nagy, mert erős a mágneses tér, és igen erősek az örvényáramok is, hiszen a tömör vezetőnek igen csekély az ellenállása.

183. kép. Az indukált áram fékező hatása.


323

Az indukált árammal együttjáró fékező hatás tulajdonképpen az energia-megmaradás törvényének következménye. Az indukált áramnak mindig olyan irányúnak kell lennie, hogy akadályozza az indukált áramot létesítő változást, mert ha elősegítené a vállozást, akkor magától egyre erősebbé válnék az indukált áram, és így csak éppen meg kellene indítani az áramot keltő változást, azután megállás nélkül menne minden magától. Energiát kapnánk a semmiből. Az indukált áramot létesítő változás többféle lehet: mágnes vagy elektromágnes mozgatása, mágneses erőtér létesítése vagy megszüntetése, erősítése vagy gyengítése. Az energia megmaradásának elve


324

mindegyik esetben pontos utasítást ad a keletkező áram irányára nézve. LENZ alkalmazta az energia megmaradásának elvét az indukált áram irányának megállapítására.

Indukált áram nemcsak külön erre a célra összeállított készülékekhen vagy műszaki berendezésekben keletkezik, hanem mindennapos jelenség. Ha például bármilyen fémtárgyat viszünk, felemelünk vagy leejtünk, benne örvényáramok keletkeznek, mert, bár nincs valamilyen mágnes a közelben, mindig jelen van Földünk mágneses erőtere. Igaz, hogy a Föld mágneses erőtere aránylag gyenge, s így az indukált örvényáram sem erős, gyakorlati jelentősége nincsen, de elvileg mindig van ilyenkor indukált áram. Ha nagy átmérőjű és igen sok menetű dróttekercshez érzékeny árammérő műszert kapcsolunk, és a dróttekercset a Föld mágneses terében ide-oda mozgatjuk, vagy a menetek síkjába eső tengely körül forgatjuk, észrevehető áramlökéseket kapunk. Csak akkor nem keletkezik áram, ha a forgástengely éppen egybeesik a Föld mágneses erejének irányával. Ezt az indukciós módszert felhasználják a földmágneses erő irányának megállapítására.

Hasonló körülmények között dróttekercsben nagyobb az indukált elektromotoros erő, mint egyenes vezetékben vagy vezetőkeretben. A dróttekercsben indukált elektromotoros erő a tekercs meneteinek számával arányos, mert a mágneses erővonalak mindegyik meneten áthatolnak, és így mindegyik menetben külön-külön létesítenek indukált elektromos erőt, ezek az elektromotoros erők pedig összeadódnak. A dróttekercs egyes menetei az indukált elektromotoros erő szempontjából úgy viselkednek, mint a sorba kapcsolt akkumulátorok.

Váltóáram keletkezése. Az eddigiek alapján joggal vethető fel az a kérdés, van-e egyáltalán gyakorlati jelentőségük azoknak a pillanatnyi áramlökéseknek, amelyeket a mágneses erőtér változtatásával kapunk. Valóban korszakalkotó jelentősége van FARADAY felfedezésének? Még távolról sem látjuk az indukált áram alapjelenségeinek kapcsolatát


325

a hatalmas elektrotechnikai vívmányokkal. Hogy ennek megértéséhez közeledjünk, menjünk vissza FARADAY legegyszerűbb indukciós kísérletéhez. Van tehát áramjelző műszerrel összekapcsolt dróttekercsünk és mágnesrúdunk. Végezzük a mágnes mozgatását ezáltal kissé rendszeresebben: felváltva toljuk be a mágnesrudat a tekercsbe és húzzuk ki belőle, s ismételjük ezt a műveletet sokszor egymásután. Mérőkészülékünk mutatója hol balra, hol jobbra tér ki, tehát a tekercsben szabályosan váltakozó időközökben egymással ellenkező irányú áramlökések keletkeznekt. Íme a váltakozó áramnak, vagy rövidebben váltóáramnak legegyszerűbb esete. Mi történik ilyenkor a drótban levő szabad elektronokkal? Egyik pillanatban parancsot kapnak arra, hogy meghatározott irányban mozduljanak el s ezt a parancsot tüneményes sebességgel teljesítik; ennek következtében a vezeték egyik végén elektronbőség, a másik végén elektronhiány kezd mutatkozni. Nyomban ezután a kiadott paranccsal homlokegyenest ellenkező parancs hangzik el: legyen az elmozdulás iránya az előbbivel ellenkező! Ennek az a következménye, hogy ahol előbb elektronbőség volt, ott most elektronhiány lesz és viszont. Majd ismét az első parancs ismétlődik meg, és így tovább. Szegény elektronhadsereg pillanatról pillanatra teljesíti a váltakozó parancsokat. A parancsok végrehajtása mérhetetlen rövid idő alatt követi a parancsok kiadását. Ez a váltóáram mechanizmusa. Az az áram, amellyel eddig foglalkoztunk, s amelyben az elektronok mindig ugyanazon irányban menetelnek, az egyenáram.

Váltóáramot kaphatunk a két tekercsból álló berendezésben is. Az elsőleges áram erősségét a változtatható tolóellenállás segítségével szabályos időközökben erősítsük és gyengítsük, vagy pedig szabályos időközökben egymásután kapcsoljuk be és ki az elsőleges áramot; mindkét esetben a másodlagos áramkörben váltóáram keletkezik. Mivel ezt a szabályo-


326

san ismétlődő műveletsorozatot kényelmetlen hosszabb időn át kézzel végezni, bízzuk azt valamilyen szerkezetre.

Az induktor. Ismerjük már az elektromágneses szaggatót, ez éppen arra való. Kapcsoljunk be tehát az elsőleges áramkörbe elektroniágneses szaggatót, pontosan elvégzi munkáját és a másodlagosban váltóáramot kapunk. A másodlagos áramkör váltóárama abban az ütemben váltakozik, ahogyan az elsőleges körben a szaggató dolgozik. Ennek az összeállításnak induktor a neve. Az induktor áramot ad áram árán, mert az elsőlegesben áramforrásnak, pl. akkumulátornak, kell lenme. Tulajdonképpen az egyenáramot váltóárammá alakítja át, mégpedig rendszerint jóval nagyobb feszültségű árammá, mint az elsőleges áram. Lehet az induktort úgy megszerkeszteni, hogy a másodlagos tekercsben gerjesztett elektromotoros erő igen jelentékeny. Ha ilyenkor a másodlagos tekercs drótvégei egymástól bizonyos távolságban szabadon vannak, folytonosan villamos szikra üt át a drótvégek között, s így a szikra maga zárja a másodlagos áramkört. Tudjuk már, hogyan lehet a keltett elektromotoros erőt növelni: minél inkább szaporítsuk a másodlagos tekercs meneteinek számát és fokozzuk az elsőlegesben a másodpercenkénti szaggatások számát. Az elektromágneses szaggatónak sokkal nagyobb a tehetetlensége, semhogy másodpercenként 10–20-nál többször tudjon szaggatni, ezért nagy induktorok elsőleges áramkörében másféle szaggatókat használnak. A Wehnelt-féle elektrolitikus áramszaggatóval pl. másodpercenként 2000 szaggatás is elérhető.

A váltóáram időbeli lefolyása. Váltóáramot még másféle módon is kaphatunk. Széles patkómágnes sarkai között a mágneses erővonalak a két sarkot kötik össze és nagyjából egyenes vonalak. Ugyanilyen a mágneses erőtér a kétszárú elektromágnes sarkai között is, ha az elektromágnes két szára ellentétes tekercselésű, és így az áram bekapcsolása után különnevű sarkok keletkeznek. Szereljünk fel ilyen ú. n. homogén mágneses erőtérben, tehát pl. elektromágnesünk sarkai


327

között forgathatóan valamilyen áramvezető keretet. A forgástengely legyen merőleges a mágneses erővonalakra. Az áramvezető akármilyen alakú lehet, akár négyszögletű, akár köralakú, teljesen mindegy. Az áramot a forgástengelyre szerelt, egymástól elszigetelt fémgyűrűk és kefék segítségével szedjük le, mint az elektromotor magyarázatakor ismertettuk (175. kép). Az áramvezető keretet árammérő műszerrel kapcsoljuk össze. Az elektromágnes állandóan gerjesztve van, tehát a mágneses erőtér mindig rendelkezésünkre áll. Ha az áramvezető keret síkja az erővonalakkal párhuzamos, akkor egyetlen mágneses erővonal sem megy át az áramvezetőn. Legtöbb erővonal akkor hatol át a kereten, ha síkja az erővonalakra merőleges. Egyenletes forgatás közben folytonosan változik az áramvezető keretet átszelő mágneses erővonalak száma, ezért az áramvezető keret forgatásának indukált áram a következménye. Mivel akkor változik leginkább az áthaladó erővonalak száma, amikor a keret az erővonalakkal párhuzamos, ebben a helyzetben az indukált elektromotoros erő a legnagyobb, bár az áthaladó erővonalak száma ilyenkor a legkisebb.

Egy teljes körülfordulás alatt az áramvezető keret kétszer kerül ilyen helyzetbe, ez a két helyzet azonban a mágneses erőtérhez viszonyítva különböző. Ezért a két helyzetben az indukált elektromotoros erők ellenkező irányúak, s így egy teljes körülforduláskor két ellenkező irányú áramlökést kapunk a keretalakú áramvezetőben. Ha a forgatást egyenletesen végezzük, akkor az indukált elektromotoros erő és egyúttal az indukált áram időbeli lefolyása a keretnek az erővonalakra merőleges helyzetéből kiindulva egy teljes körülfordulás alatt a következő: az elektromotoros erő, illetve az áramerősség fokozatosan növekedik, legnagyobb értéket vesz fel, majd fokozatosan csökken zérus értékig, ezután ellenkező irányban növekedik fokozatosan, ellenkező irányú legnagyobb értéke után fokozatosan csökken zérusig. A 184. kép a szokásos grafikus


328

eljárással szemlélteti az indukált elektromotoros erő időbeli lefolyását: a vízszintes vonalon az idővel, a függőleges vonalon az elektromotoros erővel arányos hosszúságokat mérünk fel, és az összetartozó értékektől egy-egy pontot vetítünk ki. A grafikon hullámvonal. A hullámvonalnak megfelelő változás folytonosan ismétlődik. Ilyen a szabályos lefolyású váltóáram. Az az időtartam, amely a teljes hullámvonalnak felel meg, a váltóáram periódusa. Az a szám, amely megmondja, hány periódus esik egy másodpercre, a váltóáram frekvenciája. A budapesti hálózati váltóáram frekvenciája 50, tehát grafikonjában egy másodpercre 50 teljes hullámvonal esik, az áram egy másodperc alatt 100-szor változtat irányt.

184. kép. A váltóáram időbeli lefolyása.

Váltóáramú gép. Legutolsó kísérletünk elvben már igen közel jár a váltóáramot fejlesztő gépekhez. A váltóáramú gépben is megtaláljuk az egyenárammal gerjesztett elektromágnest, a keretalakú áramvezető helyett vasmaggal ellátott sokmenetű tekercset találunk, hiszen tudjuk, hagy a menetek számával sokszorozódik az indukált elektromotoros erő és a vasmag is fokozza a hatást, mert több erővonalat tud magába


329

sűríteni. Ezenkívül kettőnél több sarkú elektromágneseket és ezeknek megfelelően több indukciós tekercset is használnak.

185. kép. Váltóáramú gép vázlata.

Mindezek figyelembevételével a leginkább használatos váltóáramú gépek a következő kivitelbeh készülnek. Minden gépnek van álló része (sztátor) és forgó része (rótor). A sztátor hatalmas lágyvasgyűrű, rajta koszorúalakban elhelyezett lágyvasmagos tekercsek; az egymásra következők sorban ellenkezően vannak tekercselve és egymással össze vannak kötve, tehát folytonos drótvezeték fut végig a sztátor tekercskoszorúján (185. kép). A két szabad drótvég a gépnek két sarka, ezek között keletkezik a váltakozó feszültség. A sztátor az indukciós tekercseket tartalmazza, a belső kisebb sugarú koszorú, a


330

rótor az elektromágneseket hordozza. A rótoron ugyanannyi tekercs van, mint a sztátoron. A rótor tekercsei is felváltva ellenkező tekercselésűek, lágyvasmagjuk van, és a szomszédos tekercseket vezeték köti össze egymással. A rótornak végigfutó vezetékébe a tengelyre erősített gyűrűk és kefék segítségével kívülről egyenáramot kell bevezetni. A rótor tekercseinek kifelé néző végei sorban északi és déli mágneses sarkok, a rótor egyenletes gyors forgásakor tehát felváltva északi és déli mágneses sarkok szaladnak el az indukciós tekercsek előtt.

Elvben ugyanaz a jelenség következik itt be, mint a keretalakú áramvezető forgatásakor két mágneses sark között, hiszen teljesen mindegy, vajjon az indukciós tekercs vagy az elektromágnes forog. A rótor forgása közben valamennyi indukciós tekercsben ugyanabban a pillanatban ugyanolyan irányú áram keletkezik, mert ha az egyik tekercs előtt pl. északi sark szalad el, a következő tekercs előtt ugyanakkor déli sark vonul el, ámde tekercselése ellenkező értelmű, ezért a benne indukált áram iránya ugyanaz. Elgondolhatjuk, hogy, ha sok tekercs van a koszorúban és a gép gyorsan forog, hatalmas elektromotoros erőt kapunk, mert az egyes tekercsekben keletkezett elektromotoros erők összeadódnak és a forgás sebességének növelése az erővonalak változásának sebességét fokozza. Mivel a nagy fordulatszámmal együttjár a röpítő erőnek nem kívánatos megnövekedése, a nagy áramfejlesztő gépeken inkább sok tekercset helyeznek el koszorúalakban, és így érnek el kellő váltakozási számmal nagy elektromotoros erőt. A gép szerkezetéből megérthető, hogy a tekercspárok számának és a gép másodpercenkénti fordulatszámának szorzata megadja a fejlesztett váltóáram frekvenciáját. Említésreméltó az is, hogy a nagy áramfejlesztő gépek lágyvasalkatrészeit nem készítik tömör anyagból, hanem lemezekből rakják össze, az egyes lemezeket belakkozzák vagy vékony papírral szigetelik egymástól. Ezzel igyekeznek megakadályozni az örvényára-


331

mok keletkezését a lágyvasmagban, mert ezek az örvényáramok károsan energiát vonnak el a géptől.

Egyenáramú gép. A váltóáram ma már egyre jobban elterjed, az egyenáramot háttérbe szorítja. Azt mondhatjuk, hogy a váltóáram a korszerű, az egyenáram az elavult áram. Ennek az okával később még foglalkozunk. Teljesen nem mellőzhető az egyenáram; többféle célból szükség van rá, pl. elektrolitikus folyamatokhoz. Azt se felejtsük el, hogy a váltóáramot fejlesztő gép elektromágneseit egyenárammal kelt gerjeszteni s valóban a legtöbb nagy váltóáramú gép mellett találunk kis fiókgépet a szükségelt egyenáram fejlesztésére. Röviden meg kell tehát ismerkednünk az egyenáramot fejlesztő gép alapelvével ís. Időrendben előbb szerkesztették meg az egyenáramú gépeket, és csak jóval később a sokkal egyszerűbb váltóáramú gépeket.

Az egyenáramot fejlesztő gép az egyenáramú elektromotor megfordítása. Lényeges alkotórészei: az elektromágnes – kez-


332

186. kép. Lüktető egyenáram.

detben acélmágneseket használtak –, a forgathatóan felszerelt és lágyvasmaggal ellátott áramvezető tekercsek (az armatúra) és a kollektor. Ha az elektromágnesek mágneses erőterében az armatúra tekercseit forgatjuk, azokban indukált elektromotoros erő keletkezik. Ez az elektromotoros erő természetesen váltakozó és gépünk kollektor nélkül váltóáramú gép volna. Az áramszedő kefékkel érintkező kollektorszeletek működése abban áll, hogy, mihelyt valamelyik tekercsben az armatúra forgása közben az áram iránya megfordulna, nyomban visszafordítsa az eredeti irányba. Ha az armatúra csak egy tekercspárból állana, vagyis a kollektor egyszerű kommutátor volna, akkor a kefék között keletkező elektromotoros erő lüktető áram volna a 186. kép rajzának megfelelően. A sok különböző szögben beállított tekercs és az azoknak megfelelő sokszeletes kollektor teszi lehetővé azt, hogy a lüktetések egyre inkább eltűnnek (a 186. kép felső, kissé csipkézett vonala) és majdnem változatlan elektromotoros erejű egyenáramot kapunk. Ebből á rövid ismertetésből látható, hogy az egyenáramot fejlesztó gép sokkal bonyolódottabb, mint a váltóáramú gép.

Még egy fontos kérdés vár itt megtárgyalásra. Acélmágneseket ilyen gépekben nem használnak, az elektromágnesek gerjesztéséhez pedig egyenáram kell. Honnan vegyük hozzá az egyenáramot? Kezdetben külön áramforrások, pl. galvánelemek szolgáltatták az elektromágnesek áramát. Furcsa szerkezet volt az ilyen egyenáramú gép; nagy galvántelepekkel lehetett csak működésben tartani. Nem is volt gazdaságosnak mondható. Magyar ember, JEDLIK ÁNYOS budapesti egyetemi tanár gondolt először arra 1850 táján, hogy nem kell az elektromágneshez külön áramforrás, mert a gép saját áramát is fel lehet erre használni. Az elektromágnes lágyvasának ugyanis mindig van egy kevés visszamaradt (remanens) mágnessége, s így gyenge mágneses tér akkor is van az elektromágnes sarkai között, amikor az elektromágnes tekercsében nincsen semmiféle áram. A gyenge mágneses térben forgó armatúrá-


333

ban természetesen gyenge áram keletkezik, ez azonban bejut az elektromágnes tekercseibe és valamivel erősebbé teszi a mágneses teret; ennek következtében az indukált áram is erősebbé válik, ennélfogva a gép megindulása után önműködően egyre erősebb áramot termel. Ez nincs ellenmondásban az energia megmaradásának elvével, mert a gép forgatásakor egyre nagyobb munkát kell végezni, ennek ellenértékéül kapjuk a villamos áramot. Ezt a fontos elvet dinamóelvnek, s ezen az elven alapuló áramfejlesztő gépeket dinamógépeknek nevezik. A budapesti tudományegyetem kísérleti fizikai intézete kegyelettel őrzi JEDLIK ÁNYOS 1853-ban készült dinamógépét. A dinamóelv feltalálásának elsősége vitathatatlanul Jedlik Ányosé; mivel azonban találmányát gyakorlatilag nem értékesítette, annakidején nem vettek róla tudomást. Másfél évtizeddel később a német SIEMENS az elvet újból felfedezte és gyakorlati téren is alkalmazta. Külföldön többnyire SIEMENS nevéhez fűzik a dinamóelv feltalálását.

Váltóáramú motorok. Miként az egyenáramú dinamógép lehet áramfejlesztő gép és motor is, a váltóáramú gépet is lehet motorként használni. Ennek módja a következő: a rótor elektromágneseinek gerjesztésére ilyenkor is egyenáramot, a sztátor tekercseibe váltóáramot vezetünk, és a gépet előzetesen a váltakozások számának megfelelő forgásba hozzuk. Ezután egyenletesen forog tovább a gép. Ez az ú. n. váltóáramú szinkrónmotor meglehetősen körülményesen dolgozik, nem is nagyon terjedt el. Gyakorlati alkalmazása a villamos szinkronóra. Mivel az órák járatása nem jár nagy munkavégzéssel, nem kell hozzá külön egyenáram. A váltóáramba kapcsolt szinkronórák rendszerint 50-es frekvenciára készülnek, mind együtt járnak, és az időt pontosan jelzik mindaddig, míg a váltóáram frekvenciája változatlan marad. A hálózati központban az áram frekvenciáját pontosan, óra segítségével állandóan ellenőrzik. Ha valamelyik szin-


334

kronóra esetleg érintkezési hiba miatt egyidőre a váltóáramból kikapcsolódik, időjelzése természetesen hibássá válik.

A váltóáramú szinkronmotorok alkalmazása különösen akkor előnyös, ha teljesen egyenletes forgást kívánunk. Egyébként egyszerűbb váltóáramú motorok is rendelkezésre állanak. Gondoljunk el olyan váltóáramú gépet, amelynek rótorjába nem vezetünk egyenáramot s a rótor tekercseinek vezetéke önmagában záródik. Ha a sztátor tekercseibe váltóáramot vezetünk, s ezáltal a gépen belül váltakozó mágneses teret létesítünk, akkor a rótor tekercseiben indukált áram keletkezik s a rótor forogni kezd, mert forgásakor az indukáló hatás csökken. A forgás sebessége kisebb a bevezetett váltóáram frekvenciájához viszonyítva, ezért az ilyen motort aszinkron motornak nevezik.

Háromfázisú váltóáram. Szerkesztenek olyan váltóáramú gépeket, amelyekben a sztátor koszorúján több tekercs van, mint a rótoron. Bár tudjuk, hogy a rótor is mindig több tekercspárból áll, könnyebb megértés céljából a rótoron csak egy pár tekercset vegyünk figyelembe. A sztátoron három tekercspár legyen szimmetrikus elhelyezésben. Az együvé tartozó tekercsek átellenben vannak és ellentétes tekercselésűek. Gondoljuk el, hogy az egyes tekercspárok vezetékei különböző színűek. A különböző színű vezetékek egymással nincsenek összeköttetésben, tehát összesen három pár szabad drótvégük van (187. kép I, II, III). A gépnek összesen 6 kivezető pólusa van. A rótor elektromágneseit most is egyenárammal gerjesztjük és forgásba hozzuk. Világos, hogy a három különböző színű vezetékrendszer mindegyikében olyan váltóáram keletkezik, amelynek időbéli lefolyását az ismert hullámvonal mutatja. A tekercsek elhelyezéséből következik, hogy a három vezetékrendszer áramát jellemző hullámvonalak egymáshoz viszonyítva el vannak tolódva (188. kép). Az elektromotoros erő az egyes tekercspárokban különböző időpillanatokban éri el legnagyobb értékét.


335

Azt szokták mondani, hogy az ilyen gépben az elektromotoros erőnek és az áramerősségnek is három különböző fázisa van, ezért a gépet háromfázisú váltóáramú gépnek nevezik. Vegyük figyelembe a 3 elektromotoros erőnek bármely időpillanathoz tartozó értékeit, pl. a képen az aa vagy a bb vonallal jelölt értékeket. Az cc vonalon a II. és III. fázis értékei az időtengely alá esnek és együttvéve akkorák, mint az I. fázisnak az időtengely fölötti értéke. A három


336

187. kép. Háromfázisú váltóáramú gép vázlata.

fázis ebben a pillanatban egymást lerontja. Ugyanez érvényes a bb vonalhoz, vagy bármilyen más időpillanathoz tartozó értékekre. A három fázis áramerősségének is ugyanaz a törvényszerűsége. Ezért a 6 szabad vezeték közül hármat a gépen belül vezetőleg összekötnek, és így kifelé csak három szabad vezeték marad: mindegyik fázisból egy-egy. A gyakorlatban tehát a háromfázisú váltóáramú gépnek három sarka van, közülük bármelyik kettő között váltakozó jellegű feszültség van, fogyasztásra bármelyik kettő felhasználható. Az áramfejlesztő telepeken levő hatalmas háromfázisú váltóáramú gépekben sokkal több tekercspár van, a sztátor és a rótor tekercspárjainak aránya azonban ugyanaz, mint a most ismertetett egyszerű példában. Az egy fázishoz tartozó tekercspároknak folytonosan összekötött vezetékük van.

188. kép. Háromfázisú váltóáram időbeli lefolyása.

Forgó mágneses tér. A háromfázisú váltóárammal igen egyszerű szerkezetű motorokat lehet hajtani. Gondoljuk el az előbb ismertetett gép sztátorját a három különböző fázisú


337

tekercspárral. A rótor helyén egyelőre ne legyen semmi. A sztátor tekercseibe vezessünk be kívülről háromfázisú váltóáramot, az egyes fázisokat a megfelelő tekercspárokba (három szabad drótvég itt is egyesítve van). A gép belsejében mágneses erőtér keletkezik: egy-egy tekercspár átellenes tekercseit mágneses erővonalak kötik össze. Bármelyik tekercspárnak megfelelő mágneses erőtér akkor a legerősebb, amikor benne legerősebb az áram. Ennélfogva a mágneses erőtér hol az első, hol a második, hol a harmadik tekercspár irányában a legerősebb, vagyis a mágneses erő iránya körben forog. Az ilyen mágneses erőteret forgó mágneses térnek nevezik. Gondoljunk el mármost a gép belsejében a forgó mágneses térben iránytűt. Az iránytű természetesen forgásba jön. A gép közepébe forgathatóan elhelyezett tömör vezető vagy zárt tekercs is forog, mert indukált örvényáram keletkezik benne és a Lenz-féle szabály értelmében a forgás akadályozza az indukáló hatást. Ez a gyakorlati életben sokfelé használt háromfázisú aszinkronmotor működésének alapelve.

Transzformátor. Térjünk vissza az indukált áram egyik alapkísérletére. Emlékezünk, hogy ha az elsőleges tekercsben szaggatott egyenáram van, akkor a másodlagosban váltóáram keletkezik. Ennek a váltóáramnak időbeli lefolyása nagyon eltér a szabályos hullámvonaltól (a váltóáramú gép árama sem egészen hullámvonalszerű). Az áram megszakításakor nagyobb elektromotoros erő keletkezik, mint az áram zárásakor. Módosítsuk az említett kísérletet úgy, hogy az elsőleges áramkörben ne legyen áramszaggató, hanem váltóáramot vezessünk be kívülről. Ekkor is vállóáram keletkezik a másodlagos körben. HHa a hálózati váltóáramot vezetjük az elsőleges körbe, a másodlagosban ugyanolyan frekvenciájú váltóáramot kapunk, de ennek kimutatására nem használhatunk forgótekercses áramjelző készüléket, mert annak mutatója nem képes másodpercenként 50-szer ide-oda mozogni, legfeljebb kis rezgést vehetünk észre rajta. A hálózatinak meg-


338

felelő frekvenciájú váltóáram jelzésére alkalmas a telefonhallgató. A másodlagos körbe kapcsolva mély búgó hangon szól. Módosított kísérletünknek tehát az a lényege, hogy, ha két tekercsünk van egymáson belül, vagy közel egymáshoz vezető összeköttetés nélkül, s az egyik tekercsbe, az elsőlegesbe váltóáramot vezetünk, akkor a másik tekercsben, a másodlagosban ugyanolyan váltakozású váltóáramot kapunk. Ez a berendezés tulajdonképpen a váltóáram megváltoztatására való és neve transzformátor. Ha egymáson belül van a két tekercs, akkor közös lágyvasmag van a két tekercs belsejében. Előnyös a zárt lágyvaskeret (mágneses iga) használata; ekkor az elsőleges és a másodlagos tekercs a keret különböző oldalain is lehet, a zárt keretből a mágneses erővonalak nem tudnak kiszabadulni, a keret mentén körben haladnak, s így az elsőleges tekercs erővonalai hiánytalanul eljutnak a másodlagos tekercsbe (189. kép).

189. kép. Transzformátor.

A transzformátor elnevezés arra emlékeztet, hogy a váltóáramot valamiképpen megváltoztatja. A frekvencia nem vál-


339

tozik meg, kérdés tehát, mi változik meg. Az induktor mint a transzformátor egyszerű példája arra emlékeztet, hogy az elektromotoros erőt nagy mértékben megnövelhetjük. Valóban minden transzformátornak az a rendeltetése, hogy az elektromotoros erőt megnövelje vagy lecsökkentse. Ha az elsőleges és másodlagos tekercs menetszáma egyenlő, akkor nincsen változás az elektromotoros erőben. Ha a másodlagos tekercsnek kétszer annyi menete van, mint az elsőleges tekercsnek, akkor a másodlagos tekercsben keletkező elektromotoros erő kétszerese az elsőlegesbe vezetett elektromotoros erőnek. Ha a másodlagos tekercsnek feleannyi menete van, mint az elsőleges tekercsnek, akkor az elektromotoros erő a másodlagos körben feleakkora, mint az elsőleges körben. Tehát az elektromotoros erők aránya ugyanannyi, mint a megfelelő tekercsek menetszámának aránya. Feltranszformálásról beszélünk akkor, ha az elektromotoros erő a másodlagos tekercsben nagyobb, mint az elsőleges tekercsben, ellenkező esetben letranszformálunk. A műszaki gyakorlatban mind a két eset előfordul.

Fontos kérdés az is, hogy az elsőleges és a másodlagos körök áramerősségei milyen összefüggésben vannak egymással. Erre a kérdésre az energia megmaradásának elve ad választ. Tudjuk, hogy a villamos áram teljesítményét, vagyis az egy másodperc alatt végzett munkáját a voltok és az amperek szorzata adja meg. Az ideális transzformátor energiaveszteség nélkül változtatja át az áramot. A valóságos transzformátorban van ugyan némi veszteség a vezeték kis felmelegedése és a lágyvas megmaradó mágnessége miatt, de az energiaveszteség csekély, és így a műszaki gyakorlatban használt transzformátorok nagyon megközelítik az ideális transzformátort. A voltok és amperek szorzatát, más szóval a wattok számát bízvást egyenlőnek vehetjük az elsőleges és másodlagos tekercsben. Ebből az következik, hogy ahányszor több a voltok száma a másodlagoshan az elsőlegeshez viszonyítva, annyiszor kevesebb az amperszám a másodlagosban és viszont. Amilyen


340

arányban növekedik feltranszformáláskor az elektromotoros erő, olyan arányban csökken az áram erőssége, s amilyen arányban csökken letranszformáláskor az elektromotoros erő, olyan arányban növekedik az áramerősség a másodlagosban.

A váltóáram távolba vezetése. A transzformátornak fontos szerepe van a váltóáram gyakorlati felhasználásában. Időszerű végre annak a kérdésnek a megvizsgálása, miért gazdaságos a váltóáram az egyenárammal szemben. Röviden az a felelet erre: csak a váltóáramot lehet gazdaságosan nagy távolságra vezetni, márpedig a kultúra terjedésének egyik fokmérője, milyen könnyen jut el a villamos áram a legeldugottabb falvakba is. Valamikor csak nagyobb városokban volt villamos áram, s mindegyik városnak külön áramfejlesztő telepe volt, az áramot szinte csak a város területén belül kellett vezetni. Most már hazánk legtöbb megyéjét villamosítják, s mivel kevés áramfejlesztő központ termeli az áramot, nyilván jelentékeny távolságokra kell vezetni.

A fogyasztótelep berendezéseit, pl. az izzólámpákat, párhuzamosan kapcsolják a központ feszültségébe. Tegyük fel pl., hogy a fogyasztótelepnek 1000 izzólámpát kell táplálnia, s egy izzólámpa átlag fél ampert fogyaszt. Mivel, mint tudjuk, a fővezeték áramerőssége a párhuzamosan kapcsolt vezetékek áramerősségének összegével egyenlő, példánkban a fővezetéken 500 amper erősségű áramnak kellene haladnia. Ilyen erős áramot csak nagyon vastag vörösréz vezeték bír el, s elgondolható, milyen költséges a vastag vezeték alkalmazása hosszabb távolságra. Nagyerősségű áramot nagyobb távolságra vezetni nem lehet. Ezen az alapon csődöt mondott volna a falvak villamosítása, mert olyan magas lett volna az áramfogyasztás egységára, hogy senki sem fizette volna meg. Mivel az áram energiáját a feszültségnek és az áramerősségnek szorzata határozza meg, arra lehetne gondolni, hogy nagyfeszültségű és aránylag nem nagy erősségű áramot kellene távolba vezetni. Az egyenáramot átalakítani nem lehet, s így ebben az


341

esetben vagy nagyon költséges berendezéssel a nagy feszültség szétosztásáról kellene gondoskodni, vagy pedig a fogyasztótelep mindegyik izzólámpája megkapná a nagy feszültséget, ami már veszélyessége miatt sem lehetséges. Ismervén a váltóáram könnyű és szinte veszteségmentes átalakíthatóságát, nyomban világossá válik előttünk a váltóáram óriási előnye az egyenárammal szemben.

Mi tehát a teendő, amikor valamilyen áramfejlesztő központból aránylag nagy terület fogyasztását akarják kielégíteni váltóárammal? A váltóáramú gép néhány ezer volt elektromotoros erejű áramot termel,ezt az áramot még a központban feltranszformálják 10 000–50 000, esetleg még nagyobb feszültségre, és ézt az igen magas feszültségű áramot rákapcsolják a távvezetékre. A bánhidai áramfejlesztő központ 110 000 volt feszültségű áramot küld a fővárosba. Ilyen magas feszültségű áram távolba vezetése esetén természetesen nagy gondot kell fordítani a megfelelő szigetelésre. A szigetelés kérdése műszakilag jól megoldható. Az áramerősség viszonylag nem nagy, ezért nincs szükség nagyon vastag drótra. A magas feszültségű váltóáram eljut pl. valamilyen községbe, melyet árammal látnak el. Itt először központilag letranszformálják az áramot; ha nagyobb kiterjedésű fogyasztótelepről van szó, esetleg több fokozatban végzik a letranszformálást, s így végeredményben az egyes fogyasztókhoz alacsony: 110 vagy 220 volt feszültségű, de megfelelő erősségű áram jut el. Ha pl. valamely fogyasztótelep szükséglete 110 volt feszültség és 1000 amper, akkor 11 000 volt magas feszültséggel mindössze 10 amper erősségű áramot kell távolba vezetni, az elkerülhetetlen veszteségeket nem számítva. A szigetelés a transzformátorok szerkesztésében is nagyon fontos, hiszen a magas feszültségű tekercs egyes menetei között is nagy a feszültség. Az olajtranszformátorokban olajba, mint jó szigetelőbe helyezik a magas feszültségű tekercset.


342

A váltóáram hatásai. A váltóáram nagy gyakorlati fontossága felveti azt a kérdést, milyen fizikai hatásai vannak és hogyan lehet mérni a váltóáram áramerősségét és feszültségét. A váltóáramnak éppen úgy van melegítő hatása, mint az egyenáramnak, ugyanis legelterjedtebb gyakorlati felhasználása a világítás. Az elektronok szempontjából is megértjük a váltóáram melegítő hatását; a váltakozó feszültség hatására az elektronok hol egyik, hol másik irányban kezdik meg rendszeres vándorlásukat, s eközben atomokba, molekulákba ütköznek, tehát az anyagrészecskék hőmozgását növelik. A váltóáramnak vegyi és mágneses hatása nyilván nincsen, mert ezek a hatások az áram irányától függnek, s így az áramnak igen rövid időközökben végbemenő irányváltozása ezeket a hatásokat közömbösíti. A váltóáram erősségét olyan hatások alapján lehet mérni, amelyek az áram irányától függetlenek. Ilyen elsősorban a hőhatás. A hődrótos árammérő műszer tehát váltóáram erősségének, és megfelelő kapcsolásban feszültségének mérésére is alkalmas. Csupán az a kérdés, mit értsünk a váltóáram erősségén, hiszen az áramerősség folyton igen gyorsan változik, zérus és valamilyen legnagyobb érték között ingadozik. A váltóáram körébe kapcsolt mérőkészülék az áram erősségének valamilyen átlagos értékét mutatja. Hődrótos eszközünk osztályzata egyenáramra készült; ha váltóáramot vezetünk át rajta, akkor a jelzett áramerősség amperekben annak az egyenáramnak az erőssége, amelynek melegítő hatása a kérdéses váltóáram melegítő hatásával megegyezik. Az így megállapított áramerősséget a váltóáram effektív áramerősségének nevezik, és általában ezt használják a váltóáram erősségének jellemzésére. Hasonló értelme van a váltóáramú effektív feszültségnek is. A forgótekercses árammérő műszer nem használható váltóáram mérésére, a lágyvaskészülék azonban használható, mert a vezető tekercsben haladó áram s fölötte függő lágyvasrudat az áram irányától függetlenül mindig befelé húzza.


343

Önindukció. Az indukált áram keletkezésének még egy fontos esetével kell foglalkoznunk. Gondoljunk el egyetlen tekercset lágyvasmaggal. Kapcsoljuk be valamilyen áramforrásba. Az áram bekapcsolásakor mágneses erőteret létesítünk. Tehát ebhen az esetben is mindaz adva van, ami az indukált áram keletkezéséhez szükséges: zárt vezető és közelében mágneses erőtér változása. A dróttekercs nyilván nem tudja, hogy a rajta átmenő áram bekapcsolása okozza a mágneses erőtér megváltozását, a tekercsnek épúgy kell viselkednie, mintha ugyanott mint másodlagos tekercs áramforrás nélküli zárt kört alkotna. Mihelyt menetein belül a mágneses erővonalakban változás áll be, parancsot kapnak a drótban levő szabad elektronok, valamelyik irányban el kell indulniok, tehát van indukált elektromotoros erő. Ezt a jelenséget önindukciónak nevezik. Mivel az indukáló hatás ebben az esetben az áram bekapcsolása, az energia megmaradásának elve, illetőleg a Lenz-féle szabály az eredeti áram irányával ellenkező irányt állapít meg az önindukciós áram számára. Az áram bekapcsolásakor tehát az önindukció az eredeti áram ellen dolgozik, emiatt az áramerősség csak fokozatosan, de mindenesetre igen rövid idő alatt éri el azt az állandó értéket, amely az áramkör viszonyainak megfelel. Az önindukció jelenségében a mozgó villamos töltés tehetetlensége nyilvánul meg. Kísérleti tapasztalatok és számítások szerint ez a tehetetlenség, tehát az önindukció, annál nagyobb, minél hosszabb a dróttekercs és minél több menetből áll. Vasmagos tekercs önindukciója nagyobb, mint az üres tekercsé. Természetesen az áram kikapcsolásakor is keletkezik önindukció. Ilyenkor mágneses erőtér szűnik meg a tekercsen belül. Az energia megmaradásának elve azt kívánja, hogy az önindukciós áram igyekezzék a mágneses tér megszűnését akadályozni, ezért az áram megszakításakor keletkező önindukciós áram az eredeti árammal megegyező irányú és természetesen szintén nagyon rövid ideig tart. Amidőn a vezetőre rákapcsolt


344

feszültség megszűnik, az elektronok is "pihenj" parancsot kapnak, e parancs teljesítésében is van bizonyos tehetetlenségük, még rövid ideig hajlandók volnának ugyanabban az irányban tovább menetelni. Az áram bekapcsolásakor, illetőleg megszakításakor jelentkező önindukcióhoz teljesen hasonló önindukciós áram keletkezik akkor is, ha az áramkörben az áramot erősítjük, vagy gyengítjük. Mivel pedig a váltóáram erőssége folytonosan változik, hol nagyobbodik, hol kisebbedik, a váltóáramú körben állandóan van önindukciós jelenség, különösen akkor, ha lágyvasmaggal ellátott tekercsek vannak bekapcsolva az áramkörbe.

Az ilyen váltóáramú körben az önindukciós tehetetlenségnek az a következménye, hogy az önindukciós vezető tekercs nagyobb ellenállást fejt ki a váltóárammal, mint az egyenárammal szemben. Az önindukció miatt megnövekedett ellenállást látszólagos ellenállásnak nevezik. A látszólagos ellenállás még a váltóáram frekvenciájától is függ: nagyobb frekvenciájú váltóáram esetében ugyanannak a tekercsnek látszólagos ellenállása nagyobb. A nagy látszólagos ellenállású dróttekercsnek fojtó tekercs a neve. A fojtó tekercs az egyenáramot átengedi, s váltóáram haladását gátolja. Ennek a műszaki gyakorlatban sokszor látjuk hasznát.

Különösen elektromos mérésekben gyakran van szükség olyan dróttekercsekre, amelyeknek ellenállása egyenárammal és váltóárammal szemben egyenlő. Egyszerű módon lehet ilyen indukciómentes tekercset készíteni. Tekercselés előtt a drótból, középen behajlítva, kettős párhuzamos vezetéket készítünk, és azután tekercseljük (190. kép). Az áram kétszer fut végig a tekercsen és pedig ellenkező irányban, tehát az ilyen ú. n. bifilárisan tekercselt vezeték belsejében és környezetében az átvezetett áramnak nincsen mágneses tere, ennélfogva önindukciója sincsen. Mérésekre használt ellenállássorozatokban többnyire ilyen indukciómentes dróttekercsek vannak.

190. kép. Indukciómentes tekercs.


345

Az önindukció jellemzésére mértékegységet vezettek be és HENRY amerikai fizikus nevéről henrynek nevezték el. Egy henry önindukciója van az olyan dróttekercsnek, amelyben egy másodperc alatt egy ampernyi áramerősségváltozas egy volt önindukciós feszültséget létesít.

Távbeszélő. A gondolatközlés fontos gyakorlati berendezéséről, a távbeszélőről kell még megemlékeznünk. A távbeszélő az energiaátalakulásoknak igen érdekes példája.


346

A mai távbeszélő adókészüléke a mikrofon, vevőkészüléke a Bell-féle hallgató. Ezt a két készüléket minden távbeszélő-állomáson megtaláljuk. Az egyes távbeszélő állomásokat vezetékek kötik össze a központtal; ott kapcsolják össze többnyire önműködő gépek segítségével a hívó és a hívott állomásokat.

191. kép. Mikrofon.

A mikrofon fő alkotórésze dobozba foglalt bordázott széntömb, vele szemben vékony szénlemez van. A széntömb és a lemez közét szénpor vagy szénszemcsék lazán töltik ki. A széntömböt és a szénlemezt valamilyen áramforrásba kapcsolják, tehát az áramnak a lazán elhelyezkedő szénszemcséken kell áthaladnia (191. kép). Ellenállásuk az árammal szemben attól függ, hogyán érintkeznek egymással. Ha a szénlemezt hanghullámok érik, maga is rezgésbe jön, a rezgésnek megfelelően hol jobban, hol kevésbbé nyomja a mögötte levő szénszemcséket. Ennélfogva a mikrofon ellenállása, s igy az áramerősség is, a rezgések ütemében változik. Az áramingadozások egy transzformátornak a mikrofon áramkörébe kapcsolt elsőleges tekercsén is átmennek és a másodlagos tekercsben a hangrezgéseknek megfelelő frekvenciájú váltóáram keletkezik. Ezt a váltóáramot továbbítja a távvezeték a vevőállomás hallgatókészülékéhez.

192. kép Telefonhallgató.

A hallgatókészülékben kis, patkóalakú acélmágnes található, szárain sokmenetű dróttekerccsel. Az acélmágnes sarkai előtt elhelyezett lágyvaslemezt a mágnes bizonyos mértékben kifeszítve tartja (192. kép). A távvezetéken érkező váltóáram az acélmágnes mágnességét – iránya szerint – hol erősíti, hol gyengíti, emiatt a lágyvaslemezt feszítő erő is változik. A lágyvaslemez a távvezeték váltóáramának ütemében rezeg, tehát végeredményben a mikrofon lemezének rezgését követi, és így bizonyosfokú torzítással visszaadja a mikrofonba beszélt hangot.

Mind a távíró, mind a távbeszélő egyik távvezetéke maga a Föld.


347

Hangszórók. A távbeszélő hallgatókészülékéhez hasonló szerkezetű az elektromágneses hangszóró. Mindössze abban különbözik tőle, hogy a tekercses acélmágnes előtt nem lágyvaslemez, hanem vasnyelv rezeg. A vasnyelv rezgéseit nagyfelületű kúpalakú papír- vagy selyemhártya veszi át és továbbadja a levegőnek. A hangot felvevő és visszaadó szerkezetektől megkívánják, hogy lehetőleg ne torzítsanak. A torzítást az illető szerkezet saját rezgései okozzák. Ezért arra törekedünk, hogy a szerkezet saját rezgéseinek száma a továbbított hangok rezgésszámánál nagyobb vagy kisebb legyen. Az elektromágneses hangszóró vasnyelvének saját rezgésszáma általában nagy a visszaadott hangok rezgésszámához képest. Az ú. n. dinamikus hangszórókban vasnyelv helyett könnyű és szabadon mozgó dróttekercs végez rezgéseket elektromágnes közelében a mágneses tér ingadozásainak megfelelően. A könnyű mozgótekercs saját rezgésszáma igen kicsiny, ezért nem torzítja a visszaadott hangot.

A fémek ellenállásváltozása a hőmérséklettel. Különböző anyagú vezetők villamos ellenállása a méreteken kívül az anyagi minőségtől is függ. Azt is tapasztalták, hogy ugyanannak a vezetődarabnak ellenállása a hőmérséklettel is változik. Erről a következő egyszerű kísérlettel lehet meggyőzödni. Készítsünk vasdrótból tekercset és kapcsoljuk áramkörbe, valamilyen áramforrással és egy izzólámpával. A vasdrótból készült tekercs ellenállása nem akadályozza a lámpa izzását. Melegítsük ezután a vasdróttekercset gázlánggal. Minél jobban melegszik a drót, annál kevésbbé izzik a lámpa, tehát melegítéskor a vasdrót ellenállása növekedik. Lehűlés után ismét rendesen izzik a lámpa, tehát lehűléskor a vasdrót ellenállása csökken. A fémek ellenállása a hőmérséklet emelkedésével nagyobbodik. Legnagyobb mértékben a vas ellenállása változik a hőmérséklettel, a vörösrézé valamivel kevésbbé, a higanyé még kevésbbé. Vannak olyan fémötvözetek, amelyeknek villamos ellenállása alig vál-


348

tozik a hőmérséklettel. Ilyen a konstantán és a manganin. A mérésekre használt ellenállássorozatok tekercseit többnyire ilyen ötvözetekből készítik.

Szupravezetés. A fémek ellenállásváltozásával kapcsolatban érdekes jelenséget tapasztalt KAMMERLINGH-ONNES holland fizikus, az alacsony hőmérsékletek mestere. Leydenben volt a "hideg-laboratóriuma" s sikerült neki a –273 Celsius fokot, az ú. n. abszolút zéruspontot nagy mértékben megközelíteni. Ilyen nagyon alacsony hőmérsékleteken vizsgálta különböző fémek villamos ellenállását és az általánosan várt eredménytől eltérő tapasztalatra jutott. A fémek ellenállásának viselkedéséből ugyanis arra következtettek, hogy a fém ellenállása a hűtéssel fokozatosan és többé-kevésbbé egyenletesen csökken, az abszolút zérusponton pedig, amelyet teljesen elérni nem lehet, zérussá válik. KAMMERLINGH-ONNES ólomdrót ellenállását vizsgálta olyan alacsony hőmérsékleteken, amelyeket folyékony hélium segítségével ért el, s meglepetésszerűen azt találta, hogy az ólom ellenállása –266C°-ig fokozatosan kisebbedik ugyan, ezen a hőmérsékleten azonban hirtelen előbbi értékének 100 billiomodrészére csökken, gyakorlatilag tehát zérussá válik. Ez a változás 1/100 fok hőmérsékletcsökkenéssel áll be. Más fémeken is hasonló jelenséget tapasztaltak. Még alacsonyabb hőmérsékleteken következik be az ellenállás hirtelen csökkenése higany, tallium, tantál, aluminium és cink esetében. Egyes fémeken, pl. aranyon, ezüstön, vörösrézen, vason még nem tapasztalták ezt a jelenséget, talán azért, mert még alacsonyabb hőmérsékletre kellene őket lehűteni. Ezt az érdekes jelenséget találóan nevezték el szupravezetésnek, mert ebben az állapotban a fém nem várt módon igen nagy vezetőképességet kap. A hideg-laboratórium kutatói azt is hamarosan észrevették, hogy lehűtött szupravezető fém erős áram átvezetésekor és általában mágneses erőtérben szupravezetését elveszti.


349

A szupravezetés lényegére a következő érdekes kísérlet mutat rá. KAMMERLINGHONNES zárt tekercset készített ólomdrótból, azt folyékony héliumba helyezve szupravezetővé tette, és közelében egy másik közönséges hőmérsékletű vasmagos tekercs áramát zárva, a szupravezető ólomdróttekercsben indukált áramot keltett (193. kép.) A szupravezető dróttekercsben mint másodlagos körben keletkező indukált áramot iránytű jelzi. Rendes körülmények között az elsőleges áram bekapcsolásakor a másodlagosban egyetlen áramlökés tapasztalható; az elsőlegesben állandó áram folyik, ellenben a másodlagosban semmiféle áram nincsen. A szupravezető dróttekercsben azonban az indukált áram nem szűnik

193. kép. Szupravezetés.


350

meg, tovább tart percekig, óráig, napokig minden újabb beavatkozás nélkül. Az egyszer megindított villamos áram a szupravezető fémben minden áramforrás nélkül állandóan halad. Ha ezeket a jelenségeket elméletileg akarjuk megmagyarázni, mindenekelőtt arra kell gondolnunk, hogy minél alacsonyabb a fém hőmérséklete, annál lassúbb a fém atomjainak hőmozgása, tehát a szabad elektronok áramvezetéskor egyre kevesebb akadályba ütköznek, s így a fém villamos ellenállása csökken. Ez az elgondolás az ellenállásnak s hőmérséklettel együttjáró fokozatos csökkenését meg tudja okolni, de a szupravezetés hirtelen beálló tüneményét nem. A szupravezetés megmagyarázására feltették, hogy azon a bizonyos nagyon alacsony hőmérsékleten a fém szabad elektronjai egyszeriben elektronkristályokká tömörülnek. (*) Ez más szóval azt jelenti, hogy ekkor megszűnik az elektronok rendszertelen hőmozgása, az elektronkristály mint egységes alakulat meghatározott irányban mozog a fémen belül. A rendszertelen mozgásban levő szabad elektronok még a nagyon alacsony hőmérsékleten is gyakran beleütköznek a fém atómjaiba, s ezek az ütközések az áramvezetést közvetítő rendszeres mozgásukat is hátráltatják. Az egységes elektronkristály viszont nagyon kevés ütközéssel tud haladni a fémen belül, s így az elektromos ellenállás is úgyszólván teljesen elenyészővé válik. Eszerint a szupravezetéskor a fém sajátságos új állapotba jut, belső szerkezete sokkal rendezettebb, mint magasabb hőmérsékleten. Az a fáradhatatlan buzgólkodás, amellyel KAMMERLINGH-ONNES és társai mind jobban igyekeztek az abszolút zéruspontot megközelíteni, meghozta gyümölcsét: az anyagnak rendkívül érdekes, eddig nem sejtett tulajdonságai váltak ismeretessé és a tudomány igen mély bepillantást nyert az anyag belső szerkezetébe.

(*) Későbbi elméleti magyarázatok (Cooper és társai, 1972) szerint a vezető elektronok párokba rendeződnek, s e párok önálló részecskeként mozognak, és rájuk gyökeresen más törvények érvényesek, mint az egyes elektronokra. Ezen Cooper-párok létrejöttének okai jelenleg még tisztázatlanok. [NF]