VIII. FEJEZET.
A MIKROFON. – A FOTOFON.

1. A mikrofon.

VALAMINT a mikroskop a kicsinységük miatt észre nem vehető tárgyakat teszi láthatóvá, épen úgy a mikrofon azokat a hangokat teszi hallhatóvá, melyeket csekély erősségük miatt közönséges körülmények között meg nem lehet hallani. Vagy általánosabban szólva: a mikrofon a hangrezgéseknek, vagyis inkább az ezeket kísérő mechanikai hatásoknak megnagyobbítója. *

HUGHES, a mikrofon feltalálója, e találmányára a kísérletek egész sorától vezéreltetett, mely kísérleteknek az volt a czélja, hogy megtudja, miféle befolyással volnának a hangrezgések az elektromos vezető-képességre. Ime egyike eme kísérleteknek, mely magában véve is igen érdekes.

450. ábra. – Hughes kisérlete.

Vegyünk két vasszeget, két drótszeget, melyeket egymástól csekély távolságra vízszintes asztalkára fektetünk (450. ábra). Kössük össze mind a kettőt egy telep áramkörének két drótjával, melybe egy átvevő tele-fon is be van igtatva. Ha az áramkört egy harmadik, az előbbeni szegekre keresztbe fektetett szeggel zárjuk, igen érzékeny rendszerünk lesz, a melylyel igen gyenge hangokat, például a közönséges lélekzés hangját, észre vehetjük. A hangrezgések áttevődése attól a tökéletlen érintkezéstől ered, mely a két szeg s az ezeket egyesítő s gyengén szorító harmadik szeg

* Óvakodni kell attól, hogy azt gondoljuk, hogy a mikroskop s a mikrofon analógiája, mely e készülékek elnevezéseiből származik, a létrehozott hatáson kívül még egyébben is állana. Semmi sem bizonyítja, hogy maguk a hangok volnának nagyobbítva. Jóllehet hogy a mikrofon elmélete csak olyan kezdetleges, mint a telefoné, mégis valószínűnek látszik, hogy inkább a molekuláris mozgásoknak hangrezgésekké való átalakítása, semmint tulajdonképeni nagyítás forog fent.


623

között van: a hangrezgések mozgásai a vezetőkkel közlődvén, az érintkező pontokban a nyomást s a vezetőképességet módosítják, s a zörejjel vagy csekély távolságból adott bármiféle hangokkal járó eme változások a drótban a telep áramait módosítják s a telefon átvevőjére hatnak.

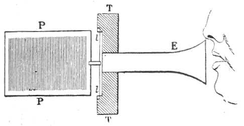
HUGHES felismerte, hogy a szénnek a fémies érintkeztetők helyett való alkalmazása elsőséget érdemel, mert a szén, a mellett hogy nem oxidálódik, az érintkező pontokban való gyönge és állandó nyomás előidézésére is alkalmas. * A mikrofonját im így rendezte be: A és B két szénkoczka (451. ábra), melyek, az egyik a másik fölött, az M fa-tuskóra vannak erősítve. Mind a kettőbe egy-egy mélyedés van vájva; e mélyedésekbe beilleszkednek egy orsó-alakban faragott szénpálczának a csúcsai, mely ily módon a felső mélyedésben a legcsekélyebb lökésre is megrándúl az ő esékeny egyensúly-helyzete körül. E helyzet a pálcza függélyes állásának felel meg. Mindegyik szénkoczka egy fémes érintkeztetővel van ellátva

451. ábra. Hughes mikrofonja.

* "Mindazonáltal, mondja HUGHES, a hatások még jobbak, midőn a szén higanynyal van egyesítve. E végből hársfa-szenet veszek, fokozatosan hevítem a fehér izzásig s ezután hirtelen higanyba merítem. Ekkor ez a fém apró golyócskákban hirtelen behatol a szén likacsaiba s a szenet, hogy úgy mondjam, megfémezi. Tettem kísérletet olyan szénnel is, melyre platina-réteg rakódott le vagy platina-chlorűrrel volt impregnálva, de a nyert eredmény nem volt jobb az előbbeni módszer szerint nyert eredménynél. A fenyő-szén, mely ónt, czinket vagy könnyen párolgó bármi más fémet tartalmazó vas-csőben fehér-izzásig hevíttetik, szintén fémezve lesz s igen alkalmas, ha a fém eme test likacsaiban nagyon finoman van elosztva, vagy ha vele nem vegyül. Az ily módon a szénbe vezetett vas egyike azoknak a fémeknek, melyekkel a legjobb hatásokat értem el. A fenyő-szén, mindamellett hogy rosz vezető, ily módon nagy vezető-képességre tesz szert."


624

s össze van kötve a P telep áramkörével, melybe még a T telefon is be van igtatva. Ez a nagyon egyszerű készülék egy fenyűfa-asztalkára van téve.

Midőn a mikrofont használni akarjuk, fontos, hogy az asztalkát párnára vagy kaucsuk-szalagokra vagy kaucsuk-csövekre tegyük, hogy így minden külső rezgéstől elszigeteljük. Ezt megtéve, a készülék még a leggyengébb zörej iránt is rendkívül érzékeny. A zsebórának ketyegése, az olyas észre nem vehető gyenge kopogások, mint például egy rovarnak az asztalkán való lépkedése, a telefon átvevőjében hihetetlen csengéssel hangzanak vissza.

A mikrofon berendezését sokféle módon változtatták s azon leszünk, hogy az ugyanezen elv szerint szerkesztett mikrofonos áttevők egynémelyike fölött szemlét tartsunk. De megelőzőleg fel fogunk hozni egy tényt, mely világosan tanuskodik arról, hogy nem csupán a hangrezgések nagyíttatnak, hanem még a mechanikai mozgások is, melyek a szenekkel közöltetnek s a melyek az érintkezés miatt az elektromos vezetőképességet változtatják. Ugyanis midőn a mikrofonos készüléket TROUVÉ mintáját) a levegőben függesztjük fel, az asztalkára tett tárgyaknak, egy zsebórának vagy egy rovarnak zaját alig lehet meghallani, holott ugyanakkor a levegőtől átvitt hangrezgéseknek, például a beszédnek, nagyobb a tisztasága.

452. ábra. A Hughes-féle mikrofon más berendezése.

Hogy az áttevők érzékenységét öregbítsék, az érintkezéseket többszörösítették. ADER mikrofonos áttevőjében a szénpálczák száma tizenkettőre rúg; a pálczák kettős-rostély alakjában 24 lyukkal vájt három szénllécz közé vannak illesztve, miként ezt a 453. ábra, mely a készüléket alulról nézve tünteti fel, mutatja. Ez az EE rostély a D fenyűfa-asztalkának (454. ábra), mely egy írópolcznak hajlott födelét képezi, a belső lapjára van erősítve. B-nél látjuk az áttevő gerjesztő tekercsét. C egy akasztó-horog, mely egyúttal a csengetyűk áramkörének kommutátoráúl

453. ábra. – Ader mikrofonos áttevője.

454. ábra. – Az Ader-féle áttevő külseje.


625

is szolgál; a csengetyűk ébresztő gombja M-nél van. A készülék a végből, hogy az átteendő hangokhoz nem tartozó rezgések vagy lökések visszatarttassanak vagy megsemmisíttessenek, ólomalapzaton nyugszik, a melyet megint kaucsuk-lábak tartanak. Később látni fogjuk, hogy az eme rendszerbeli áttevőket szinházi előadások hallgatására alkalmazzák. Az ily hallgató próbák 1881 őszén az elektromos kiállítás látogatóinak kíváncsiságát a legnagyobb mértékben felkeltették.

PAUL BERT és D'ARSONVAL mikrofonjában a szénpálczák nagylapú csoportban vannak. A következőkben DU MONCEL szerint közöljük e feltalálóktól kigondolt három rendszer leírását. E rendszereket a 455., 456. és 457. ábrák tüntetik elő.

"A 455. ábrabeli rendszer két átlyukasztott lapba függélyesen fűzött szénpálczák sorából áll; a lapok lyukai a pálczák mozgás-irányának vezetői. A pálczák alsó részei a csőben levő higany-fürdőbe merülnek, s a higany, mely mindnyájukat egyenlőképen hajtja fel, igen érzékeny rugót képvisel. Ugyane pálczák felső része gyengén rászorúl egy platinázott vagy nikkelezett fémlemezre, mely a beszéd rezgéseit veszi át. Az áram a

455. ábra. – Bert és d'Arsonval mikrofonja.


626

lemezen át lép be, a szeneken ágakra oszolva száll le s a higany-fürdőn át lép ki."

"A szeneknek a lemezekre gyakorolt nyomása könnyen szabályozható: csak a higany szintjét kell a csőben változtatni; sőt mi több, a nyomás mindegyik szénre nézve ugyanakkora, a mi e készülékek helyes szerkezetének egyik lényeges feltételét valósítja meg. Ez a készülék igen jó eredményekre vezetett, de mivel a higany alkalmazása nem valami praktikus, PAUL BERT és D'ARSONVAL-nak azon kellett lenniök, hogy egyszerűbb szerkezetet keressenek, és sikerült is a 456. és 457. ábrákban előtüntetett kombinácziókat, melyek a nehézség hatásain alapulnak, feltalálniok. Mindazonáltal eme minták nem ugyanazokra a viszonyokra vonatkoznak. Az egyik, a 456. ábra mintája, a beszélő szavait, melyeket a szomszédja már nem hall, könnyen viszi át nagy távolságra. Ellenben a másik készülék, a helyett, hogy a külső zajt mellőzné, a szavakat s az éneket a kiindulópontjuktól meglehetős távolságban is felfogja."

"A két rendszer elseje egy platinázott vagy nikkelezett rezgő lemezből áll, a melynek felületére nikkelezett csövekbe fűzött szénpálczák sora merőlegesen támaszkodik; ezek a csövek két átlyukasztott gyűrűben szabadon csúszhatnak s hosszúságaikat a széncsúcsok csak néhány milliméterrel haladják meg, tehát jó vezetők. A csöveket tartó két gyűrűn keresztül nyúlik egy középső cső, mely kívülről hangtölcsérben végződik s a melynek másik C vége a hártya közepe előtt torkollik."


627

"A tölcsértől összegyűjtött rezgések a cső közletésével átvivődnek a lemezre, mely ebonit-dobozba van erősítve s a melybe az áram a szorító-gyűrűn át lép be. Az áram ezután a szeneket futja át, innét a gyűrűkbe s azután a készülék lábába fut. Az egészen fémből álló láb el van látva egy csuklóval, melylyel a készüléket többé-kevésbbé hajolt helyzetbe lehet hozni, s ily módon a szeneknek a lemezekre gyakorolt nyomását igen egyszerűen változtathatjuk. Ezt az áttevőt 15–30 ampère erősségű áramok bátran átfuthatják, s a beszéd 1/31/2 ampère-nyi változásokat idéz elő, a melyek elegendők arra, hogy több MORSE-telegráfot

működésbe hozzanak. Ezekben a vezetőkben a beszéd nagy erősséggel tevődik át."

"Természetes, hogy ennél a rendszernél is egy gerjesztő-tekercset használnak, átvevő készülékül pedig egy közönséges telefont."

456. ábra. – Bert és d'Arsonval mikrofonja (a második rendszer).

457. ábra. – Bert és d'Arsonval mikrofonja (harmadik rendszer).

"A második rendszer, melyet a 457. ábra tüntet elő, egészen ugyanarra az elvre van alapítva. Áll pedig egy velezengő-szekrényből, mely hasonló a húros hangszerek velezengő szekrényéhez, vagy pedig egy egyszerű ebonit- vagy fenyűfa-asztalkából, mely az érintkeztetők egész sorával van ellátva. Ezek az érintkeztetők nikkelezett kicsiny szénhengerekből állanak, mely hengerek a szekrény egyik oldalára merőlegesen függő közös fémtengelyre vannak fűzve. Mozgásuk egymástól független, s mindegyikük


628

egy keresztben álló elektromos lámpabeli-szénpálczára támaszkodik, mely pálcza gyűjtőül szolgál s átveszi a velezengő-szekrény vagy pedig az asztalka rezgéseit. A szeneknek a gyűjtőre gyakorolt nyomása a szekrény hajlásához képest gyengébb vagy erősebb; a szekrényt vagy egy csuklós lábra lehet erősíteni, vagy pedig a teremben két drótra lehet felfüggeszteni. Ekkor a drótok hozzák-viszik az áramot. Az áram a felső tengelyen lép be, a szenek között megoszlik, s a gyűjtőn át lép ki. Az érintkeztetők száma akkora lehet, a mekkorának akarjuk, épen úgy, mint a szekrény méretei."

"D'ARSONVAL szerint ez a készülék a hangokat s a legcsekélyebb neszt bámulatra méltó könnyűséggel gyűjti össze, s hogy úgy mondjuk, egy igen érzékeny nagy fület képvisel. A készülék igen halk beszélgetést 10 méternél nagyobb távolságból is fel fog, a nélkül, hogy a hang színezete csak a legkevésbbé is megváltoznék". (Le Téléphone).

A párisi BOUDET-nek mikrofonos áttevője (458. ábra) hat retorta széngömbnek egyesítéséből áll; e gömbök egy üvegcsőben vannak, a melynek átmérője valamicskével nagyobb mint a széngömböké. E gömbök tehát


629

a cső hossza mentén csúszhatnak a nélkül, hogy oldalvást észrevehetőleg elmozdulhatnának; az egész tehát hat lánczolatos kapcsolatú érintkeztető. Az M1 rézhenger egyrészt az E telefonos hangtölcsérbe illesztett ebonitlemeznek, másrészt az első széngömbnek fekszik neki. A V csavarral, mely a K vájt rézdarabnak neki feszül, az M2 belül üres kicsiny réztömeget a cső utolsó gömbjéhez többé-kevésbbé erősen hozzá lehet szorítani s ily módon a készülék beigazítására szolgál az A telep s a telefon-áramkör drótjai a B és B' csavarokba kapcsolódnak; e csavarok az M1 és M2 tömegekkel fémies összeköttetésben vannak. A cső egy térdes lábra van szerelve, minélfogva, miként a távcsövet, minden lehető hajlással lehet állítani. A rezgések előidézte ellenállás-változások, miként a rugalmas golyókkal tenni szokott kisérletnél, valamennyi gömbbel egy pillanat alatt közlődnek. A feltaláló igen jó eredményeket nyert az által, hogy a gömböket higanynyal fémezte, miként ezt HUGHES a mikrofonja szeneivel tette.

458. ábra. – A párisi Boudet mikrofonja.

Idézhetnénk még különböző mikrofonos szénáttevőket, mint például a MAICHE, GOWER-BELL, HERZ, LOCHT-LABY stb. áttevőit. De mivel mindezeknek az elve ugyanaz, a leírtuk készülékektől csakis a többszörös érint-


630

keztetők megváltoztatott berendezésében különböznek, mely érintkeztetők majd nagylapú, majd lánczolatos kapcsolatban vannak. Mindazonáltal a legutóbbi, a LOCHT-LABY-féle készülékben csakis egy egyszerű szénlapdacs van, mely gyenge rugókkal egy állványra erősített parafalapra van ragasztva; ezt a lapdacsot egy fém-gát szorítja.

Különben mindezek az áttevő-rendszerek közönséges telefon-átvevőkkel működnek. De hozzá kell tennünk, hogy, habár a dolog a gyakorlatban így áll, mégis konstatálták, hogy a hangokat egyszerű mikrofon-készülékekkel is át lehet venni; ez a rendkívüli tény hathatósan támogatja azt az elméletet, a mely szerint a telefon s a mikrofon tüneményeinél az alkalmazott anyagok molekuláris mozgásának túlsúlya van. Ez arra késztet bennünket, hogy még egyszer felemlítsük, hogy a beszédnek rezgő lapok nélküli telefonok közletésével való átvitele is sikerült, a mint eleintén a zenei hangokat vitték át. *

* A leírt telefon- és mikrofon-rendszerekétől eltérő elveken alapuló rend~ szerek is vannak, a melyek egyike, a kondenzátoros átvevő, a BELL-féle telefonokkal is versenyez. Ezt az eszközt, elméleti szempontból érdekes több más rendszerrel együtt, kimerítően írja le BARTONIEK GÉZA, Az elektromos halló és beszélő készülékekről czímű czikkében (Természettudományi közlöny, 1883, 4091.) Ford.


631

2. A telefon s a mikrofon különböző alkalmazásai.

Alig egy évtizede, hogy GRAHAM BELL a nyilvánosságra hozta azt a csodálatraméltó műszert, melylyel a beszéd hangjait az elektromosság közletésével távolságban reprodukálni lehet. Az első találmányból eredő száz más találmány, többé-kevésbé változtatott s a feltalálók kitűzte feltételeknek többé-kevésbé megfelelő kombinácziók segítségével, ugyanezt a feladatot oldotta meg, de elmondhatjuk, hogy a nélkül oldotta meg, hogy tökéletességre nézve az első telefont felülmúlná. Nem marad egyéb hátra, mint hogy a telefon-készülékek különböző alkalmazásairól is szóljunk egy szót.

459. ábra. – A telefonok felfüggesztés-módja; Pollard és Garnier rendszere.

Az ember azt várhatta volna, hogy a telefon arra lesz hivatva, hogy az elektromos telegráfot kiszorítsa. A közlekedés eme módjának valóban nagy előnye van a régi fölött: hogy vele éljünk, nincs szükség előzetes oktatásra, holott még a legegyszerűbb telegráf-készülékek is csak olyan tisztviselők kezei között működnek, kik rendszeres, néha elég hosszas és nehéz előzetes tanúlmányokat tettek. De evvel a bizonyára nem megvetni való előnynyel szemben a telefonos közlekedésnek szembetünő hiányai vannak: valamennyi közül az első, melyben a mutatólapos telegráfokkal osztozik, az, hogy az átvitt izenetnek semmi nyomát sem hagyja hátra. Egy másik hiány a közlekedésnek viszonylagos lassúsága. A megelőző fejezetekben láttuk, hogy mennyi s máskülönben szerencsés igyekezettel voltak azon, hogy az elhalmozott vonalakra nézve szükséges gyorsított áttevést javított eszközökkel, automatikus és duplex rendszerekkel, többszörös nyomtató telegráfokkal, stb. elérjék. Ebből a szempontból a telefon nem


632

vetélkedhetik a szóban forgó készülékekkel. Végre, a közlekedésnek ez a rendszere alá van vetve zavaroknak, melyekről röviden már megemlékeztünk s a melyek a vonalon való áramszétszóródásból, a szomszédos drótok befolyásából, a szomszédos áramok elágazódásától létrehozott jelek összekeverődéséből erednek.

460. ábra. – A telefonok felfüggesztés-módja; Bréguet éa Roosevelt rendszere: S csengetyű; F és F' felfüggesztő gamók; cab függő kommutátor, mely a csengetyűt, midőn a telefon a felfüggesztő gamóján van, a vonalba igtatja.

Úgy látszik tehát, hogy a telefonos közlekedés sohasem lesz veszélyes vetélytársa az elektromos telegrafiának. Mindazonáltal máris nagy gyakorlati fontosságra tett szert, persze hogy csak egészen különös körülmények között. A nagy administráczióknál, a hadseregnél, a tengerészetnél, a nagy gyárakban, a bányákban, a kereskedelmi kikötőkben stb. a telefon-berendezések a legjobb szolgálatokat tehetik, a minthogy teszik is. Mindenütt, hol sűrűn


633

kell az értesítéseket áttenni, ez a rendszer elsőséget érdemel a telegrafia fölött és pedig a fentebb jelzett azon egyszerű oknál fogva, hogy a szóban forgó értesítéseket bárki átteheti vagy átveheti. Az ipar s a kereskedelem fontos középpontjaiban, a városok tömegében a telefon jelenleg már szükségessé vált közlekedő eszköz. Társulatok alakúltak, hogy a magánosok közbenjárói legyenek; az Egyesült Államoknak s Angolországnak minden, valamennyire is nevezetes városában a telefon-hivatalok felhasználóinak száma szemlátomást növekszik s ez a lendület a közel jövőben bizonyára még nyomatékosabb lészen.

461. ábra. – A hivatal közlekedése egy előfizetővel.

Nem terjeszkedhetünk ki mindazokra a részletekre, melyek szükségesek volnának, hogy megértessük, hogy miképen működik az efféle berendezés. Mindazonáltal meg fogjuk kisérteni, hogy róla általános fogalmat nyújtsunk.

Valamely telefon-hivatalnak az a szerepe, hogy ugyanannak a városnak valamennyi előfizetőjét összeköttetésbe hozza. Mindegyik előfizetőnek külön vonala van, mely a középponti hivatalba vezet; midőn a többi előfizető valamelyikével beszélni akar, útnak indít egy jelet, mely a középponti hivatal csengetyűjét szólaltatja meg. Egy elektromágnes, mely az előfizető sorszámának felel meg, működésbe jön, az ébresztő-csengetyű helybeli áramköre záródik s ugyanekkor egy kicsiny lap koppanással lebukva, a szólító előfizető sorszámát tárja fel. Az alatt az ablakocska alatt, mely el


634

462. ábra. – A középponti telefon-hivatal-terme Párisban.

463. ábra. – A drótok megérkező helyisége a középponti hivatalban.


635

van látva az előfizetők rendbe szedett sorszámaival s ezeknek jelző lapocskáival, el vannak rendezve a kommutátorok, melyekkel akár két tetszés szerinti előfizető között, akár pedig a hivatal s egy előfizető között a kapcsolatot helyre lehet állítani. A megértett felhívás után egy tisztviselő a telefonja drótját egy rézrúdra akasztja, mely rúd megfelel az illető külön vonalnak s a beszélgetés megkezdődik. Az előfizető megnevezi ugyanannak a hivatalnak (vagy ugyanabban a városban lévő másik hivatalnak) azt az előfizetőjét, kivel összeköttetésbe kíván lépni. Az első esetben a tisztviselő megnyom egy gombot, mely megindítja a kívánt szám csengetyűjét, ezután a két számot egy dróttal összeköti, s ebben a pillanatban a két előfizető közötti közlekedés helyre van állítva. Midőn az összeköttetésbe hozandó előfizetők nem tartoznak ugyanahhoz a hivatalhoz, a kapcsolat az egyik hivataltól a másik hivatalhoz intézett közlemény alapján jön létre; most egygyel több közbenjáró van, de azért a közlekedés szintén igen könnyű.

A telefon-hivatalok rendszerének (Párisban tíz hivatal van, egy központi hivatallal) berendezése sok elektro-mechanikai körülményes problemák megoldása után vált lehetségessé; ezek a szerfelett szellemes megoldások megérdemelnék, hogy leírjuk; de helylyel nem rendelkezünk s kénytelenek vagyunk, hogy az olvasót különleges munkákra utaljuk.*


3. Színházi előadások meghallgatása.

A telefonia, első föllépése idejében lelkesedésnek, sőt mondhatjuk, rajongásnak volt a tárgya, a mi mindannyiszor, midőn egy fontos s némileg váratlan felfedezés felkerűl, természetszerűleg nyilvánúl. Hirtelenében ezerféle, érdekesnél-érdekesebb alkalmazásnak homályos körvonalai tüntek fel. Néhányat azok közül, melyek jelenleg, legalább is a nagy városokban, mintegy bevett szokássá váltak, már felemlítettünk. Még csak néhány szót kell szólanunk azokról a kisérletekről, melyek egy másik irányban tétettek, hogy az első pillanatban föléledt remények egyikét megvadósítsák. Az ember avval kecsegtette magát, hogy e csodálatraméltó készülékek segítségével nemsokára mindenki a lakásán fog élvezhetni hangversenyeket, színházi előadásokat, hogy részt fog vehetni gyülekezetekben,

* L. különösen DU MONCEL, Le Téléphone czímű kitünő monografiáját, mely munka a Bibliothèque des merveilles egyik része. (L. szintén TH. SCHWARTZE művét: Telephon, Mikrophon und Radiophon, mely a HARTLEBEN-féle Elektrotechnische Bibliothek VI-ik kötete. Ford.)


636

tanácskozmányokban, hogy meg fog hallgatni beszédeket, a nélkül, hogy kandallója mellől távoznia kellene. Tétettek is próbák és kísérletek, melyekből csakugyan kitűnt, hogy a telefoniának ilyetén alkalmazásai nem tartoznak a teljes lehetetlenségek közé. De hogy ez alkalmazásokat igazán praktikusoknak tekinthetnők, ettől talán még nagyon messzire vagyunk.

Nem hallgathatjuk el eme kísérletek közül a legnevezetesebbet s a legdöntőbbet: szólani fogunk azokról a telefonos előadásokról, melyeket 1881 őszén a Palais de l'Industrie-ben, az elektromos kiállítás négy termében rendeztek. Számos és türelmetlen közönség a "füleivel" minden este jelen lehetett az opera-színház előadásain, meghallhatta az énekesek hangját, a zenekari kíséretet, sőt még a néző közönség moraját és tapsát is.

Ezen előadásokhoz ADER mikrofonos rendszerének telefonjai fogadtattak el, tnely rendszernek átvevőit s ezután az áttevőit már leírtuk. Az operaház s a halló-termek közötti távolság 2 kilométer lévén, egy áttevő elegendő volt arra, hogy egy alkalmas teleppel 4 dupla-telefont vagyis 8 átvevőt teljes működésbe hozzon.

A súgólyuk mindkét oldalán, a korlát mentén, az operaház színpadával szemben tizenkét áttevő volt elhelyezve, mely áttevők mindegyikének megvolt a maga telepe és gerjesztő tekercse. (464. ábra). Az áttevőket a halló termek átvevőivel földalatti drótok kapcsolták össze; ezekhez az általános megjegyzésekhez mit sem kellene hozzátennünk, ha nem mutatkoznék szükségesnek, hogy kiterjeszkedjünk egynémely részletére azon óvó intézkedéseknek, melyek hivatva valának, hogy eme kivételes körülmények között a hallást a lehető legtökéletesebbé tegyék.

464. ábra. – Telefonos előadások. Az Ader-féle áttevők elhelyezése az operaház szinpadán.


637

Mindenek előtt újra felemlítjük, hogy ADER mikrofonos áttevői kaucsuk-lábakon nyugvó ólom-talapzatra vannak erősítve. E berendezés czélja az, hogy a színpad padlójának a színészek mozdulataitól eredő lökéseitől, nevezetesen pedig a balletek alkalmával keletkező, sokkal erősebb rázkódtatásoktól előidézett recsegések mellőztessenek. A különben is kevéssé rugalmas ólomtömegek tehetetlensége hathatósan ellenáll eme háborgatásoknak.

465. ábra. A áttevők s az átvevők berendezése s közlekedése az operaházi előadások meghallgatásánál.

A hallás módján ADER-től tett érdekes újítás abban áll, hogy mindegyik hallgató a színpad két oldalával van összeköttetésbe hozva. Míg az


638

egyik telefon, például a jobb fülhöz tartott telefon, a színpadnak az egyik oldalán levő egyik áttevővel van összekötve, addig a másik, a balfülhöz tartott telefon a színpadnak a másik oldalán levő áttevők egyikével van kapcsolatban. E berendezés okát könnyű belátni. Igaz ugyan, hogy ugyanazok a hangok, például az énekes hangjának rezgései, egyszerre hatnak valamennyi áttevőre; mindazonáltal az énekes, a színpadon elfoglalt helyzetéhez képest, nincsen az áttevők mindegyikétől ugyanabban a távolságban, minélfogva az áttevő annál nagyobb erővel fogja az éneket visszaadni, mentül kisebb lészen a hangforrástól való távolsága. A hangérzet, mely teszem a jobb füllel közlődik, erősebb lesz a bal füllel közöltnél. Tegyük fel, hogy a színész odébb megy; ez a viszony is megváltozik s most a bal fül lesz erősebb hatásnak kitéve. Ezen a módosúlásoknak az lesz az eredménye, hogy a hallgatónak fogalma lesz az énekeseknek a színpadon való illető helyzetéről s a mozgásaikról, s hogy ilyeténképen bizonyos illúzió keletkezik, mely illúzió hasonló ahhoz, melyben az a hallgató ringathatná magát, ki az előadáson tényleg jelen volna, de a szemeit behunyná.


639

Ezen előadásoknak nagy volt ugyan a sikerök, de a berendezés nagyon költséges volt, * s kételkedünk benne, hogy a kiváncsiságon kívül valaha még más érdeket is fölébresztenének. Bármekkora legyen is az elérendő tökéletesség a hangszerek és az énekesek hangjainak hű átvitele szempontjából, a telefonos hallások még sem fogják sohasem pótolni a színészek játékának, taglejtéseinek s arczkifejezéseinek szemmel való kisérése hiányát s elvégre is sohasem lesz meg az a sajátszerű kellemük, mely valamely zenei vagy drámai előadást képező valamennyi hatás együttességéből ered. Talán csak a hangszeres hangversenyek "vak" és magányos meghallgatása lenne kevésbé unalmas. De a telefonok eme különös alkalmazásának jövőjére vonatkozólag tett kifogásaink semmi tekintetben sem csökkentlietik tökéletességükön való bámulatunkat, a melylyel a hangok átvitele problemáját egy olyan zenekarról s egy olyan színpadról, mint a milyen a nagy opera zenekara s színpada, megoldották.

Szóljunk még néhány szót a mikrofonos eszközöknek a zeneművek reprodukálására való alkalmazásáról. Szólani fogunk pedig egy kombináczióról, melyet ADER az elektromos kiállításon valósított meg s a melynek segítségével a látogatók a Palais de l'Industrie mindegyik pontjában meghallgathattak vadászkar-négyeseket, melyeket négy énekes egy különös alakú áttevő előtt adott elő. A készülékek együttességét ADER trombitájának nevezték.

466. ábra. – Ader trombitája.

Miként a 467. ábra mutatja, az áttevő egy telefonos hangtölcsérből áll, a mely fel van szerelve egy erős lemezzel, a melynek közepére egy platinakorong van erősítve. Egy platinacsúcscsal tetszés szerint szabályozhatjuk a rezgő lemezzel való érintkezést.

A négy átvevő, melyek, miként a 466. ábrából kitűnik, körívben vannak sorjába rakva, mindegyike egy trombitából áll, melynek szája egy szekrényből indúl ki. E szekrény belsejében, a trombita tölcsérének nyilásával szemben, az LL igen vékony fenyőfa-lemez van. A lemez mogött az AA patkó-mágnes el van látva két lágyvas-lemezkével, melyek

467. ábra. – Ader trombitájának áttevője.

* E berendezés költségei állitólag 160,000 frankra rúgtak.


640

468. ábra. Ader trombitájának átvevője.

a mágnes sarkai között, és pedig az egyik a másik meghosszabbítása mentén, vannak elhelyezve. Ezeket a lemezkéket bizonyos hosszúságra a telefonos áramkör tekercsei övezik körül; ugyanezek a lemezkék egy rézdarabbal vannak összekötve s a tekercsek közötti köztérben, a tekercsek fegyverzetének toldalékával majdnem érintkezve, egy kicsiny a lágyvas-fegyverzet van, melyet a t fa-göcs tart; maga a göcs a fenyőfa-lemez középpontjára van erősítve.

Midőn az áttevő működik, a hullámzó áramok a mágnesben a mágnesi intenzitás változásait hozzák létre s ennek következtében a fegyverzetben rezgéseket, a sarktoldalékokkal valóságos ütődéseket hoznak létre. Eme behatás miatt a lemez hangrezgései igen erősekké válnak s a trombiták hangtölcsérein át szétáradva, a vadászkürt hangjainak harsogásával vetélkednek.*

* A mikrofonos készülékek érdekes alkalmazásai közül felemlítendők még EDISON mikro-tasimétere, HUGHES audiométere és gerjesztős mérlege, MC EVOY tenger alatti fémtárgy-keresője, mely készülékek SCHWARTZE idézett művében is le vannak írva. A telefonnak a sebészetre való alkalmazására nézve l. BARTONIEK idézett czikkét. Ford.


641

4. A radiofonia. Graham Bell fotofonja.

GRAHAM BELL szép találmányáért, a telefonért, alig nyerte vala el a franczia Institut-től a nagy Volta-díjat, Francziaországnak legnagyobb tudományos jutalmát, s a tudományt máris egy új, az előbbeninél, hogy úgy mondjuk, még meglepőbb felfedezéssel gazdagította.

Nem kevesebbről van itt szó, mint a zenei vagy beszédi hangoknak fénysugárral való átviteléről: ez oknál fogva kapta BELL-töl az ezen átvitel megvalósítására kigondolt eszköz a fotofon nevet. A telefon áttevője s átvevője között, bármiféle legyen is a rendszer, egy közlető, egy anyagias vezető van, mely a hanghullámok rezgéseit változó vagyis hullámzó elektromos áramok alakjában szállítja tova; a fotofon áttevője s átvevője között ez a fémdrót eltűnik s fénysugárral helyettesíttetik, úgy, hogy a hang üres (azaz súlyos anyagot nem tartalmazó) téren tevődik át, mivelhogy a fénysugarak maguk az üres térben is terjedhetnek. Egyébiránt ama nehány év óta, hogy a fotofon felkerűlt, az elv, a melyen alapszik, kibővült ; jelenleg be van t. i. bizonyítva, amiként ezt különben már kezdetben a feltaláló is gondolta, hogy a hősugaraknak és a fotografiai vagyis chemiai sugaraknak ugyanaz a hatásuk van, mint a fénysugaraknak; ez oknál fogva azon tünemények összességét, melyekben ez a hatás nyilvánul, közmegegyezéssel radiofoniának nevezték el.*

A fotofon feltalálására BELL-t egy egyszerű testnek, a szelémiek, ennek a BERZELIUS-tól hetven évvel ezelőtt feltalált metalloidnak, sajátszerű tulajdonságai vezették. Ez a test az elektromosságot vezeti, és pedig mind megömlesztett állapotában (210°-nál olvad), miként ezt KNOX 1837-ben kimutatta, mind pedig közönséges mérsékletnél, a mikor is különös allotróp állapotával tűnik ki, mely állapotát 1852-ben HITTORF írta le. A szelén, melynek színe sötétbarna, szétszórt fényben majdnem fekete, üvegnemű állapotában pedig igen fényes; vékony pikkelyek alakjában vörös és átlátszó. Ha a megolvasztás után lassan ki hagyjuk hűlni, szemcsés-kristályos szerkezete és fémes külseje lesz. Ez az a változata a szelénnek, mely az elektromosságot a léghőmérsékletnél vezeti. De vezetőképessége igen

* A tulajdonképeni radiofonia abban áll, hogy a fénysugaraknak a különböző anyagokra való hatása – az elektromosság közbejötte nélkül is – hangokban nyilatkozik. A radiofoniára nézve, rnelylyel, mint az elektromossághoz szorosan nem tartozó tágygyal, szerzőnk csak mellékesen foglalkozik, l. még BARTONIEK GÉZA közleményét a Természettudományi Közlönyben, XVI. K. 331. l. Ford.


642

változékony, miként ezt MAY és WILLOUGHBY SMITT, midőn a szelénnek a tengeralatti kábelekre való alkalmazására nézve kísérleteket tettek, felismerték. E tudósok megmutatták, hogy ez a változékonyság a fény hatásától függ s eme tulajdonságnak felfedezése sok tudós vizsgálatainak lőn kiindúló pontjává. Addig a tudósok a szelén vezető képességét a galvanométerrel tanúlmányozták. Ekkor eszébe jutott BELL-nek, hogy ezen eszköz helyett a telefont használja, a melynek érzékenysége sokkal nagyobb. "A kérdést tanúlmányozva, mondja BELL, láttam, hogy másként kell eljárnom, mint a hogy eleintén eljártak, és pedig azért, mert a telefonnal való hallás okai hasonlók lévén azokhoz, a melyek az elektromos gerjesztést létrehozzák, csak annyiban lehet hatást elérni, a mennyiben az alkalmazott elektromos áram erősebb állapotból gyengébbe megy át, és megfordítva; második sorban pedig azért, mert az összes hatás arányos az áram intenzitás-különbségeinek összegével. Előttem tehát nyilvánvaló volt, hogy a telefon a szelénben létesített hatást csak abban a pillanatban foghatja fel, a melyben a szelén a világosságból a sötétségbe jut és megfordítva, továbbá hogy észrevevésre alkalmasabb hatásokat csak úgy lehet kapni, ha ezek a fényerősség-változások elég szaporák arra nézve, hogy hangrezgések létrejöttét lehetővé tegyék, szóval a fényhatásoknak időszakosaknak kell lenniök. Valóban, már régóta észrevettem, hogy elszigetelt hangok a telefonban észrevehetetlenek maradtak, holott midőn az áttevő áram megszakításaitól megsokszoroztattak és egymáshoz közelíttettek, észrevehetőkké váltak."

"Ekkor az a gondolat villant fel bennem, hogy a fény behatásaival hangokat idézzek elő, s a kérdést alaposabban tanúlmányozván, azt gondolám, hogy az elektromos behatás létesítette összes halló-hatásokat a szelénre vetített fénysugár intenzitás-változásaival is el lehetne érni s hogy eme hatások határa csak ott volna, a hol a fénynek ezen anyagra való hatása is megszűnik; de mivel ezt a határt az érzékeny lapra parabolás tükörrel vetített párhuzamos sugarakkal elég messzire lehet terjeszteni, azt gondolám, hogy ily módon lehetséges volna valamely ponttól egy másik pontig, minden vezető drót nélkül az áttevő s az átvevő között, telefonos közlekedést létesíteni. Nyilván való, hogy eszmémnek gyakorlatiassá tételére szükséges volt, hogy olyan készüléket szerkesszek, mely alkalmas arra, hogy a fényt a beszédnek behatása alatt hatásossá tegye s ily módon találtam rá arra a rendszerre, melyről jelenleg beszélek."

Az imént idézett hely mutatja, hogy milyen eszme-lánczolat vezette BELL-t a fotofon feltalálására. Lássuk most, miképen valósítá meg eszméjét. Kisérletei nagyszámúak valának s a készülékeket sokféleképen változtatta. Mi csak arra fogunk szorítkozni, hogy a fotofonnak azt a két


643

alakját írjuk le, a melyeket a zenélő fotofon és a beszélő fotofon elnevezésekkel lehet jellemezni.

A 469. ábrában M egy síktükör, melynek felületére párhuzamos fénysugárnyalábot, mint a milyenek a napsugarak, vetünk. A nyalábot, miután visszavetődött, az L'' lencse fogja fel s gyujtó-pontjába, D-be gyűjti össze. A fénysugarak, miután ebben a pontban egymást keresztezték, egy ugyanakkorra gyujtótávolságú második lencsére esnek s újra párhuzamosakká lesznek. Egy harmadik lencse, L, a sugarakat a P telep telefonos áramkörébe igtatott S szelénlapra veti.

469. ábra. – Bell zenélő fotofonja.

Hogy a szelén elektromos ellenállását megváltoztassuk, D pontba egy korongot teszünk, mely korong kerületén, miként a fenakisztikóp korongjain, bizonyos számú lyuk van vágva. A korong a lencsék tengelyére merőlegesen s úgy van állítva, hogy gyujtópontjuk a lyukak egyikével összeessék. Ha már most a korongot a tengelye körül többé-kevésbbé gyorsan forgatjuk, a fénynyaláb, valahányszor egy lyukra akad, tova fog terjedni, de midőn a korongnak két-két lyuka közötti teli közökre talál, melyek az útjába esnek, vissza lesz tartóztatva. Nyilvánvaló, hogy mentül nagyobb a lyukak száma s mentül nagyobb a koronggal közölt forgó mozgás sebessége, annál nagyobb lesz a fénynyaláb meg-megszakításainak száma is. Tegyük fel, hogy a lyukak száma 40 s a sebesség 25 fordulat másodperczenként: a fénynyaláb meg-megszakításainak száma ugyanebben az időközben 1000 lészen. A miből az következik, hogy a szelénlap vezetőképességében, s következőképen a telefonos áramkörben keringő áram erősségében is ugyanennyi változás jön létre, s már most a készülék rezgő lemeze is ugyanennyi rezgést fog tenni. Valóban az A hallgató zenei hangot fog hallani, mely hang magassága arányos lesz a korong forgás-sebességével.

Az imént leírt fotofon, az igazat megvallva, nem hangrezgéseket visz ama rezgéseket tulajdonképen a fény idézi elő, a fény teremti meg a megszakgatásaival s ezeknek a szelén vezetőképességére gyakorolt hatásával. Azonban BELL megmutatta, hogy miként lehet a zenélő telefont, ebben az alakjában, jel-áttevőként használni. E végből a forgó korong


644

470. ábra. – A zenélő fotofonnak a rekesztőjével ellátott korongja.

oldalán az MLl szög-emeltyűt helyezte el (470. ábra); a rövidebb kar a VV gátak között mozgatható lévén, a másik kart a korong ama lyuka elé lehet hozni, a melyen a fénynyaláb keresztül hatolt. Ez a nyaláb tehát fel lévén fogva, az átvevő hangja is megszakad. A szerint a mint az elrekesztés többé-kevésbbé hosszú ideig tart, a mi a kulcs kezelésétől függ, csendes közöktől elválasztott rövid vagy nyújtottabb hangok keletkeztek s így lehetséges volt a MORSE-féle betűrend valamennyi jelének áttevése s egy fénysugár segítségével való telegráfos közlekedés.

BELL a helyett, hogy a megszakgatott fénysugarakat szelénre vetítette volna, hatásukat vékony lemezek alakjában előállított igen sok más anyagon is kipróbálta; ez anyagok a következők valának: arany, ezüst, platina, vas, aczél, sárgaréz, réz, czink, ólom, antimon, új-ezüst, JENKIN-féle fém, BABITT-féle fém, elefántcsont, növényrost, gutta-percsa, ebonit, kaucsuk, papiros, pergament, fa, csillám és ezüstözött üveg. A 471. ábra a kisérlet berendezését mutatja. A hallgató a füléhez egy hallócsövet tartott, mely cső ahhoz a szekrényhez volt illesztve, melynek rezgője a megvizsgálandó vékony lemez volt.

471. ábra. Bell kisérletei. Zenélő fotofonok.


645

Nem fogunk hosszasabban foglalkozni ez utóbbi fotofonos kísérletekkel, melyek tudományos szempontból igen érdekesek ugyan, de mivel az elektromossághoz már nincsen közük, tárgyunk körén kívül esnek.

472. ábra. – G. Bell fotofonos kisérletei.

Eljutottunk a beszélő fotofonhoz.

473. ábra. – Beszélő fotofon. Az áttevő első berendezése.

Ennél a készüléknél az áttevő szükségképen módosítva van, mert a szavak rezgéseit, nem pedig egyszerű megszakgatott fénysugarakat kell áttenni. A 473. ábrában a feltalálótól először alkalmazott rendszert látjuk. Ez egy egyszerű telefonos tok, mely az E hangtölcsérrel s az ll rezgő lemezzel van felszerelve. Eme lemezhez a PP mozgékony lap, melybe rések vannak vágva, van erősítve. Egy ehhez hasonló második lap úgy van mögéje téve, hogy a rések, midőn a készülék nem működik, pontosan összevágjanak. Ekkor tehát a fénynyaláb mind a két lapon merőlegesen hatolhat át. De midőn a beszéd rezgései a lemezre hatnak, emennek mozgásai a reá erősített mozgó lap mozgásait hozzák létre. Ebből következik, hogy a fénynyaláb időszakonként ki lesz oltva s kisebb-nagyobb módosulásokat szenved, a melyek ismét az átvevő szelénjére, a telefonos áramkör áramára hatnak. Ez az áramkör különben úgy van berendezve, miként azt fentebb láttuk.


646

Mindazonáltal ezt az első berendezést abbahagyták; sokkal jobbnak bizonyult a következő berendezés.

474. ábra. – A beszélő fotofon áttevője.

Az áttevő alakja ugyanaz mint a megelőzőé; de a lemez (474. ábra) egy megezüstözött vékony üveg vagy csillámlap, mely tehát egy tükröt képvisel, a melyre egy hatalmas fényforrásnak, az elektromos fénynek, vagy még jobb a napfénynek sugarai esnek. A lemez visszaverte fénynyaláb, miután egy lencsén, mely a sugarakat párhuzamosakká teszi, áthaladt, az átvevőre esik. A fotofonnak ez a második része (475. ábra) ezüstözött rézből készült M parabolás reflektorból áll, melynek átmérője körülbelül 70 centiméter s a melynek gyujtópontjában a telefonos áramkörrel közlekedő szelén van megerősítve. Az átvevő eme fontos részének mely a fotofonnál ugyanazt a szerepet játszsza, a melyet a szén a mikrofonos készülékeknél játszik, a következő szerkezete van. A sárgaréz-korongoknak egy egész sorában e korongok valamivel kisebb átmérőjű csillámkorongokkal vannak egymástól elkülönítve: az egész hasonlít egy hengerhez, melynek külső palástja párhuzamos körös rovátkákkal van barázdálva. Ezeket a térközöket tölti ki a szelén, melynek felülete kicsiny tömegéhez képest ily módon jelentékeny. A páros sorszámú sárgarézkorongok

475. ábra. – A fénysugarak útja a beszélő fotofonban.


647

az áramkör egyik, a páratlan sorszámúak pedig az áramkör másik drótjához vannak kapcsolva. Valahányszor a parabolás tükör visszaverte fény a szelén felületére esik, a szelén elektromos ellenállása kisebbedik, és pedig a fénysugarak erősségével arányosan kisebbedik. Könnyű már most elképzelni, hogy mi történik akkor, mIdőn az áttevő hangtölcsére előtt beszélünk. A fénynyaláb, mely a rezgőlap nyugvása idejében változatlanul tevődik át, most a beszéd rezgéseitől a visszaverő lap felületében előidézett alakváltozások miatt módosúl. Ebből következik, hogy eme fénynyaláb intenzitásában váltakozások lesznek, mely váltakozások a hanghullámoknak megfelelvén, a szelénnek, vagyis egy változó ellenállású anyagnak közletésével a telefonos áramkörben váltakozó áramokat fognak létrehozni.

476. ábra. – Kisérlet a Bell-féle fotofonnal. Áttevő.

A fotofon igen tisztán adja vissza mind a szótagolt beszédet, mind pedig a zenei dallamot s éneket. BELL a következőképen írja le egyikét az első kísérleteinek, melyeket az imént leírtuk készülékekkel hajtott végre.

TAINTER * a washingtoni Franklin-iskola épületének tetején elhelyezett áttevő kezelésével volt megbízva, én magam pedig az átvevő mel-

* SUMMER TAINTER nevét, ki BELL-nek mindazon kísérletekben, melyeknek végeredménye a fotofon feltalálása volt, buzgó munkatársa vala, a BELL nevével mindig együtt kellene említeni.


648

lett voltam, mely készülék a laboratoriumomban, az előbbeni állomástól 213 méternyi távolságban volt elhelyezve. A telefont a fülemhez tartva, tisztán megértettem, a vetítő készüléktől átvitt következő szavakat: Ha megérti azt, a mit mondok, jöjjön az ablakhoz s integessen a kalapjával. A laboratoriumban végrehajtott kisérletünknél az áttevő s az átvevő mindig oly távol voltak egymástól, hogy a fülre a közvetetlen hangok nem hatottak, s eleintén a telefont egy külön, nem pedig abban a szobában helyeztük el, a melyben a szelén-lemez s a vetítő készülék volt. Azonban kimutattuk, hogy a beszéd DRUMMOND-fénynyel, sőt még KEROSEM-féle lámpával is reprodukálható."

477. ábra. – Kisérlet a beszélő fotofonnal. Áttevő.

Miután BELL a kísérleteit beszélő fotofonnal 1880 október havában Párisban ismételte, csodálatra méltó készülékét a tudományos akadémiának mutatta be; tolmácsa A. BBÉGUET volt, kinél a kísérleteket is ismételte, a nélkül azonban, hogy az elektromos fényen kívül más forráshoz is folyamodott volna. A tudós hallgatók lelkesült érdeklődéssel fogadták a bemutatást, a mint hogy azt meg is érdemelte.

S most kérdezzük, minő jövő vár a fotofonra? Miféle gyakorlati fontossága lehet a közlekedés ez új módjának? Tarthat-e a telefon a fotofon versenyétől? Ez nem igen valószínű. A távolság, a melyen át az új készülék működött, igen kicsiny még akkor is, midőn az alkalmazott fény a nap fénye; ehhez járul még az az el nem engedhető feltétel, hogy az in-


649

duló s az érkező állomás, a melyek között a fénynyaláb az útját megteszi, egyenes vonalban ne legyenek semmi akadálylyal egymástól elválasztva. A fotofonnak a telefonnal szemben jó oldala főképen abban állhat, hogy nincs szükség a mindig igen költséges közbülső vezetőkre. Azonban ezt a nyereséget nagyon is kiegyealítené a távolság csekély volta, mely bajt csak annyiban sikerülne elhárítani, a mennyiben módját lelnék pontról-pontra jelfogó állomásokat felállítani. BRÉGUET, midőn felemlíti a tükrök arra való alkalmazásának lehetőségét, hogy a fénynyalábot mindegyik jelfogónál eltérítsék, helyesen jegyzi meg, hogy az egymásra következő visszaverődések a nyaláb tetemes részét abszorbeálnák s ily módon hatását csökkentenék. Egészen különös körülmények között, mint például hadműveleteknél, ostromoknál stb., a fotofon talán tehetne olyan szolgálatokat, a minőket jelenleg az optikai telegrafiától várnak.*

* Ha az új készülék gyakorlati alkalmazásainak hasznos volta még kétséges ia, nem így áll a dolog a radiofon elméleti vagyis tudományos nagy jelentőségével. Minthogy itt nem mélyedhetünk a megkivántató fejtegetésekbe, arra fogunk szorítkozni, hogy felsoroljuk a végeredményeit azoknak a figyelemre méltó vizsgálatoknak, melyeket a tudománynak ebben az új ágában MERCADIER, a 478. ábrában előtüntetett készülék segítségével tett. A végeredmények, melyeknek első része


650

a fénysugarak közvetetlen behatásától előidézett hangokra vonatkozik, ím a következők:

478. ábra. – Mercadier készüléke a radiofonia törvényeinek tanulmányozására.

"1. Úgy látszik, hogy a radiofonia nem az átvevő lemez tömegétől előidézett hatás, mely lemez egészében keresztrezgéseket végez, miként a közönséges rezgő lemez. Úgy látszik továbbá, hogy az átvevő molekuláinak természete és csoportulás-módja nincs túlnyomó befolyással a hangok létrehozására."

"A radiofonos tünemény főképen az átvevő felületére gyakorolt hatásból látszik eredni, s sokkal szembeötlőbb, a midőn a felület olyas anyagokkal, mint teszem azt korommal, platina-korommal stb. van bevonva."

"2. A radiofonos hangok bizonyára a sugaraknak az átvevőkre való közvetetlen hatásából erednek. A radiofonos hangokat főképen a nagy hullámhosszaságú sugarak, az úgynevezett hősugarak létesítik.

"3. A közeg, melyben a radiofonos rezgés keletkezik, bizonyára az a légréteg, mely az átvevő falaival érintkezik. Az átvevők falain megsűrített légréteg, különösen midőn e falak korommal vagy pedig jó hőnyelő más anyaggal vannak bevonva, a meg-megszakított sugaraktól váltakozva megmelegszik s lehűl, a honnét időszakos és szabályszerű kiterjedések és összehúzódások erednek; innét ismét rezgő mozgás keletkezik, mely mozgás közlődik a szomszédos gázrétegekkel, a melyek egyébiránt ugyanazon behatás alatt közvetetlenül is rezeghetnek.

"4. A radiofonos hangok csak akkor keletkezhetnek, midőn a behatásnak alávetett felületet légnemű közeg környékezi. Következésképen valamely folyós vagy épen szilárd test a hangokat nem hozhatja létre, holott valamely légnemű közeg, melyben gőzök, különösen pedig ammoniak- és étergőzök vannak, a hangokat figyelemre méltó módon előidézik, s valóban, azok a gőzök, melyeknek legnagyobb hőnyelő képességük van, a legjelentékenyebb hatásokat eredményezik."


651

Ami a hangokat illeti, melyek a megszakgatott fény behatásának alávetett némely anyagot, péld. a szelént jellemző elektromos vezetőképességbeli változások befolyása alatt keletkeznek, ezekre nézve MERCADIER kimutatja, hogy ezeket bizonyára a fény sajátos hatásának s nem valamelyes hőhatásának kell tulajdonítanunk. Hogy ezt kimutathassa, MERCADIER a 478. ábrabeli átvevő helyett a 479. ábrában előtüntetett átvevőt alkalmazta, mely készülék nem egyéb, mint egy új berendezésű szelén-átvevő.

479. ábra. – Mercadier szelén-átvevője.

Ezt a jegyzetet befejezve, nem hallgathatjuk el egy a radiofonia törvényeinek ugyanettől a tudőstól eredő alkalmazását. Többszörös és egyidejű áttevésre alkalmas telegráf-rendszerről van szó. A feltaláló ezt a rendszert autoreverzibilis, többszörös elektromos teleradiofonnak nevezte el. "Többszörös teleradiofonnak, úgymond, az elektromos telegrafiának azt a rendszerét nevezem, a melyben a jeleket radiofonos hatások hozzák létre. Ezenkívül ennél a rendszernél bármilyen vezetőn több egyidejű jelet lehet áttenni, és pedig tetszés szerint az egyik vagy a másik irányban, a honnét is az autoreverzibilis többszörös elnevezés ered. Az autoreverzibilis szó különben még azt is mondja, hogy az ellenkező irányú áttevés automatikus, tehát nem kíván mellékes készülékeket, mint teszem azt mesterséges vonalakat, differencziális jelfogókat, stb." A szerző azt állítja, hogy az ilyen rendszerrel tett kísérletei jó eredményeket adtak.